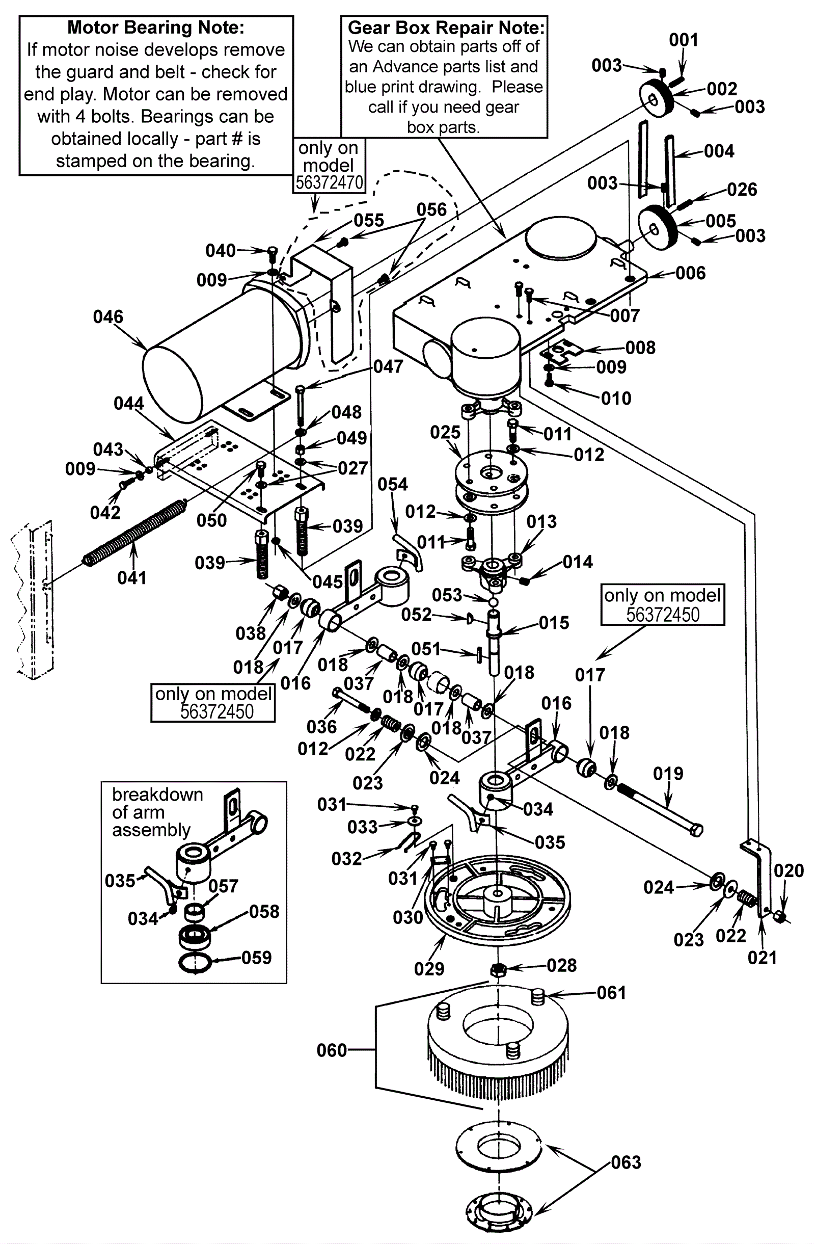
| # | Part | Description | Price | Req | Notes | Availability |
001 |
172-0348
|
Square keyway |
$11.69
|
1 |
|
usually ships 1-5 days |
002 |
172-0140
|
Poly-V sheave (OBSOLETE) |
$102.17
|
1 |
|
usually ships 1-5 days |
003 |
999-0121
|
Screw 5/16-18 x 1/2 cup point socket set alloy plain finish |
$0.99
|
4 |
|
ships same day |
004 |
172-0141
|
Poly V-belt (OBSOLETE) |
$55.10
|
1 |
|
usually ships 1-5 days |
005 |
172-0142
|
Poly V-belt sheave (OBSOLETE) |
$98.60
|
1 |
|
usually ships 1-5 days |
006 |
172-0143
|
Gear box assembly (OBSOLETE) |
$1,848.53
|
1 |
|
usually ships 1-5 days |
007 |
999-0275
|
Screw 1/4-20 x 3/4 hex washer hd unslotted thread rolling |
$0.99
|
6 |
|
ships same day |
008 |
172-0144
|
Plate (OBSOLETE) |
$18.77
|
1 |
|
usually ships 1-5 days |
009 |
999-0123
|
Washer 1/4 SAE flat zinc plated |
$0.99
|
8 |
|
ships same day |
010 |
999-0019
|
Bolt 1/4-20 x 5/8 hex head grade 5 zinc plated |
$0.99
|
2 |
|
ships same day |
011 |
999-0039
|
Bolt 3/8-16 x 1 1/4 hex head grade 5 zinc plated |
$0.99
|
12 |
|
ships same day |
012 |
999-0120
|
Washer 3/8 SAE flat |
$0.99
|
14 |
|
ships same day |
013 |
172-0145
|
Universal casting (OBSOLETE) |
$119.89
|
2 |
|
usually ships 1-5 days |
014 |
999-0313
|
Screw 3/8-16 x 3/8 cup point set alloy plain finish |
$0.99
|
2 |
|
ships same day |
015 |
172-0146
|
Brush holder shaft (OBSOLETE) |
$124.85
|
2 |
|
usually ships 1-5 days |
016a |
172-0147
|
Arm weldment (OBSOLETE) |
$150.80
|
2 |
|
usually ships 1-5 days |
016b |
172-0148
|
Arm assembly (ID is 1 inch on this arm) (OBSOLETE) |
$339.81
|
2 |
|
usually ships 1-5 days |
017 |
172-0246
|
Rubber bushing (OBSOLETE) |
$27.94
|
3 |
|
usually ships 1-5 days |
018 |
999-0187
|
Washer 1/2 flat plain finish |
$0.99
|
6 |
|
ships same day |
019 |
999-0351
|
Bolt 1/2-13 x 7 hex head grade 5 zinc plated |
$10.54
|
1 |
|
ships same day |
020 |
999-0188
|
Nut 3/8-16 nylon insert lock zinc plated |
$0.99
|
2 |
|
ships same day |
021 |
172-0149
|
Bracket (OBSOLETE) |
$29.70
|
2 |
|
usually ships 1-5 days |
022 |
172-0150
|
Spring |
$29.16
|
4 |
|
usually ships 1-5 days |
023 |
172-0151
|
Washer flat (OBSOLETE) |
$8.03
|
4 |
|
usually ships 1-5 days |
024 |
172-0152
|
Thrust bearing |
$13.77
|
4 |
|
usually ships 1-5 days |
025 |
172-0153
|
Flex disc |
$17.74
|
4 |
|
usually ships 13-18 days |
026a |
172-0442
|
Square keyway |
$11.69
|
1 |
model 372470 |
usually ships 1-5 days |
026b |
172-0348
|
Square keyway |
$11.69
|
1 |
model 372450 before SN 0565361 |
usually ships 1-5 days |
026c |
172-0437
|
Square keyway |
$11.35
|
1 |
model 372450 after SN 0565360 |
usually ships 13-18 days |
027 |
999-0549
|
Washer 5/16 x 3/4 SAE flat stainless steel |
$0.99
|
2 |
|
ships same day |
028 |
999-0381
|
Nut 5/8-18 flex lock cadmium plated |
$4.05
|
2 |
|
ships same day |
029 |
172-0154
|
Brush holder (OBSOLETE) |
$407.34
|
2 |
|
usually ships 1-5 days |
030 |
172-0155
|
Stop plate |
$12.89
|
2 |
|
usually ships 13-18 days |
031 |
999-0793
|
Screw 10-24 x 3/8 hex washer slot thread cutting zinc |
$0.99
|
6 |
|
ships same day |
032 |
175-2612
|
Spring clip |
$5.28
|
2 |
|
usually ships 10-13 days |
033 |
172-0553
|
Washer 17/64 x 1/16 flat |
$11.35
|
2 |
|
usually ships 13-18 days |
034 |
172-0157
|
Fitting (OBSOLETE) |
$11.19
|
2 |
|
usually ships 1-5 days |
035 |
172-0158
|
Solution pipe right side |
$187.02
|
1 |
|
usually ships 1-5 days |
036 |
999-0352
|
Bolt 3/8-16 x 2 3/4 hex head grade 5 zinc plated |
$1.67
|
2 |
|
ships same day |
037 |
172-0159
|
Bushing |
$23.10
|
2 |
|
usually ships 1-5 days |
038 |
999-0118
|
Nut 1/2-13 nylon insert lock zinc plated |
$0.99
|
1 |
|
ships same day |
039 |
172-0160
|
Adjustment screw (OBSOLETE) |
$49.83
|
2 |
|
usually ships 1-5 days |
040 |
999-0300
|
Bolt 1/4-20 x 7/8 hex head grade 5 zinc plated |
$0.99
|
4 |
|
ships same day |
041 |
172-0161
|
Extension spring (OBSOLETE) |
$6.89
|
1 |
|
usually ships 1-5 days |
042 |
999-0300
|
Bolt 1/4-20 x 7/8 hex head grade 5 zinc plated |
$0.99
|
2 |
|
ships same day |
043 |
172-0162
|
Bushing |
$14.41
|
2 |
|
usually ships 1-5 days |
044 |
172-0163
|
Motor mount plate (OBSOLETE) |
$20.79
|
1 |
|
usually ships 1-5 days |
045 |
999-0152
|
Nut 1/4-20 nylon insert lock zinc plated |
$0.99
|
4 |
|
ships same day |
046a |
172-0349
|
Brush motor (OBSOLETE) |
$1,760.00
|
1 |
|
usually ships 1-5 days |
046b |
172-0621
|
Carbon brush set (pkg of 4) (OBSOLETE) |
$69.85
|
1 |
|
usually ships 13-18 days |
047 |
999-0353
|
Bolt 5/16-18 x 2 3/4 hex head grade 5 zinc plated |
$0.99
|
1 |
|
ships same day |
048 |
999-0549
|
Washer 5/16 x 3/4 SAE flat stainless steel |
$0.99
|
1 |
|
ships same day |
049 |
999-0211
|
Nut 5/16-18 hex nylon insert lock zinc plated |
$0.99
|
1 |
|
ships same day |
050 |
999-0132
|
Bolt 5/16-18 x 3/4 hex head grade 5 zinc plated |
$2.64
|
1 |
|
ships same day |
051 |
172-0437
|
Square keyway |
$11.35
|
2 |
|
usually ships 13-18 days |
052 |
172-0438
|
Woodruff key |
$10.52
|
2 |
|
usually ships 1-5 days |
053 |
172-0165
|
Ball (OBSOLETE) |
$6.89
|
2 |
|
usually ships 1-5 days |
054 |
172-0166
|
Solution pipe left side (OBSOLETE) |
$27.32
|
1 |
|
usually ships 1-5 days |
055 |
172-0167
|
Belt guard (OBSOLETE) |
$11.88
|
1 |
model 372470 |
usually ships 1-5 days |
056 |
999-0018
|
Bolt 1/4-20 x 1/2 hex cap grade 5 zinc plated |
$0.99
|
2 |
model 372470 |
ships same day |
057 |
172-0434
|
Bushing (OBSOLETE) |
$20.68
|
2 |
|
usually ships 1-5 days |
058a |
172-0435
|
Top bearing |
$45.00
|
4 |
after SN 0565360 |
usually ships 13-18 days |
058b |
172-0249
|
Bottom bearing |
$30.91
|
4 |
before SN0565361 |
ships same day |
059 |
172-0436
|
Retaining ring |
$10.01
|
2 |
|
usually ships 13-18 days |
060 |
NOTE
|
Please See Batteries, Brushes, Pad Holders and Charger Pages |
Call for price
|
2 |
|
usually ships 3-26 days |
061 |
NOTE
|
Please See Batteries, Brushes, Pad Holders and Charger Pages |
Call for price
|
6 |
|
usually ships 3-26 days |
063 |
991-2206
|
Center-Lok 3 pad holder |
$47.32
|
2 |
|
ships same day |