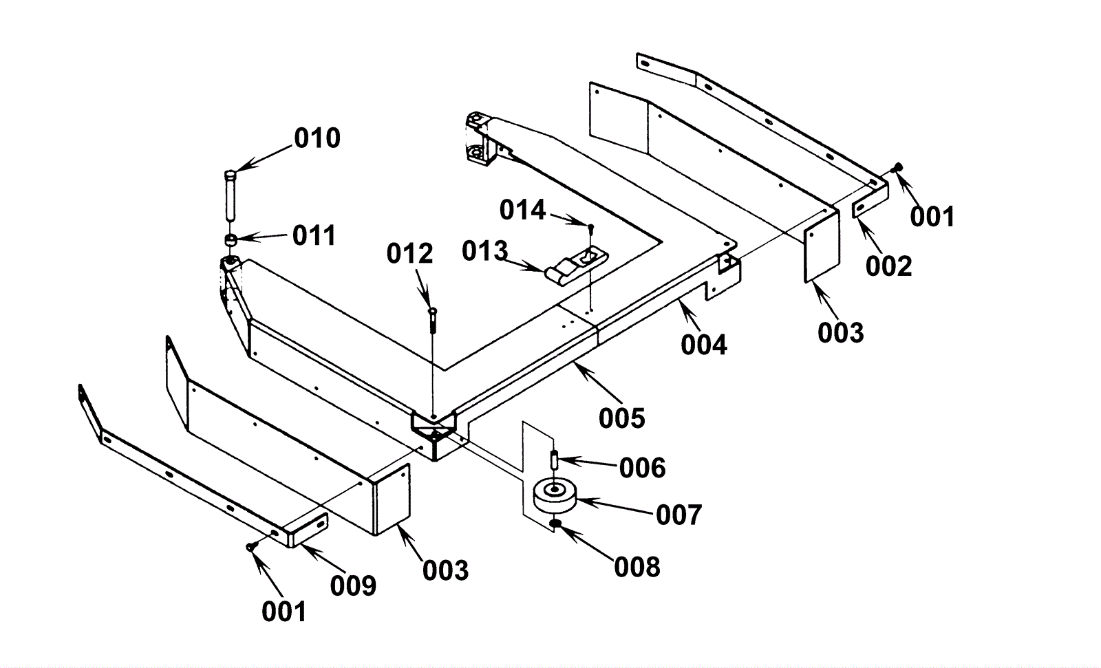
CONVERTAMATIC 260B Skirt Assembly

#PartDescriptionPriceReqNotesAvailability
001 172-0558 Screw 10-24 x 3/4 hex thread form black $10.52 12 usually ships 1-5 days
002 172-0040 Strap left side (OBSOLETE) $21.56 1 usually ships 1-5 days
003 172-0041 Rubber skirt (OBSOLETE) $14.47 2 usually ships 13-18 days
004 172-0042 Splash guard left side (OBSOLETE) $156.20 1 usually ships 1-5 days
005 172-0043 Splash guard right side (OBSOLETE) $160.05 1 Right side splash guard usually ships 13-18 days
006 172-0044 Bushing (OBSOLETE) $39.30 2 usually ships 13-18 days
007a 172-0045 Guide wheel $14.41 2 ships same day
007b 991-3051 Guide wheel $5.77 2 ships same day
008 172-0404 Washer 25/64 x 5/8 x 1/16 flat $12.89 2 usually ships 13-18 days
009 N/A Not available Call for price 1 Right side strap usually ships 3-26 days
010a 172-0047 Brass pin $27.50 2 usually ships 1-5 days
011a 172-0048 Bearing $16.20 4 for model 372470 usually ships 13-18 days
011b 172-0062 Bearing (OBSOLETE) $8.78 4 for model 372450 usually ships 1-5 days
012 999-0398 Screw 1/4-20 x 1 1/2 pan head phillips zinc plated $0.99 2 ships same day
013 172-0049 Latch $125.72 1 usually ships 13-18 days
014 999-0277 Screw 6-32 x 3/8 hex washer head unslotted thread rolling $0.99 4 ships same day