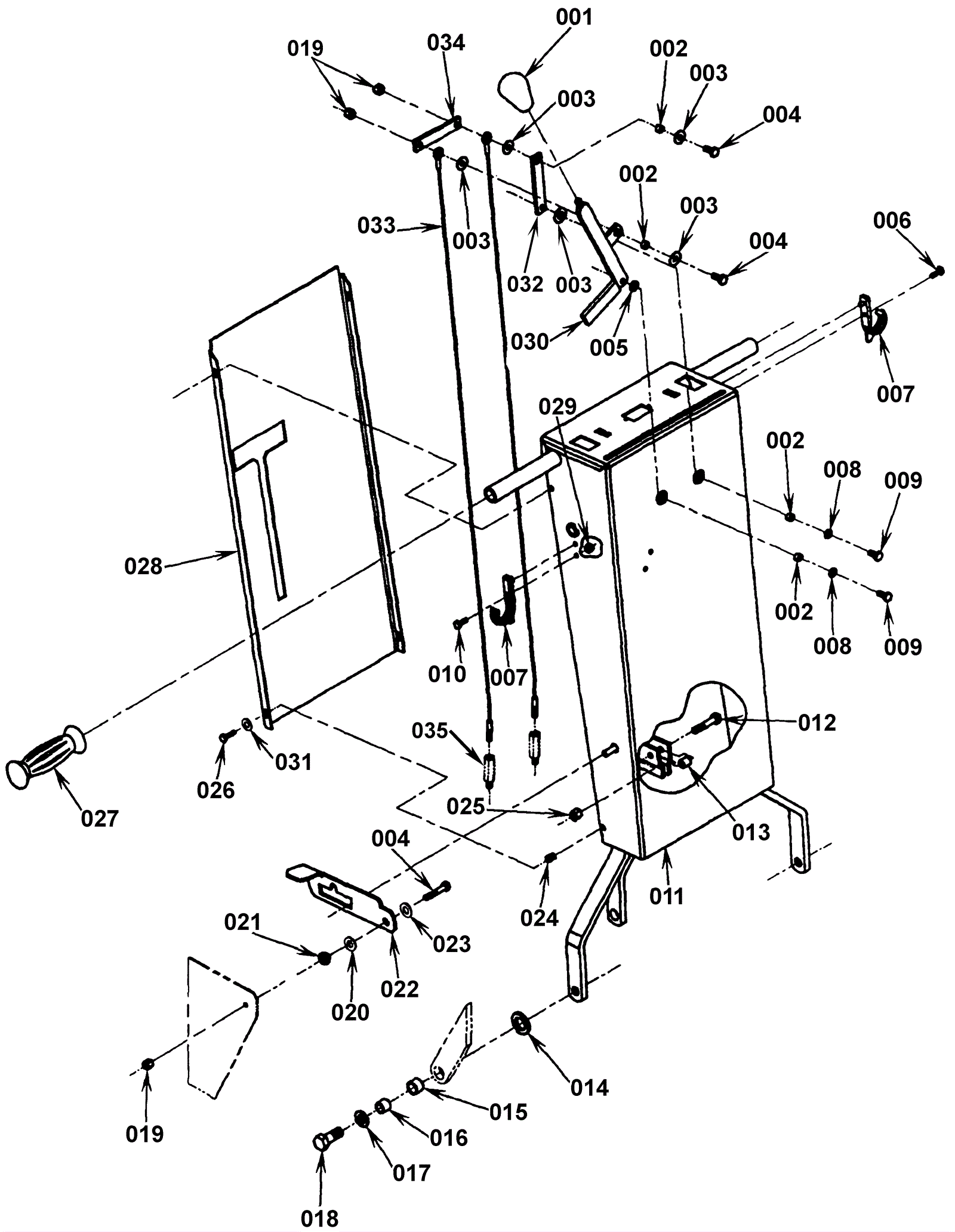
| # | Part | Description | Price | Req | Notes | Availability |
001 |
172-0021
|
Knob |
$25.75
|
1 |
|
usually ships 13-18 days |
002 |
172-0016
|
Bushing |
$31.16
|
4 |
|
usually ships 1-5 days |
003 |
172-0369
|
Washer 17/64 x 3/4 x 23/64 flat |
$12.89
|
5 |
|
usually ships 1-5 days |
004 |
999-0300
|
Bolt 1/4-20 x 7/8 hex head grade 5 zinc plated |
$0.99
|
3 |
|
ships same day |
005 |
172-0398
|
Washer 3/8 x 9/16 x .020 wave |
$10.52
|
1 |
|
usually ships 1-5 days |
006 |
999-0332
|
Screw 10-24 x 5/8 pan head phillips stainless steel |
$1.54
|
1 |
|
ships same day |
007 |
172-0020
|
Hook (OBSOLETE) |
$18.48
|
2 |
|
usually ships 1-5 days |
008 |
999-0123
|
Washer 1/4 SAE flat zinc plated |
$0.99
|
2 |
|
ships same day |
009 |
999-0019
|
Bolt 1/4-20 x 5/8 hex head grade 5 zinc plated |
$0.99
|
2 |
|
ships same day |
010 |
999-0333
|
Screw 10-24 x 1/2 pan head phillips stainless steel |
$0.99
|
1 |
|
ships same day |
011 |
172-0012
|
Handle (OBSOLETE) |
$430.06
|
1 |
|
usually ships 1-5 days |
012 |
999-0109
|
Bolt 5/16-18 x 1 1/2 hex head grade 5 zinc plated |
$0.99
|
2 |
|
ships same day |
013 |
172-0022
|
Bushing (OBSOLETE) |
$26.35
|
2 |
|
usually ships 1-5 days |
014 |
999-1134
|
Washer 1 1/4 flat stainless steel |
$6.01
|
2 |
|
ships same day |
015 |
172-0023
|
Sleeve bearing |
$14.41
|
2 |
|
usually ships 13-18 days |
016 |
172-0024
|
Bushing |
$14.41
|
2 |
|
usually ships 13-18 days |
017 |
172-0550
|
Washer 33/64 x 3/4 flat |
$11.35
|
2 |
|
usually ships 13-18 days |
018 |
999-0200
|
Bolt 1/2-13 x 1 1/4 hex head |
$3.45
|
2 |
|
ships same day |
019 |
999-0152
|
Nut 1/4-20 nylon insert lock zinc plated |
$0.99
|
3 |
|
ships same day |
020 |
172-6237
|
Washer 3/8 bowed (OBSOLETE) |
$10.52
|
1 |
|
usually ships 13-18 days |
021 |
172-0017
|
Bushing |
$28.60
|
1 |
|
usually ships 1-5 days |
022 |
172-0014
|
Handle latch (OBSOLETE) |
$78.41
|
1 |
|
usually ships 1-5 days |
023 |
172-0553
|
Washer 17/64 x 1/16 flat |
$11.35
|
1 |
|
usually ships 13-18 days |
024 |
999-0279
|
Nutsert 8-32 |
$1.83
|
4 |
|
usually ships 1-5 days |
025 |
999-0278
|
Nut 5/16-18 nylon insert lock jam zinc plated |
$0.99
|
2 |
|
ships same day |
026 |
172-0587
|
Bolt 8-32 x 3/4 hex head stainless steel |
$11.35
|
4 |
|
usually ships 13-18 days |
027a |
164-0304
|
Handle grip |
$71.48
|
2 |
|
usually ships 1-5 days |
027b |
991-8571
|
Handle grip |
$4.04
|
2 |
(NON-OEM) |
usually ships 18-24 days |
028 |
172-0013
|
Cover panel (OBSOLETE) |
$262.13
|
1 |
|
usually ships 13-18 days |
029 |
999-0211
|
Nut 5/16-18 hex nylon insert lock zinc plated |
$0.99
|
2 |
|
ships same day |
030 |
172-0015
|
Lever |
$79.84
|
1 |
|
usually ships 1-5 days |
031 |
999-0266
|
Washer #8 SAE flat stainless steel |
$0.99
|
1 |
|
ships same day |
032 |
172-0402
|
Bar (OBSOLETE) |
$70.27
|
1 |
|
usually ships 1-5 days |
033 |
172-0018
|
Wire rope assembly (OBSOLETE) |
$52.53
|
2 |
|
usually ships 13-18 days |
034 |
172-0397
|
Lifter bar (OBSOLETE) |
$26.95
|
1 |
|
usually ships 1-5 days |
035 |
172-0401
|
Turnbuckle (OBSOLETE) |
$26.40
|
2 |
|
usually ships 13-18 days |
N/S |
172-0292
|
Rod lever (OBSOLETE) |
$184.14
|
|
|
usually ships 1-5 days |
N/S |
172-7094
|
Drain tube (OBSOLETE) |
$70.51
|
|
|
usually ships 1-5 days |