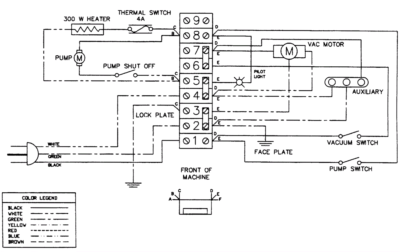
- Wiring Diagram
Click to enlarge