| # | Part | Description | Price | Req | Notes | Availability |
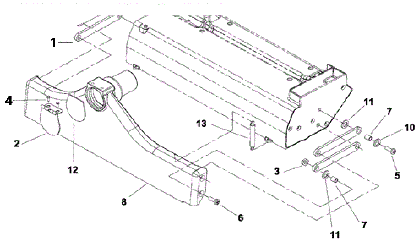
1 |
173-2137
|
Parallel arm |
$27.54
|
4 |
|
usually ships 11-15 days |
2 |
189-4204
|
Accessory port cover |
$117.73
|
1 |
|
usually ships 12-17 days |
3 |
999-0294
|
Nut 1/4-20 hex nylon lock type NE stainless steel |
$1.18
|
4 |
|
ships same day |
4 |
173-2549
|
Bolt 10-32 x 3/8 hex head thread rolling with star washer |
$0.99
|
2 |
|
usually ships 11-15 days |
5 |
999-0487
|
Screw 1/4-20 x 3/4 pan head phillips zinc plated |
$0.99
|
4 |
|
ships same day |
6 |
999-1345
|
Screw 1/4-20 x 1 flat head phillips stainless steel |
$0.99
|
4 |
|
ships same day |
7 |
189-4140
|
Spacer |
$2.38
|
8 |
|
usually ships 12-17 days |
8 |
173-0632
|
15 inch vacuum shoe |
$594.39
|
1 |
|
usually ships 11-15 days |
10 |
999-0123
|
Washer 1/4 SAE flat zinc plated |
$0.99
|
4 |
|
ships same day |
11 |
999-1053
|
Washer 5/16 internal star lock stainless steel |
$0.99
|
8 |
|
ships same day |
12 |
189-4141
|
Accessory port gasket |
$8.47
|
1 |
|
ships same day |
13 |
173-2255
|
Extension spring |
$14.60
|
2 |
|
usually ships 11-15 days |