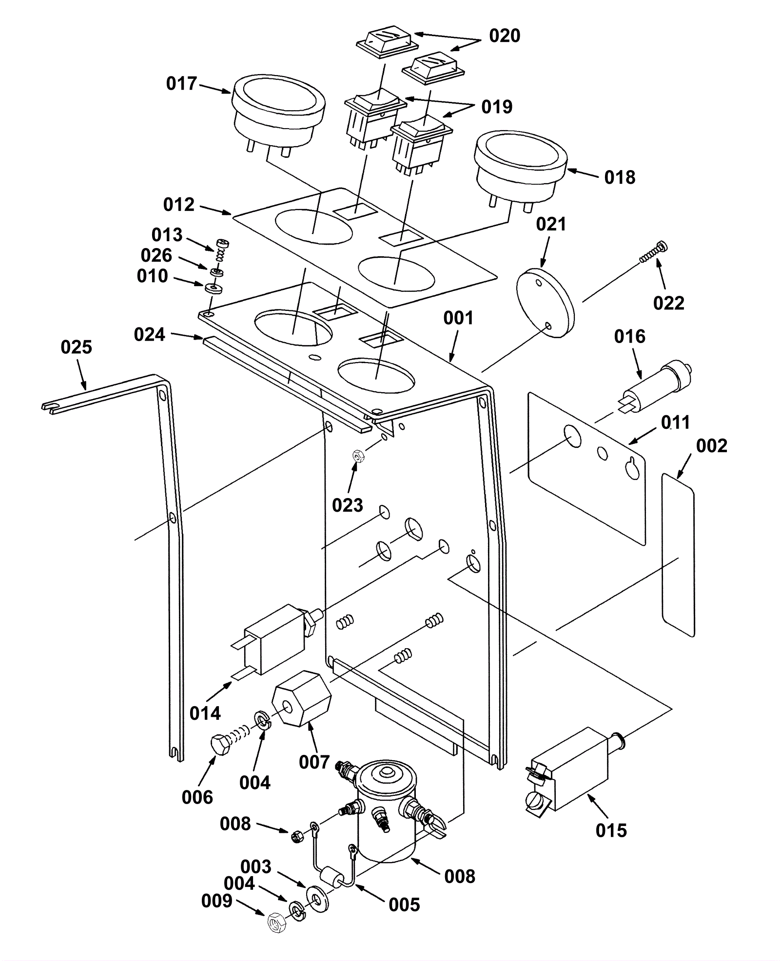
Console Panel Assembly
Click to enlarge