| # | Part | Description | Price | Req | Notes | Availability |
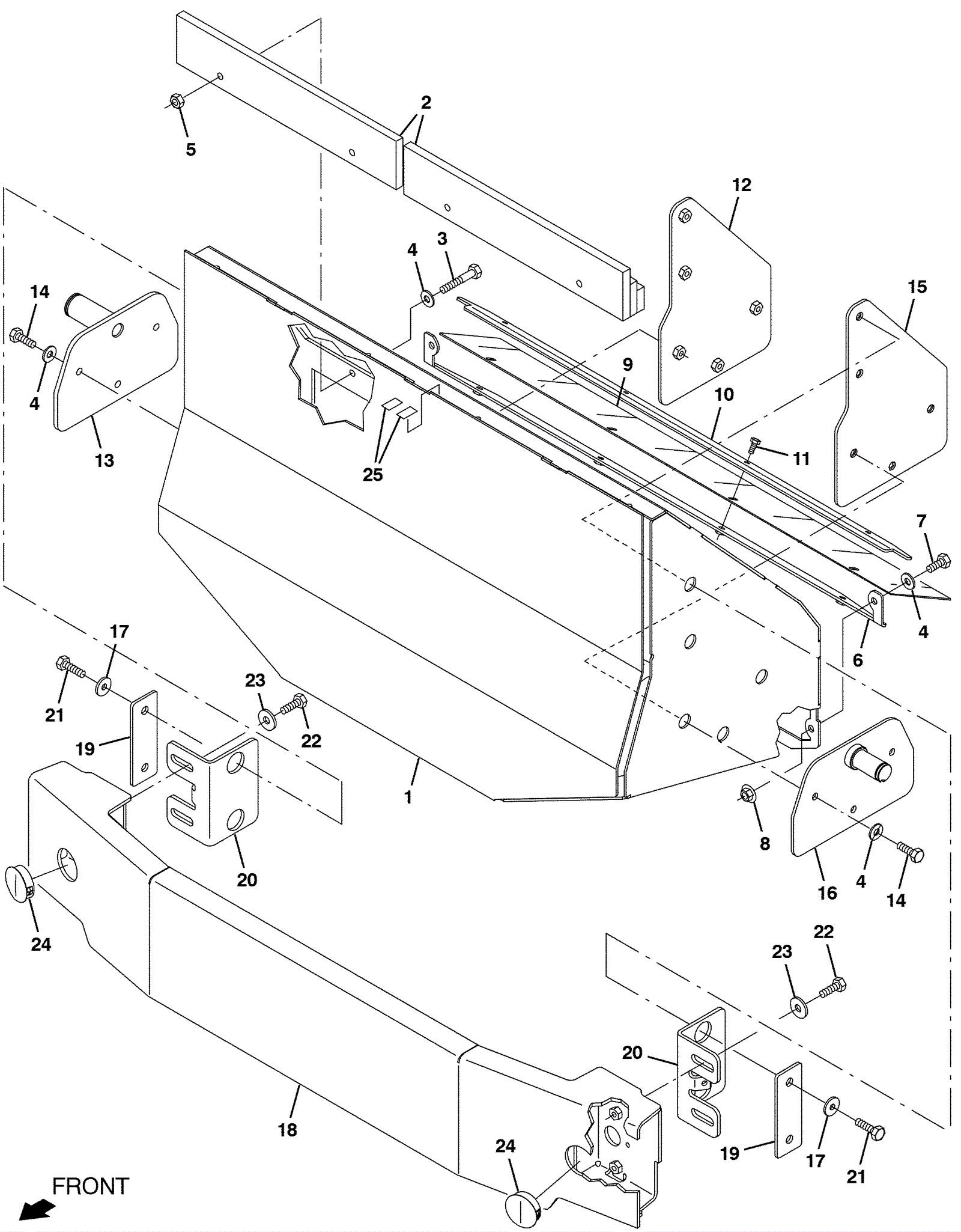
1 |
675-9654
|
HOPPER, STEEL (Tennant Industrial) |
$1,292.58
|
1 |
|
usually ships 10-13 days |
2 |
675-9655
|
BAR WLDT, WEIGHT, HPPR (Tennant Industrial) |
$360.24
|
2 |
|
usually ships 10-13 days |
3 |
999-0788
|
Screw M8-1.25 x 55mm hex head stainless steel |
$1.54
|
4 |
|
ships same day |
4 |
999-0024
|
Washer 5/16 flat stainless steel |
$1.34
|
12 |
|
ships same day |
5 |
999-0496
|
Nut M8-1.25 nylon insert lock stainless steel |
$1.34
|
4 |
|
ships same day |
6 |
675-9656
|
BRACKET WLDT, HPPR, SKIRT (Tennant Industrial) |
$103.85
|
1 |
|
usually ships 10-13 days |
7 |
999-0499
|
Bolt M8-1.25 x 20mm hex head full thread stainless steel |
$1.85
|
1 |
|
ships same day |
8 |
999-0665
|
Nut M8-1.25 flange lock |
$0.99
|
1 |
|
ships same day |
9 |
675-9657
|
SKIRT, FRONT (Tennant Industrial) |
$76.18
|
1 |
|
usually ships 10-13 days |
10 |
675-9658
|
STRAP, RETAINING, LIP (Tennant Industrial) |
$75.85
|
1 |
|
usually ships 10-13 days |
11 |
175-6939
|
Screw M5 x 16mm stainless steel |
$3.96
|
4 |
|
ships same day |
12 |
675-9659
|
PLATE WLDT, HPPR, INNER, RH (Tennant Industrial) |
$75.52
|
1 |
|
usually ships 10-13 days |
13 |
675-9660
|
PLATE WLDT, MTG, HPPR, STL, RH (Tennant Industrial) |
$162.53
|
1 |
|
usually ships 10-13 days |
14 |
999-0770
|
Screw M8-1.25 x 30mm flat head socket stainless steel |
$2.62
|
3 |
|
ships same day |
15 |
675-9661
|
PLATE WLDT, HPPR, INNER, LH (Tennant Industrial) |
$83.35
|
1 |
|
usually ships 10-13 days |
16 |
675-9662
|
PLATE WLDT, MTG, HPPR, STL, LH (Tennant Industrial) |
$235.88
|
1 |
|
usually ships 10-13 days |
17 |
175-7920
|
Washer M8 flat stainless steel |
$4.49
|
4 |
|
ships same day |
18 |
675-4616
|
BUMPER WLDT, FRONT [HSLA] (Tennant Industrial) |
$599.79
|
1 |
|
usually ships 10-13 days |
19 |
575-0645
|
PLATE, BMPR, MOUNT (Tennant Industrial) |
$16.84
|
2 |
|
usually ships 10-13 days |
20 |
575-2671
|
BRACKET, BMPR, HPPR MTG (Tennant Industrial) |
$32.84
|
2 |
|
usually ships 10-13 days |
21 |
999-0786
|
Screw M8-1.25 x 35mm hex head stainless steel |
$1.12
|
4 |
|
ships same day |
22 |
999-0501
|
Bolt M8-1.25 x 25mm hex head full thread stainless steel |
$2.64
|
4 |
|
ships same day |
23 |
175-0797
|
Washer flat |
$5.28
|
4 |
|
usually ships 1-5 days |
24 |
475-7426
|
PLUG, HOLE, RND, 1.75H .18-.25, BLK NYL (Tennant Industrial) |
$2.00
|
2 |
|
usually ships 10-13 days |
25 |
N/A
|
Not available |
Call for price
|
2 |
(Tape, .0080, 1.0A, Bulk) |
usually ships 3-26 days |