| # | Part | Description | Price | Req | Notes | Availability |
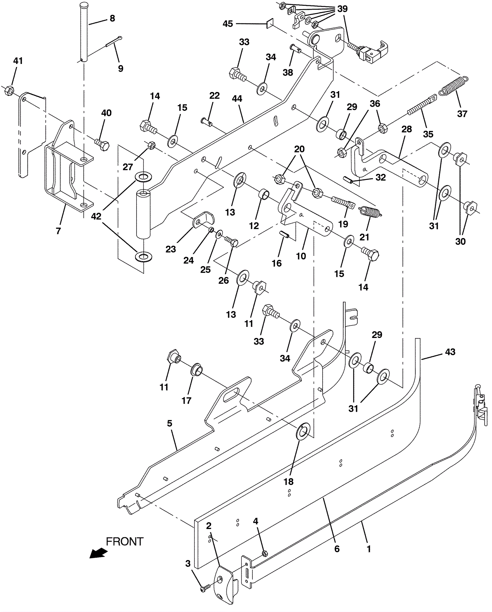
1 |
575-7934
|
RETAINER ASSY, SIDE SQGE, WITH LATCH (Tennant Industrial) |
$115.19
|
1 |
|
usually ships 10-13 days |
2 |
575-0946
|
GUIDE, SQGE, SIDE (Tennant Industrial) |
$18.34
|
1 |
|
usually ships 10-13 days |
3 |
999-0901
|
Screw M5-.8 x 16mm pan head phillips stainless steel |
$0.99
|
2 |
|
ships same day |
4 |
999-0740
|
Nut M5-.8 hex stainless steel |
$0.99
|
2 |
|
ships same day |
5 |
575-8762
|
HOLDER WLDT, BLADE, LH (Tennant Industrial) |
$135.36
|
1 |
|
usually ships 10-13 days |
6 |
575-9397
|
BLADE, SQGE, SIDE, linatex (Tennant Industrial) |
$131.53
|
1 |
|
usually ships 10-13 days |
7 |
575-5198
|
BRACKET WLDT, PIVOT, SQGE (Tennant Industrial) |
$63.35
|
1 |
|
usually ships 10-13 days |
8 |
275-3981
|
PIN, CLEVIS, 0.50D X 5.00L (Tennant Industrial) |
$19.50
|
1 |
|
usually ships 1-5 days |
9 |
175-0532
|
Cotter pin |
$5.67
|
1 |
|
ships same day |
10 |
575-6518
|
ARM WLDT, FRONT, LH (Tennant Industrial) |
$84.35
|
1 |
|
usually ships 10-13 days |
11 |
275-9507
|
NUT, T, M10 X 1.50 X 15.80OD X 13.0L (Tennant Industrial) |
$33.01
|
2 |
|
usually ships 10-13 days |
12 |
175-3349
|
Sleeved bushing |
$13.64
|
1 |
|
usually ships 10-13 days |
13 |
175-3347
|
Washer .61 thrust |
$5.50
|
2 |
|
usually ships 10-13 days |
14 |
999-1170
|
Bolt M10-1.5 x 20mm hex head stainless steel |
$3.06
|
2 |
|
ships same day |
15 |
999-0355
|
Washer 3/8 x 7/8 SAE flat stainless steel |
$0.99
|
2 |
|
ships same day |
16 |
175-0768
|
PIN, ROLL, .250D X 0.75L, .250/.256 (Tennant Industrial) |
$5.50
|
1 |
|
ships same day |
17 |
175-3460
|
Flanged bushing |
$11.55
|
1 |
|
usually ships 10-13 days |
18 |
275-7611
|
Thrust washer |
$10.67
|
1 |
|
usually ships 1-5 days |
19 |
175-0772
|
BOLT, EYE, M8 X 1.25 X 070MM, 05.50 EYE (Tennant Industrial |
$40.01
|
1 |
|
usually ships 1-5 days |
20 |
999-1424
|
Nut M8-1.25 hex stainless steel |
$1.65
|
2 |
|
ships same day |
21 |
275-2236
|
SPRING, EXTN, 0.75OD 0.10WIR 03.0L |
$53.02
|
1 |
|
usually ships 10-13 days |
22 |
175-0655
|
Clevis pin |
$4.49
|
1 |
|
usually ships 10-13 days |
23 |
175-0776
|
BRACKET, LATCH, DBL SCB, SQGE, SIDE (Tennant Industrial) |
$15.17
|
1 |
|
usually ships 1-5 days |
24 |
175-0777
|
P/M sleeve |
$5.50
|
1 |
|
usually ships 10-13 days |
25 |
999-0335
|
Washer 1/4 x 5/8 SAE flat stainless steel |
$0.99
|
1 |
|
ships same day |
26 |
999-0507
|
Bolt M6-1 x 16mm hex head full thread plain finish |
$0.99
|
1 |
|
ships same day |
27 |
999-0497
|
Nut M6-1 nylon insert lock stainless steel |
$0.99
|
1 |
|
ships same day |
28 |
575-6159
|
ARM WLDT, REAR, LH (Tennant Industrial) |
$77.35
|
1 |
|
usually ships 10-13 days |
29 |
175-3349
|
Sleeved bushing |
$13.64
|
2 |
|
usually ships 10-13 days |
30 |
275-9507
|
NUT, T, M10 X 1.50 X 15.80OD X 13.0L (Tennant Industrial) |
$33.01
|
2 |
|
usually ships 10-13 days |
31 |
175-3347
|
Washer .61 thrust |
$5.50
|
5 |
|
usually ships 10-13 days |
32 |
175-0768
|
PIN, ROLL, .250D X 0.75L, .250/.256 (Tennant Industrial) |
$5.50
|
1 |
|
ships same day |
33 |
999-1170
|
Bolt M10-1.5 x 20mm hex head stainless steel |
$3.06
|
2 |
|
ships same day |
34 |
999-0355
|
Washer 3/8 x 7/8 SAE flat stainless steel |
$0.99
|
2 |
|
ships same day |
35 |
175-0772
|
BOLT, EYE, M8 X 1.25 X 070MM, 05.50 EYE (Tennant Industrial |
$40.01
|
1 |
|
usually ships 1-5 days |
36 |
999-1424
|
Nut M8-1.25 hex stainless steel |
$1.65
|
2 |
|
ships same day |
37 |
275-2236
|
SPRING, EXTN, 0.75OD 0.10WIR 03.0L |
$53.02
|
1 |
|
usually ships 10-13 days |
38 |
175-0655
|
Clevis pin |
$4.49
|
1 |
|
usually ships 10-13 days |
39 |
275-7341
|
Latch (yellow) |
$28.05
|
1 |
|
usually ships 10-13 days |
40 |
999-0783
|
Screw M8-1.25 x 16mm hex head |
$0.99
|
2 |
|
ships same day |
41 |
999-0496
|
Nut M8-1.25 nylon insert lock stainless steel |
$1.34
|
2 |
|
ships same day |
42 |
175-3347
|
Washer .61 thrust |
$5.50
|
2 |
|
usually ships 10-13 days |
43a |
675-2836
|
BLADE, SQGE, SIDE, URE (Tennant Industrial) |
$305.06
|
1 |
(optional) |
usually ships 10-13 days |
43b |
575-7995
|
BLADE, SQGE, SIDE, GUM (Tennant Industrial) |
$44.68
|
1 |
(optional) |
usually ships 10-13 days |
44 |
575-7486
|
ARM WLDT, LH (Tennant Industrial) |
$104.19
|
1 |
|
usually ships 10-13 days |
45 |
375-7041
|
Gasket |
$52.62
|
1 |
|
usually ships 10-13 days |
Kit1 |
675-4123
|
SQUEEGEE KIT, SIDE, LH (Tennant Industrial) |
$433.75
|
1 |
(includes 1-6) |
usually ships 10-13 days |
Kit2 |
675-2260
|
ARM KIT, SQGE, FRONT, LH, AFMKT [T17] (Tennant Industrial) |
$319.40
|
1 |
(includes 10-22) |
usually ships 10-13 days |
Kit3 |
675-2279
|
ARM KIT, SQGE, REAR, LH, AFMKT [T17] (Tennant Industrial) |
$319.40
|
1 |
(includes 28-38) |
usually ships 10-13 days |