| # | Part | Description | Price | Req | Notes | Availability |
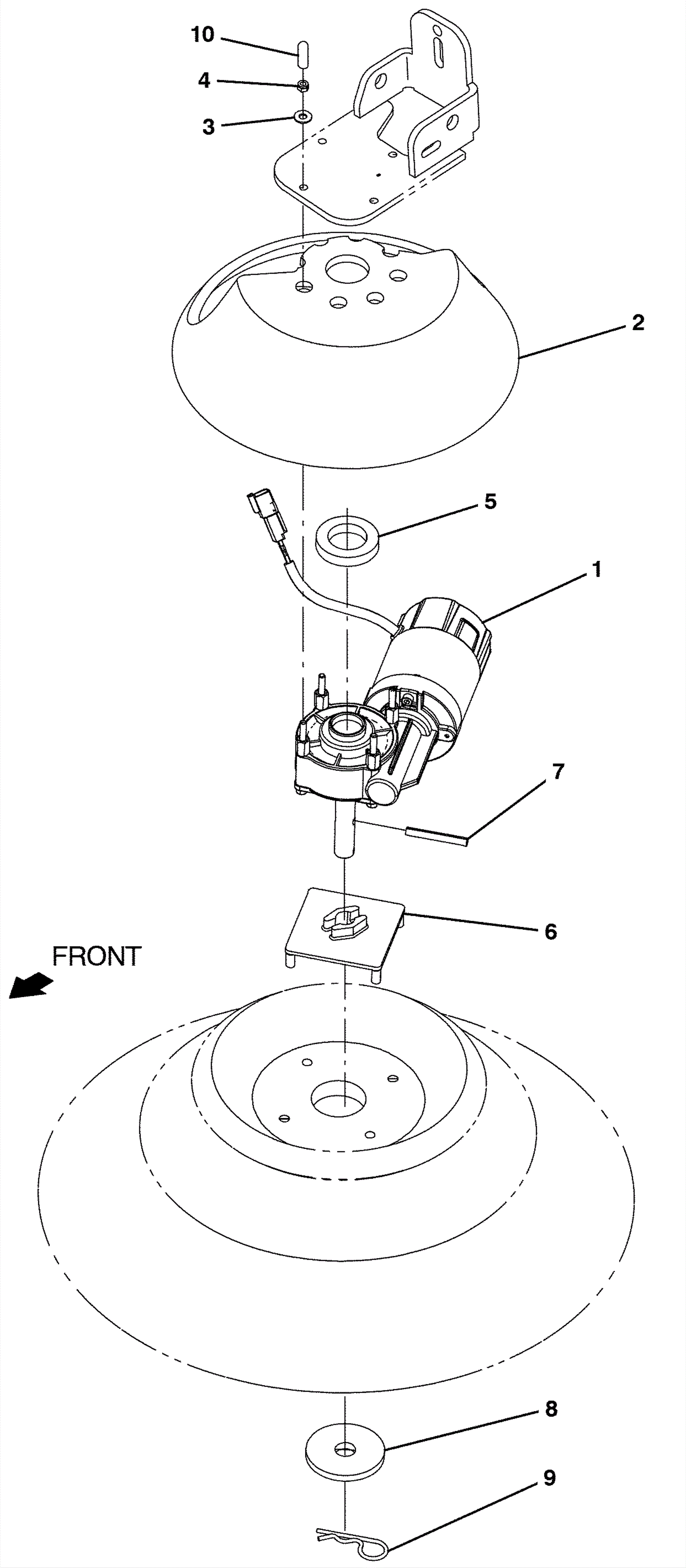
1a |
675-5808
|
MOTOR, ELE, 36VDC 0070RPM 60W (Tennant Industrial) |
$913.18
|
1 |
(right hand) |
usually ships 10-13 days |
1b |
675-5783
|
MOTOR, ELE, 36VDC 0070RPM 60W, LH (Tennant Industrial) |
$903.18
|
1 |
(left hand) |
usually ships 10-13 days |
2 |
375-8061
|
Brush side guard |
$100.52
|
4 |
|
ships same day |
3 |
999-0006
|
Washer 3/16 flat zinc plated |
$0.99
|
4 |
|
ships same day |
4 |
175-2894
|
Nut M5-.8 hex nylon locking |
$3.30
|
1 |
|
usually ships 10-13 days |
5 |
375-8062
|
Brush spacer |
$29.37
|
1 |
|
usually ships 10-13 days |
6 |
275-7983
|
Brush adapter plate (Tennant Industrial) |
$100.19
|
1 |
|
ships same day |
7 |
275-1660
|
PIN, ROLL, .250D X 2.00L, .250/.256 (Tennant Industrial) |
$5.67
|
1 |
|
usually ships 10-13 days |
8 |
275-7984
|
Washer (Tennant Industrial) (OBSOLETE) |
$19.67
|
1 |
|
usually ships 10-13 days |
9 |
175-2106
|
Cotter hair pin |
$4.49
|
1 |
|
ships same day |
10 |
N/A
|
Not available |
Call for price
|
4 |
(thread cover) |
usually ships 3-26 days |