| # | Part | Description | Price | Req | Notes | Availability |
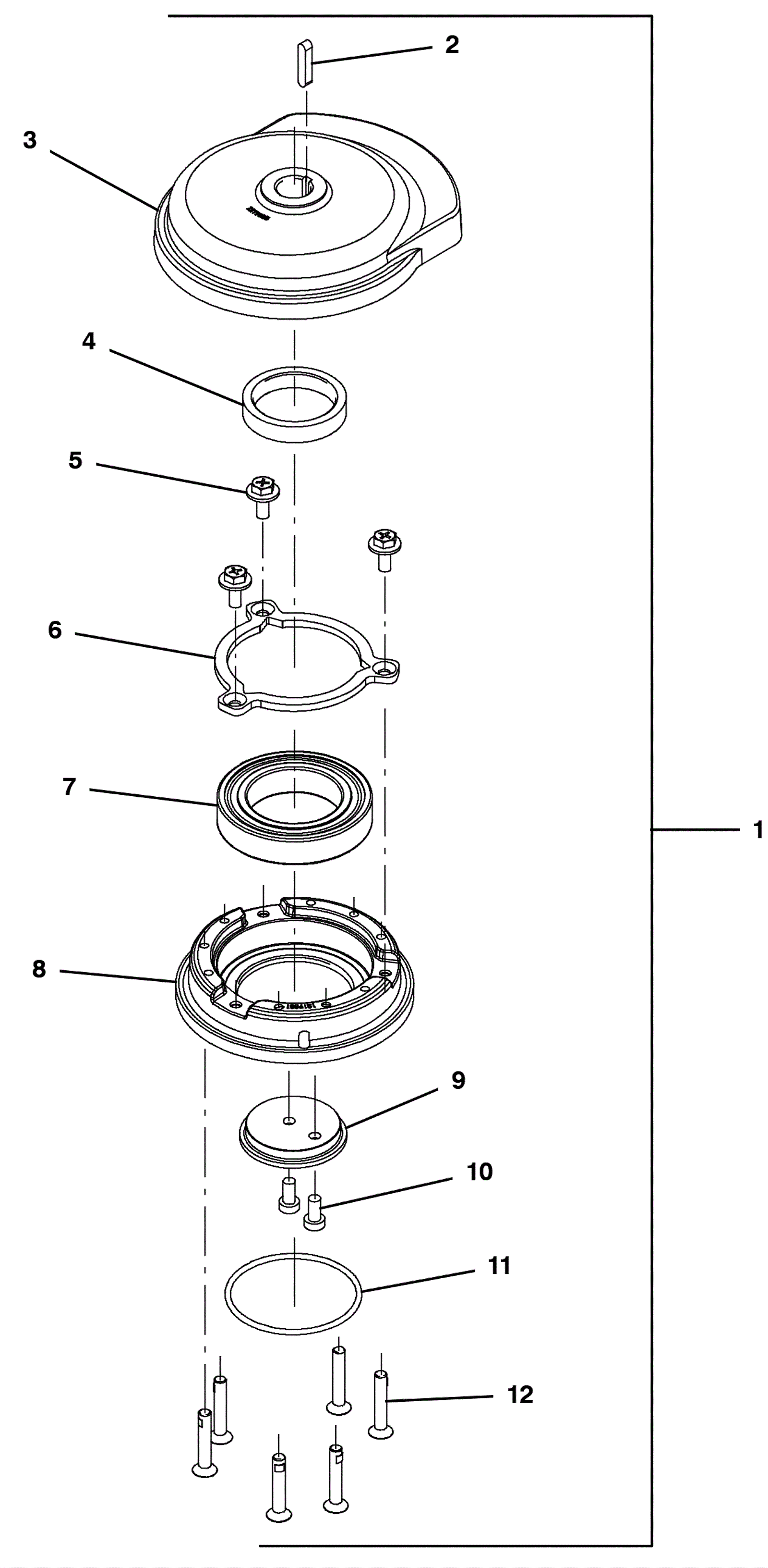
1 |
375-3204
|
Eccentric drive kit |
$489.72
|
1 |
(includes 2-12) |
usually ships 10-13 days |
2 |
375-3199
|
Square key |
$5.50
|
1 |
|
ships same day |
3 |
N/A
|
Not available |
Call for price
|
1 |
(balance) (only available with 1) |
usually ships 3-26 days |
4 |
N/A
|
Not available |
Call for price
|
1 |
(spacer) (only available with 1) |
usually ships 3-26 days |
5 |
N/A
|
Not available |
Call for price
|
3 |
(screw) (only available with 1) |
usually ships 3-26 days |
6 |
N/A
|
Not available |
Call for price
|
1 |
(plate) (only available with 1) |
usually ships 3-26 days |
7 |
375-3462
|
Ball bearing |
$157.85
|
1 |
|
usually ships 10-13 days |
8 |
N/A
|
Not available |
Call for price
|
1 |
(outer bearing housing) (only available with 1) |
usually ships 3-26 days |
9 |
N/A
|
Not available |
Call for price
|
1 |
(inner bearing retainer) (only available with 1) |
usually ships 3-26 days |
10 |
N/A
|
Not available |
Call for price
|
2 |
(screw) (only available with 1) |
usually ships 3-26 days |
11 |
375-3463
|
Seal |
$14.96
|
1 |
|
usually ships 10-13 days |
12 |
375-0288
|
Screw M6-1 x 35mm flat socket |
$1.98
|
6 |
|
usually ships 10-13 days |