| # | Part | Description | Price | Req | Notes | Availability |
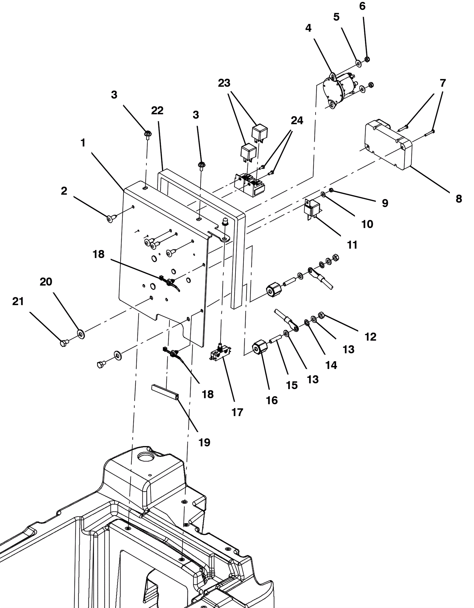
1 |
475-1840
|
BRACKET WLDT, MTG, ELE [T500E] |
$101.42
|
1 |
|
usually ships 10-13 days |
2 |
991-5122
|
1/4 nylon tree push-in rivet |
$1.67
|
4 |
|
ships same day |
3 |
999-1383
|
Screw M6-1 x 16mm hex head stainless steel |
$3.96
|
2 |
|
ships same day |
4 |
375-1275
|
150amp relay |
$50.27
|
1 |
|
usually ships 10-13 days |
5 |
999-0335
|
Washer 1/4 x 5/8 SAE flat stainless steel |
$0.99
|
2 |
|
ships same day |
6 |
999-0497
|
Nut M6-1 nylon insert lock stainless steel |
$0.99
|
2 |
|
ships same day |
7 |
999-1673
|
Screw M4-.7 x 25mm pan head phillips stainless steel |
$0.99
|
2 |
|
ships same day |
8 |
375-3234
|
Drive module kit |
$424.38
|
1 |
|
ships same day |
9 |
999-0740
|
Nut M5-.8 hex stainless steel |
$0.99
|
1 |
|
ships same day |
10 |
999-0998
|
Washer #10 flat stainless steel |
$0.99
|
1 |
|
ships same day |
11 |
375-3233
|
24V relay |
$21.67
|
1 |
|
ships same day |
12 |
275-5476
|
Nut M8 x 1.25 hex brass (Tennant Industrial) |
$5.67
|
1 |
|
usually ships 10-13 days |
13 |
275-5475
|
Washer M8-.4 x 1.6mm brass |
$3.30
|
2 |
|
usually ships 10-13 days |
14 |
999-1053
|
Washer 5/16 internal star lock stainless steel |
$0.99
|
4 |
|
ships same day |
15 |
175-4271
|
Screw M8 x 35mm set |
$5.28
|
2 |
|
usually ships 10-13 days |
16 |
375-0176
|
Insulated stand-off |
$14.19
|
2 |
|
usually ships 10-13 days |
17 |
175-0084
|
Actuator push switch |
$18.92
|
1 |
|
ships same day |
18 |
275-5197
|
Fir tree clip |
$2.38
|
2 |
|
usually ships 10-13 days |
19 |
275-1269
|
3 foot trim molding |
$72.60
|
1 |
|
usually ships 1-5 days |
20 |
999-0355
|
Washer 3/8 x 7/8 SAE flat stainless steel |
$0.99
|
2 |
|
ships same day |
21 |
999-1415
|
Screw M8-1.25 x 12mm hex head stainless steel |
$1.52
|
2 |
|
ships same day |
22 |
375-3237
|
Circuit board cover gasket |
$57.31
|
1 |
|
usually ships 10-13 days |
23 |
175-8635
|
40amp relay |
$31.35
|
2 |
|
ships same day |
24 |
999-0777
|
Screw M4-.7 x 10mm hex head plain finish |
$0.99
|
2 |
|
ships same day |