SPEEDGLEAM 7
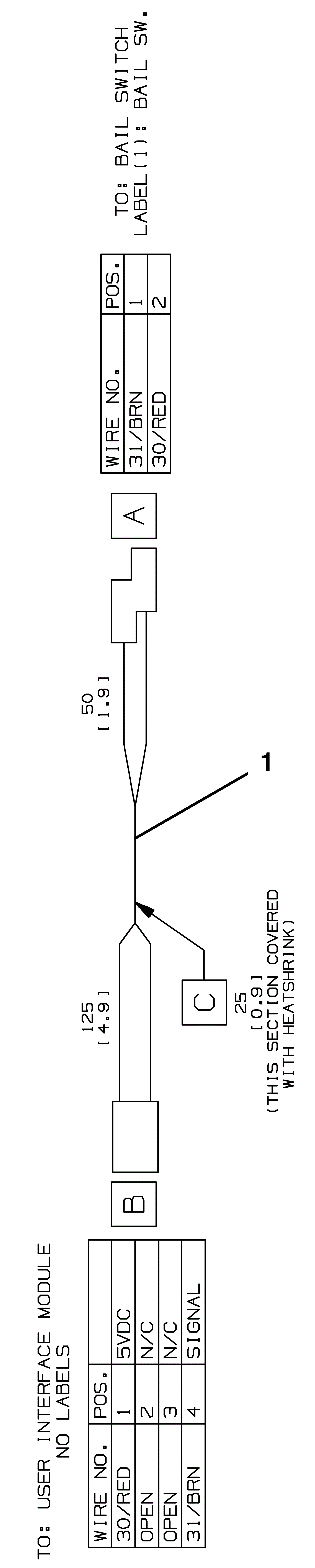
Bail Switch Wire Harness
Click to enlarge
#
Part
Description
Price
Req
Notes
Availability
1
275-5427
Wiring harness
$9.79
1
usually ships 10-13 days