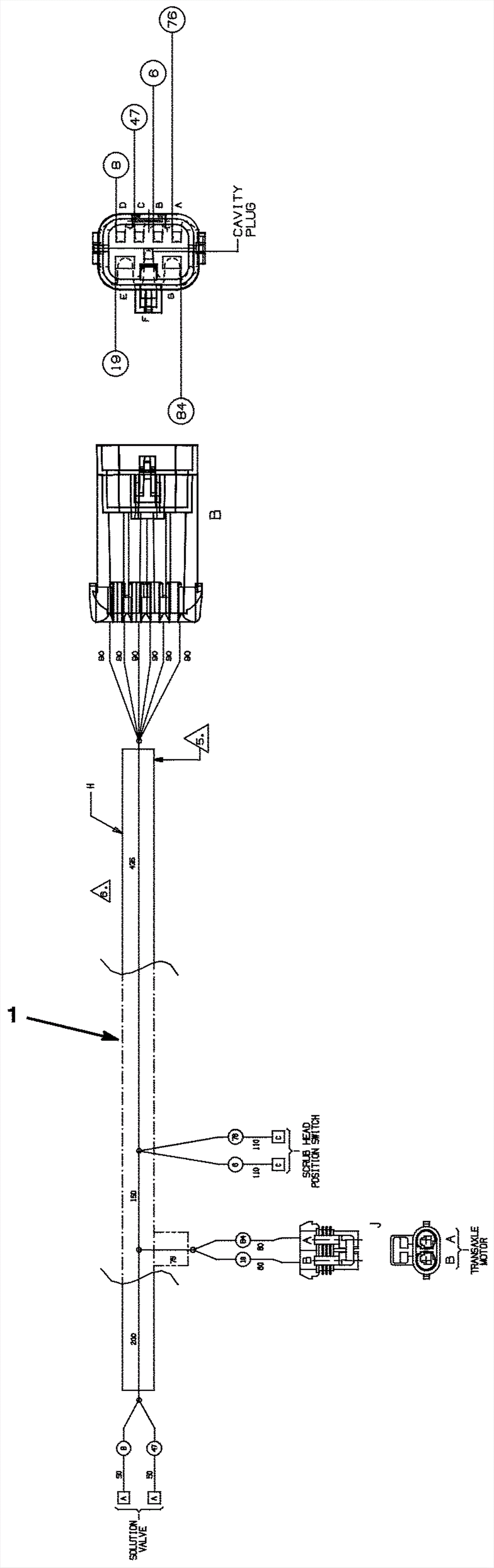
Frame Wire Harness Assembly - Drive
Click to enlarge