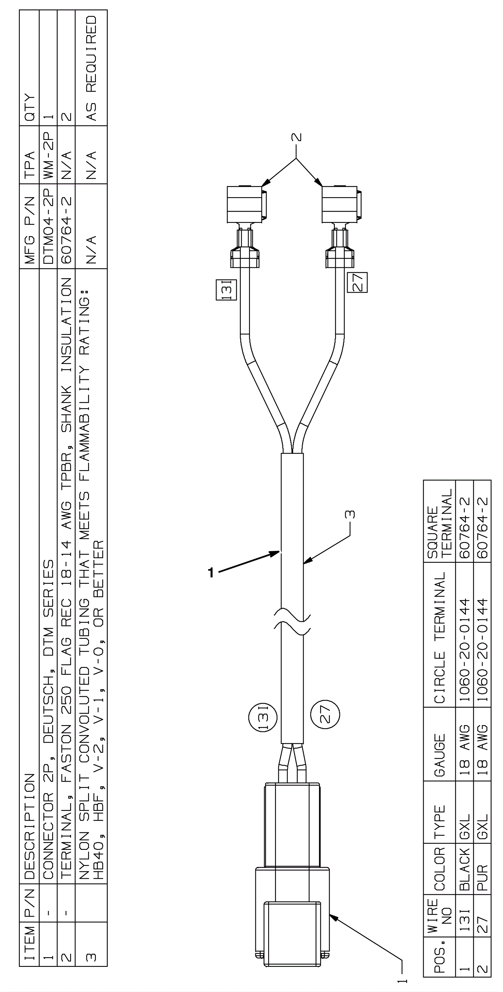
T380AMR
Seat Wire Harness Assembly
Click to enlarge
#
Part
Description
Price
Req
Notes
Availability
1
375-7911
Seat harness
$53.35
1
usually ships 10-13 days