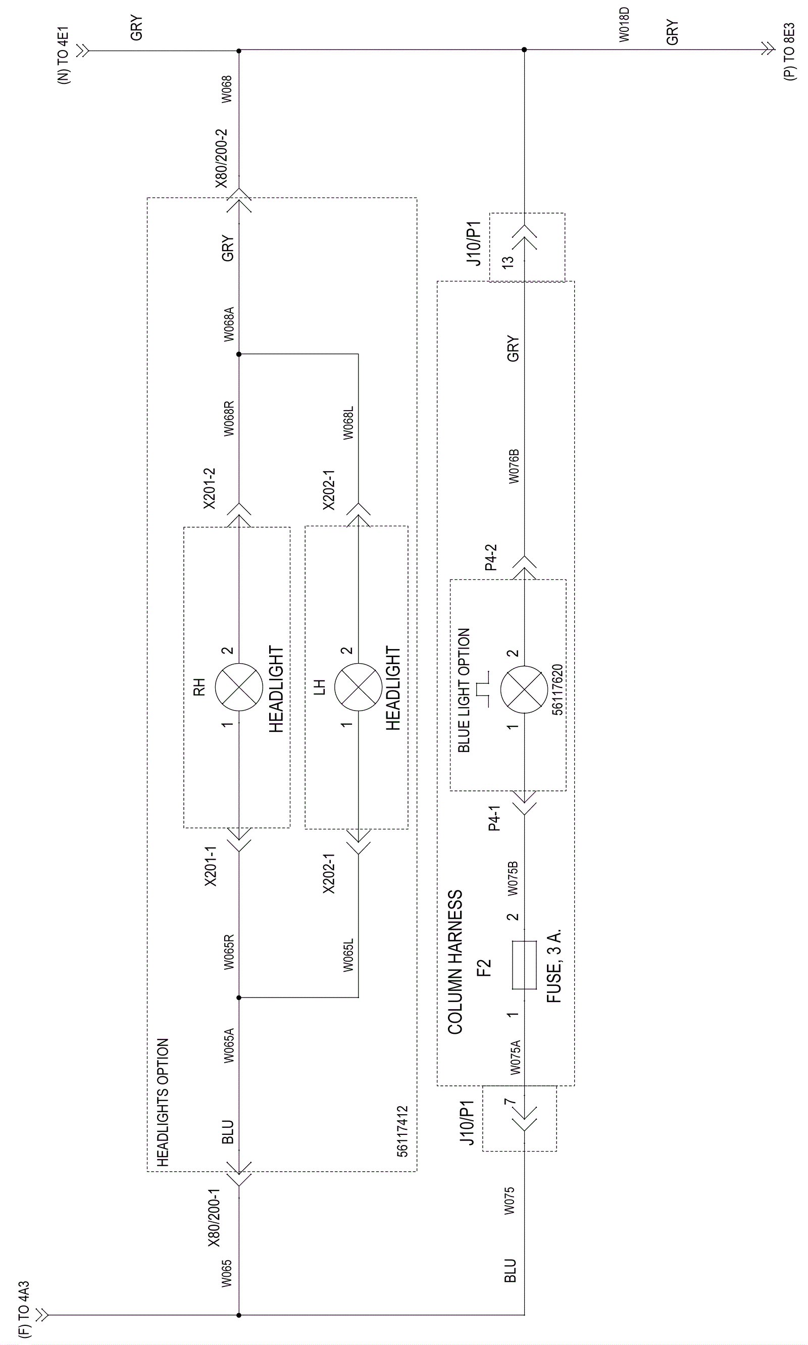
SC4000 28C
Ladder Diagram-7
Click to enlarge
#
Part
Description
Price
Req
Notes
Availability
F2
N/A
Not available
Call for price
1
(3 amp fuse)
usually ships 3-26 days
N/S
572-8142
Directional light (blue)
$245.32
1
(optional)
usually ships 13-18 days