| # | Part | Description | Price | Req | Notes | Availability |
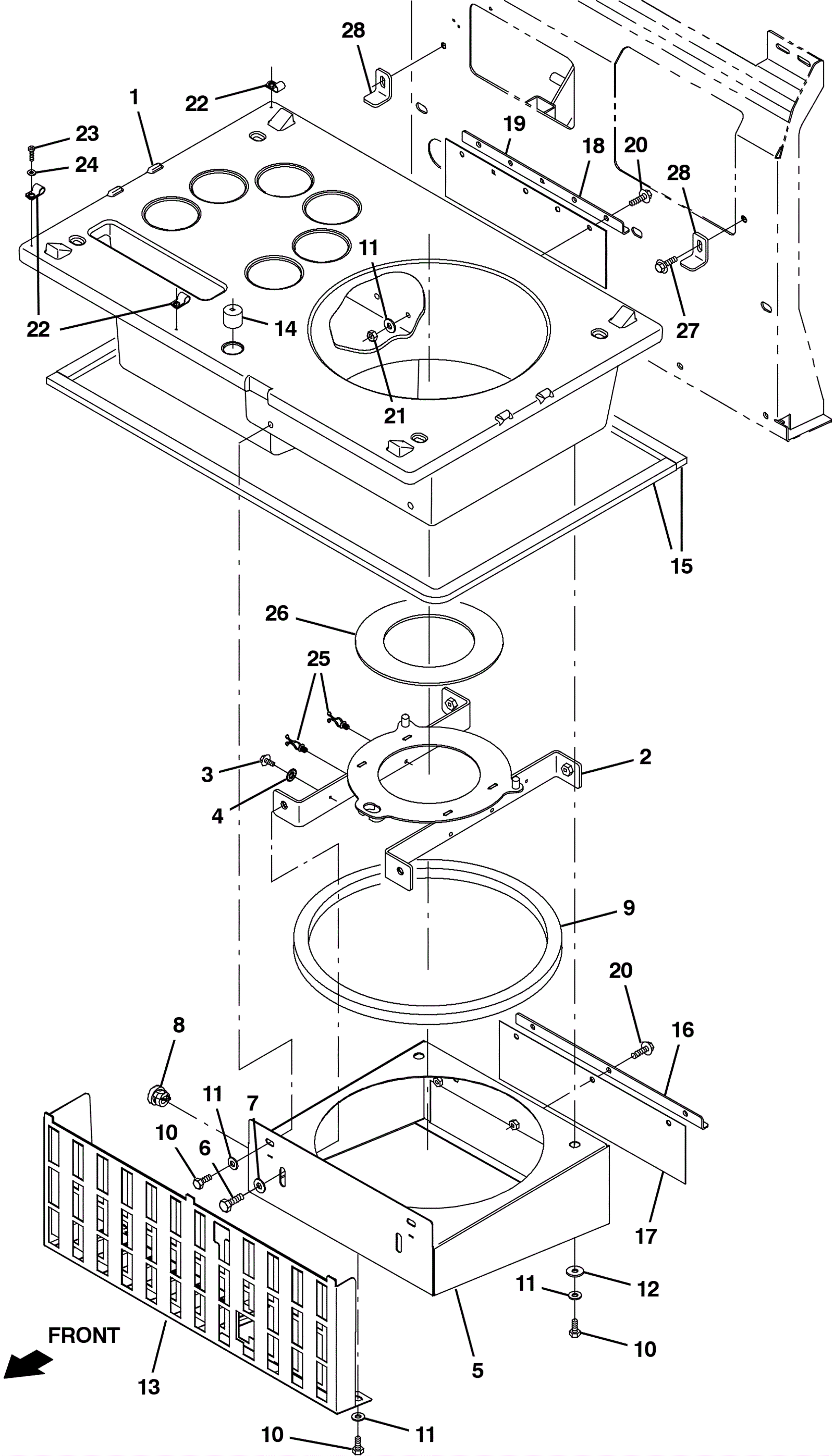
1 |
675-3377
|
TRAY, MOLD (Tennant Industrial) |
$422.25
|
1 |
|
usually ships 10-13 days |
2 |
675-1413
|
TRAY, DUST, SHAKR (Tennant Industrial) |
$240.21
|
1 |
|
usually ships 10-13 days |
3 |
175-3298
|
Bolt M6-1 x 12mm hex head |
$4.49
|
1 |
|
ships same day |
4 |
275-0288
|
Washer 1/4 internal-external lock |
$4.36
|
1 |
|
ships same day |
5 |
675-2092
|
TRAY WLDT, DUST [CYCLONE] (Tennant Industrial) |
$304.06
|
1 |
|
usually ships 10-13 days |
6 |
175-6774
|
Screw M10-1 1/2 x 20 hex |
$4.49
|
4 |
|
usually ships 1-5 days |
7 |
999-0032
|
Washer 3/8 USS flat plain finish |
$2.42
|
6 |
|
ships same day |
8 |
475-7411
|
STRAINRELIEF (Tennant Industrial) |
$2.00
|
1 |
|
usually ships 10-13 days |
9 |
575-0895
|
GASKET, TRAY (Tennant Industrial) |
$18.17
|
1 |
|
usually ships 10-13 days |
10 |
999-0783
|
Screw M8-1.25 x 16mm hex head |
$0.99
|
7 |
|
ships same day |
11 |
999-0024
|
Washer 5/16 flat stainless steel |
$1.34
|
8 |
|
ships same day |
12 |
999-0549
|
Washer 5/16 x 3/4 SAE flat stainless steel |
$0.99
|
2 |
|
ships same day |
13 |
675-1925
|
PLATE WLDT, PERMA-FILTER (Tennant Industrial) |
$291.22
|
1 |
|
usually ships 10-13 days |
14 |
475-8058
|
SEAL, FOAM (Tennant Industrial) |
$4.50
|
1 |
|
usually ships 10-13 days |
15 |
575-0893
|
GASKET, TRAY (Tennant Industrial) |
$18.17
|
2 |
|
usually ships 10-13 days |
16 |
575-2437
|
RETAINER, SEAL, DUST, .12 X 0.8W X 33.6L (Tennant Industrial |
$32.84
|
1 |
|
usually ships 10-13 days |
17 |
575-7162
|
SEAL ASSY, PRE-FILTER (Tennant Industrial) |
$93.69
|
1 |
|
usually ships 10-13 days |
18 |
575-2307
|
RETAINER, SEAL, DUST, .12 X 0.8W X 33.6L (Tennant Industrial |
$31.51
|
1 |
|
usually ships 10-13 days |
19 |
575-6604
|
SEAL ASSY, PRE-FILTER (Tennant Industrial) |
$83.02
|
1 |
|
usually ships 10-13 days |
20 |
999-0786
|
Screw M8-1.25 x 35mm hex head stainless steel |
$1.12
|
8 |
|
ships same day |
21 |
999-0471
|
Nut M8-1.25 nylon insert lock zinc plated |
$0.99
|
5 |
|
ships same day |
22 |
175-3168
|
P clamp |
$5.28
|
3 |
|
usually ships 10-13 days |
23 |
999-1352
|
Screw 10-14 x 3/4 phillips pan head plastic thread rolling |
$5.06
|
1 |
|
ships same day |
24 |
999-0006
|
Washer 3/16 flat zinc plated |
$0.99
|
1 |
|
ships same day |
25 |
175-2095
|
Keeper clip |
$4.22
|
3 |
|
usually ships 10-13 days |
26 |
575-3912
|
SPACER, FLTR (Tennant Industrial) |
$41.84
|
1 |
|
usually ships 10-13 days |
27 |
275-9575
|
SCREW, HEX, M8 X 1.25 X 25, 9.8, SEMS (Tennant Industrial) |
$4.17
|
2 |
|
ships same day |
28 |
575-0371
|
BRACKET, TRAY (Tennant Industrial) |
$15.17
|
2 |
|
usually ships 10-13 days |