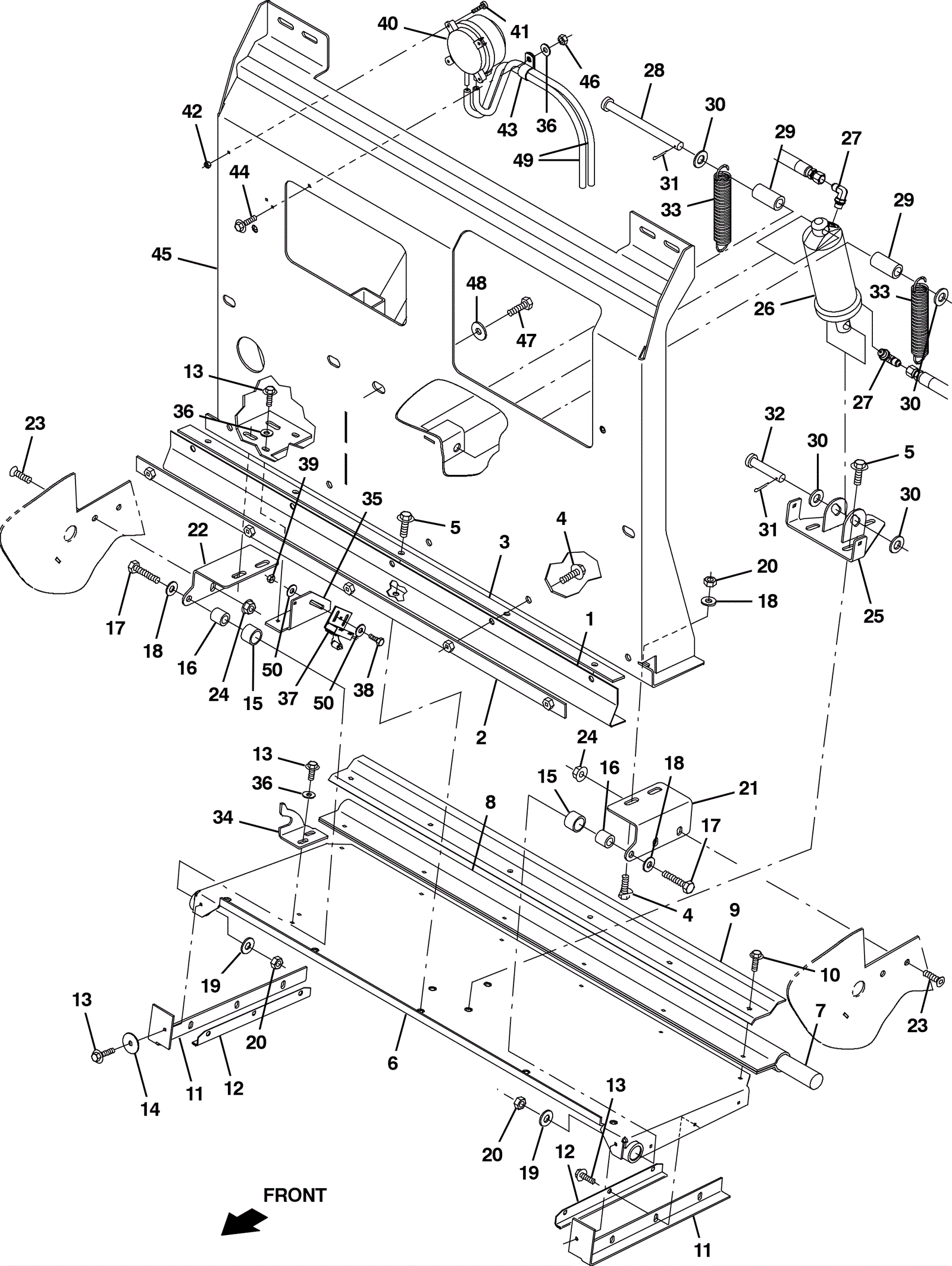
| # | Part | Description | Price | Req | Notes | Availability |
1 |
575-2228
|
SEAL (Tennant Industrial) |
$27.84
|
1 |
|
usually ships 10-13 days |
2 |
575-4233
|
STRIP WLDT, SEAL, DOOR (Tennant Industrial) |
$49.84
|
1 |
|
usually ships 10-13 days |
3 |
575-2602
|
STRIP, RETAINER (Tennant Industrial) |
$32.51
|
1 |
|
usually ships 10-13 days |
4 |
999-0785
|
Screw M8-1.25 x 30mm hex head stainless steel |
$2.24
|
9 |
|
ships same day |
5 |
275-9575
|
SCREW, HEX, M8 X 1.25 X 25, 9.8, SEMS (Tennant Industrial) |
$4.17
|
8 |
|
ships same day |
6 |
675-4033
|
DOOR WLDT, DUMP, HPPR (Tennant Industrial) |
$504.43
|
1 |
|
usually ships 10-13 days |
7 |
575-4099
|
CORD, SPONGE, NEO, 1.0D 36.3L (Tennant Industrial) |
$44.84
|
1 |
|
usually ships 10-13 days |
8 |
575-7582
|
SEAL, RBR, .13 6.34W 36.3L, 12/.28H, RED (Tennant Industrial |
$102.85
|
1 |
|
usually ships 10-13 days |
9 |
575-5126
|
STRIP, RETAINER, DUMP DOOR (Tennant Industrial) |
$62.18
|
1 |
|
usually ships 10-13 days |
10 |
175-0536
|
Bolt M6-1 x 20mm hex head thread forming |
$4.49
|
6 |
|
ships same day |
11 |
475-9775
|
SEAL, RBR, CLSD, 0.13, DOOR, DUMP, SIDE (Tennant Industrial) |
$10.67
|
2 |
|
usually ships 10-13 days |
12 |
575-2613
|
RETAINER, SEAL, HPPR DOOR, SIDE (Tennant Industrial) |
$32.51
|
2 |
|
usually ships 10-13 days |
13 |
175-3298
|
Bolt M6-1 x 12mm hex head |
$4.49
|
12 |
|
ships same day |
14 |
999-1288
|
Washer 1/4 x 1 OD fender stainless steel |
$0.99
|
2 |
|
ships same day |
15 |
375-4483
|
Bushing (Tennant Industrial) |
$20.37
|
2 |
|
usually ships 10-13 days |
16 |
575-4934
|
TUBE, 0.38ID 0.75OD 00.9L, STL (Tennant Industrial) |
$59.18
|
2 |
|
usually ships 10-13 days |
17 |
999-0787
|
Bolt M8-1.25 x 40mm hex head full thread stainless steel |
$2.48
|
2 |
|
ships same day |
18 |
999-0024
|
Washer 5/16 flat stainless steel |
$1.34
|
6 |
|
ships same day |
19 |
999-0032
|
Washer 3/8 USS flat plain finish |
$2.42
|
2 |
|
ships same day |
20 |
999-0471
|
Nut M8-1.25 nylon insert lock zinc plated |
$0.99
|
6 |
|
ships same day |
21 |
575-1208
|
BRACKET, ANGLE, PIVOT, DOOR, DUMP, LH (Tennant Industrial) |
$20.67
|
1 |
|
usually ships 10-13 days |
22 |
575-1207
|
BRACKET, ANGLE, PIVOT, DOOR, DUMP, RH (Tennant Industrial) |
$20.67
|
1 |
|
usually ships 10-13 days |
23 |
999-1324
|
Screw M8-1.25 x 20mm flat head stainless steel |
$0.99
|
4 |
|
ships same day |
24 |
999-0665
|
Nut M8-1.25 flange lock |
$0.99
|
4 |
|
ships same day |
25 |
575-2131
|
BRACKET, MTG, CYL (Tennant Industrial) |
$30.01
|
1 |
|
usually ships 10-13 days |
26 |
175-6917
|
Cylinder (Tennant Industrial) |
$364.91
|
1 |
|
usually ships 10-13 days |
27a |
175-6919
|
Elbow fitting |
$15.40
|
2 |
(before SN 003000) |
usually ships 10-13 days |
27b |
575-3559
|
FITTING, HYD, E90, FM04/OM04 (Tennant Industrial) |
$37.01
|
2 |
(after SN 002999) |
usually ships 10-13 days |
28 |
175-5332
|
Clevis pin 1/2 x 6 |
$10.01
|
1 |
|
usually ships 10-13 days |
29 |
575-1441
|
SPACER, 0.56B 0.88D 1.82L, PL (Tennant Industrial) |
$19.50
|
2 |
|
usually ships 10-13 days |
30 |
999-0114
|
Washer 1/2 SAE flat |
$0.99
|
4 |
|
ships same day |
31 |
175-3281
|
Cotter pin |
$3.30
|
2 |
|
usually ships 10-13 days |
32 |
175-9603
|
Clevis pin |
$5.28
|
1 |
|
usually ships 10-13 days |
33 |
575-2447
|
SPRING, TENS (Tennant Industrial) |
$27.67
|
2 |
|
usually ships 10-13 days |
34 |
575-1142
|
BRACKET, DOOR, INDICATOR (Tennant Industrial) |
$20.00
|
1 |
|
usually ships 10-13 days |
35 |
575-1371
|
BRACKET, DOOR, INDICATOR (Tennant Industrial) |
$21.50
|
1 |
|
usually ships 10-13 days |
36 |
999-0123
|
Washer 1/4 SAE flat zinc plated |
$0.99
|
5 |
|
ships same day |
37 |
275-0140
|
Roller snap switch 15A no |
$143.77
|
1 |
|
usually ships 10-13 days |
28 |
175-0837
|
Bolt M5-.8 x 16mm hex head |
$3.30
|
2 |
|
usually ships 1-5 days |
39 |
175-2894
|
Nut M5-.8 hex nylon locking |
$3.30
|
2 |
|
usually ships 10-13 days |
40 |
375-0758
|
Press switch (Tennant Industrial) |
$116.69
|
1 |
|
usually ships 10-13 days |
41 |
175-5310
|
Screw 4 x 45/64 x 16 pan head |
$4.36
|
2 |
|
usually ships 1-5 days |
42 |
999-0954
|
Nut M4-.7 nylon insert lock stainless steel |
$0.99
|
2 |
|
ships same day |
43 |
175-3168
|
P clamp |
$5.28
|
1 |
|
usually ships 10-13 days |
44 |
999-0779
|
Screw M6-1 x 25mm hex head plain finish |
$0.99
|
1 |
|
ships same day |
45 |
675-4944
|
PLATE WLDT, BACK, HPPR (Tennant Industrial) |
$671.63
|
1 |
|
usually ships 10-13 days |
46 |
999-0469
|
Nut M6-1 nylon insert lock zinc plated |
$1.32
|
1 |
|
ships same day |
47 |
999-0784
|
Screw M8-1.25 x 16mm hex head stainless steel |
$1.74
|
5 |
|
ships same day |
48 |
275-1169
|
Washer .40 x 12mm flat |
$6.27
|
5 |
|
ships same day |
49 |
275-3966
|
HOSE, VACUUM, 0.16ID X 060.0L (Tennant Industrial) |
$47.51
|
1 |
|
usually ships 1-5 days |
50 |
175-5988
|
Washer 13/64 x 1/2 x 5/8 |
$4.36
|
4 |
|
usually ships 1-5 days |