| # | Part | Description | Price | Req | Notes | Availability |
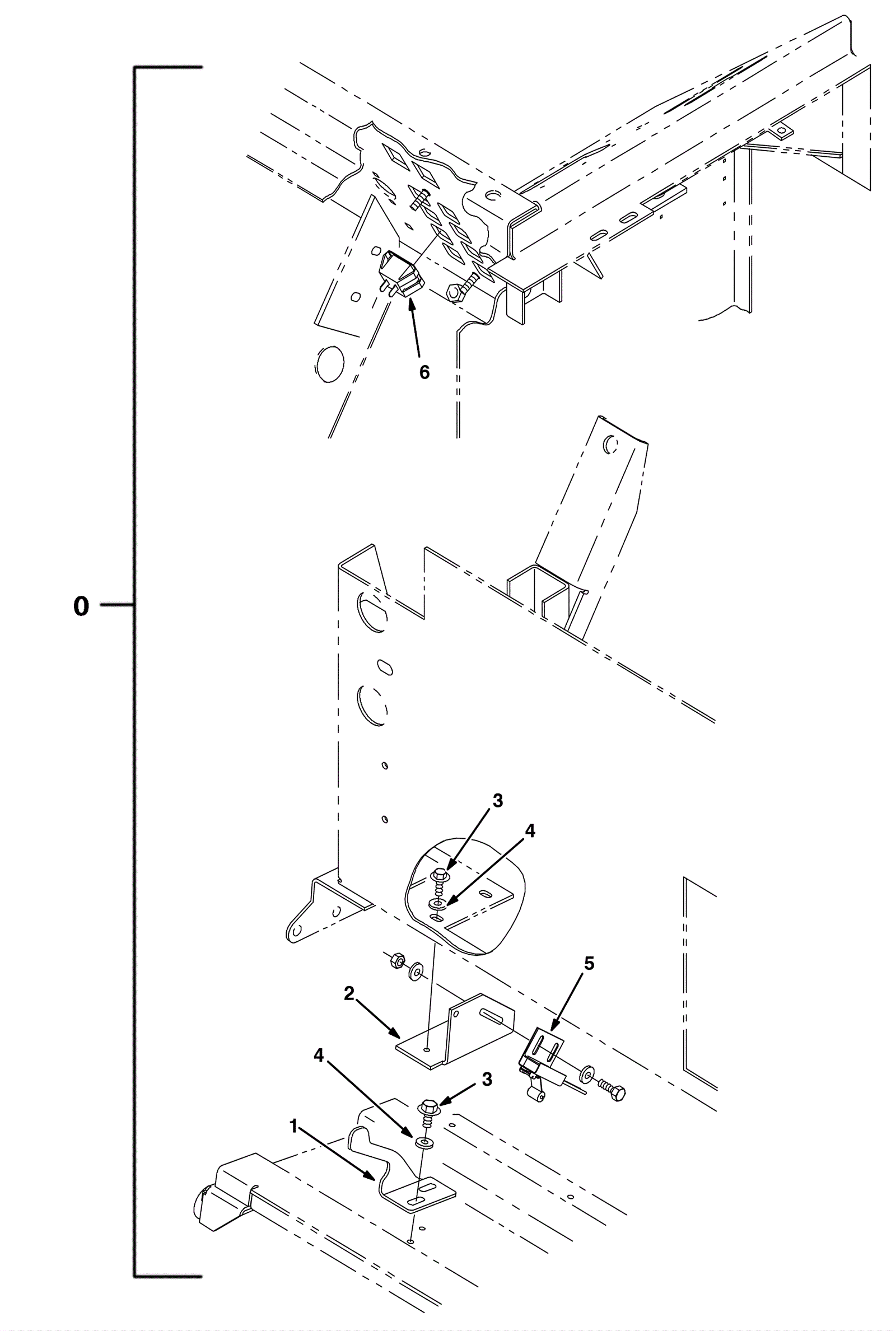
0 |
375-6134
|
Hopper door light kit (OBSOLETE) |
Call for price
|
1 |
(includes 1-6) |
usually ships 10-13 days |
1 |
575-1765
|
BRACKET, DOOR, INDICATOR (Tennant Industrial) |
$26.17
|
1 |
|
usually ships 10-13 days |
2 |
375-6133
|
Bracket (OBSOLETE) |
Call for price
|
1 |
|
usually ships 10-13 days |
3 |
175-3298
|
Bolt M6-1 x 12mm hex head |
$4.49
|
4 |
|
ships same day |
4 |
999-0335
|
Washer 1/4 x 5/8 SAE flat stainless steel |
$0.99
|
4 |
|
ships same day |
5 |
275-0140
|
Roller snap switch 15A no |
$143.77
|
1 |
|
usually ships 10-13 days |
6 |
175-5962
|
LIGHT, PANL, 14VDC, 1.1 X 1.0 (Tennant Industrial) |
$35.67
|
1 |
|
usually ships 1-5 days |