| # | Part | Description | Price | Req | Notes | Availability |
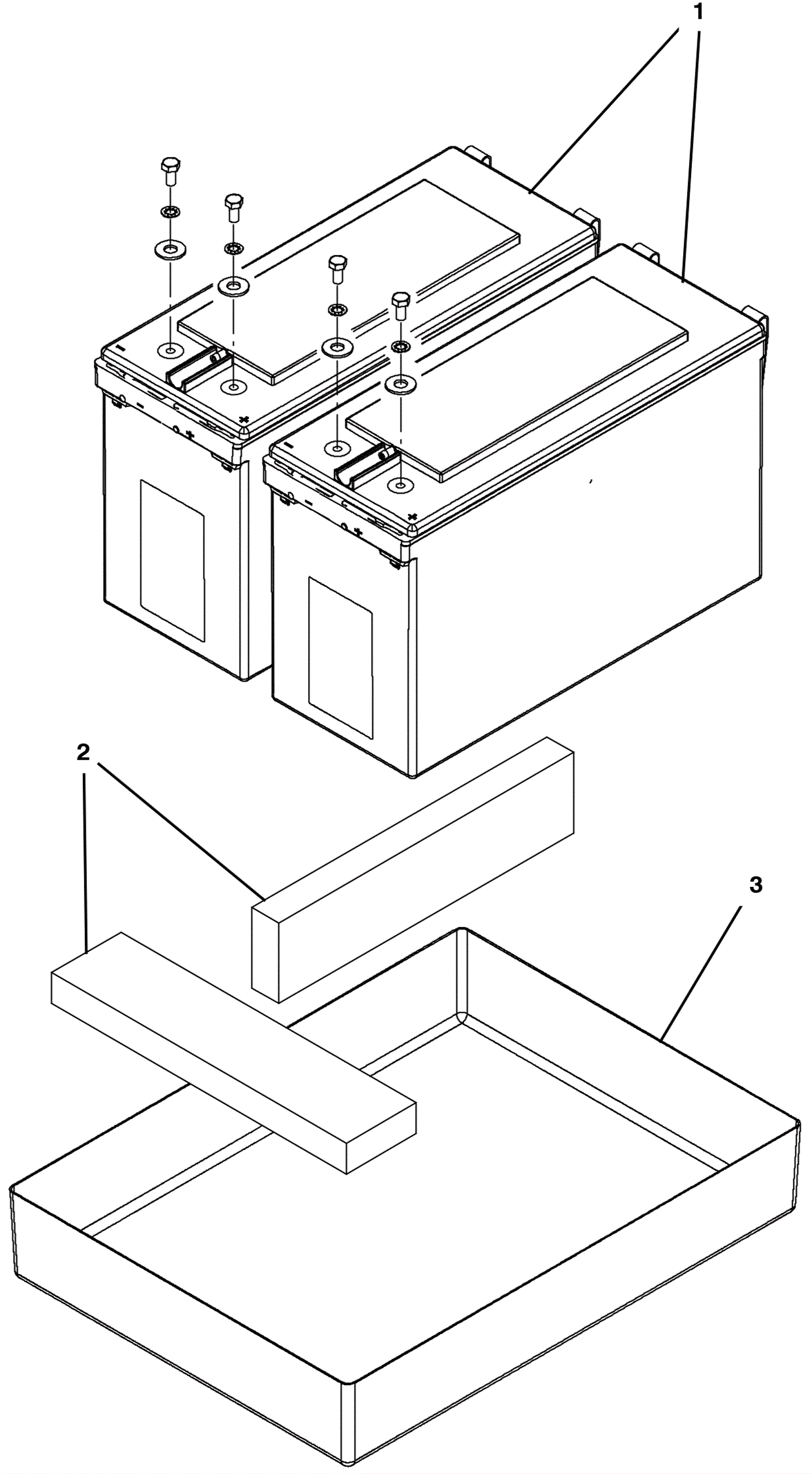
1 |
162-0047
|
12V 215Ah AGM battery (Group J185) (SNSR) |
$907.50
|
2 |
|
usually ships 27-29 days |
2 |
175-1352
|
Battery insert |
$16.94
|
2 |
|
ships same day |
3 |
375-3506
|
Trimmed battery tray |
$49.61
|
1 |
|
usually ships 10-13 days |