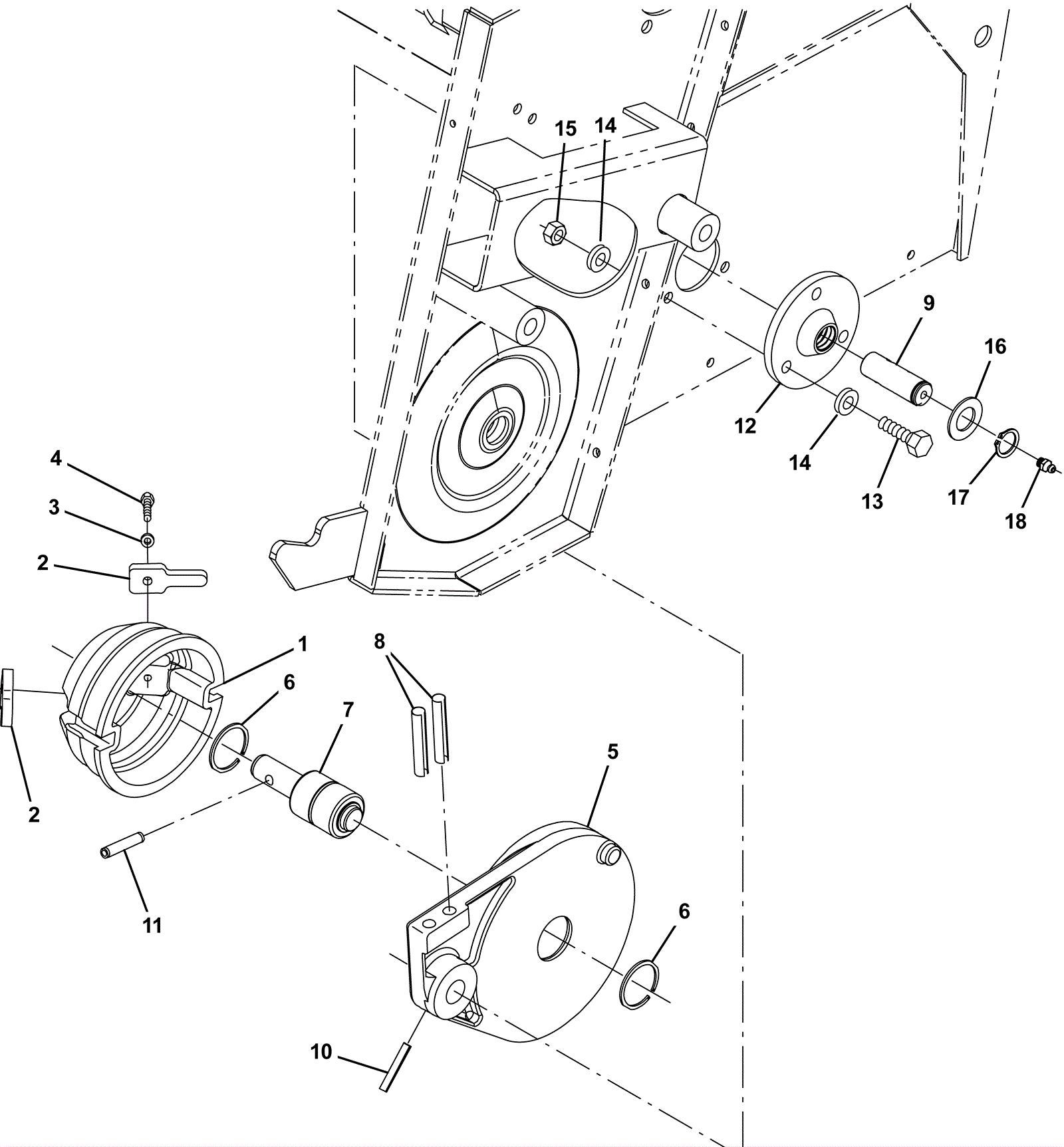
| # | Part | Description | Price | Req | Notes | Availability |
1 |
575-2787
|
PLUG, IDLER, BRUSH (Tennant Industrial) |
$34.51
|
1 |
|
usually ships 10-13 days |
2 |
275-1693
|
FINGER (Tennant Industrial) |
$7.17
|
2 |
|
usually ships 10-13 days |
3 |
999-0006
|
Washer 3/16 flat zinc plated |
$0.99
|
2 |
|
ships same day |
4 |
175-0852
|
Bolt 5mm-.8 x 12 hex head |
$5.28
|
2 |
|
usually ships 10-13 days |
5 |
575-4140
|
ARM (Tennant Industrial) |
$48.01
|
1 |
|
usually ships 10-13 days |
6 |
275-1740
|
RING, RETAINING, INT, 1.18D, [INVERTED] (Tennant Industrial |
$5.67
|
2 |
|
usually ships 1-5 days |
7 |
275-1739
|
BEARING, W/ SHAFT, 1.18D 3.3L 0.63 (Tennant Industrial) |
$260.89
|
1 |
|
usually ships 10-13 days |
8 |
275-1738
|
PIN, ROLL, .312D X 1.87L, .312/.318 (Tennant Industrial) |
$5.50
|
2 |
|
usually ships 1-5 days |
9 |
575-0358
|
SHAFT, SHORT (Tennant Industrial) |
$13.84
|
1 |
|
usually ships 10-13 days |
10 |
275-1737
|
PIN, ROLL, .187D X 1.25L, .187/.192 (Tennant Industrial) |
$4.00
|
1 |
|
usually ships 1-5 days |
11 |
275-1694
|
PIN, ROLL, .250D X 1.25L, .250/.256 (Tennant Industrial) |
$4.00
|
1 |
|
usually ships 1-5 days |
12 |
575-4638
|
BUSHING (Tennant Industrial) |
$49.34
|
1 |
|
usually ships 10-13 days |
13 |
999-0502
|
Bolt M6-1 x 20mm hex head full thread zinc |
$0.99
|
3 |
|
ships same day |
14 |
999-0335
|
Washer 1/4 x 5/8 SAE flat stainless steel |
$0.99
|
6 |
|
ships same day |
15 |
999-0469
|
Nut M6-1 nylon insert lock zinc plated |
$1.32
|
3 |
|
ships same day |
16 |
275-1733
|
Thrust washer |
$8.80
|
1 |
|
usually ships 1-5 days |
17 |
275-1732
|
Retaining ring (Tennant Industrial) |
$4.17
|
1 |
|
usually ships 1-5 days |
18 |
475-9539
|
FITTING, GREASE, STR 6MM (Tennant Industrial) |
$8.34
|
1 |
|
usually ships 10-13 days |