| # | Part | Description | Price | Req | Notes | Availability |
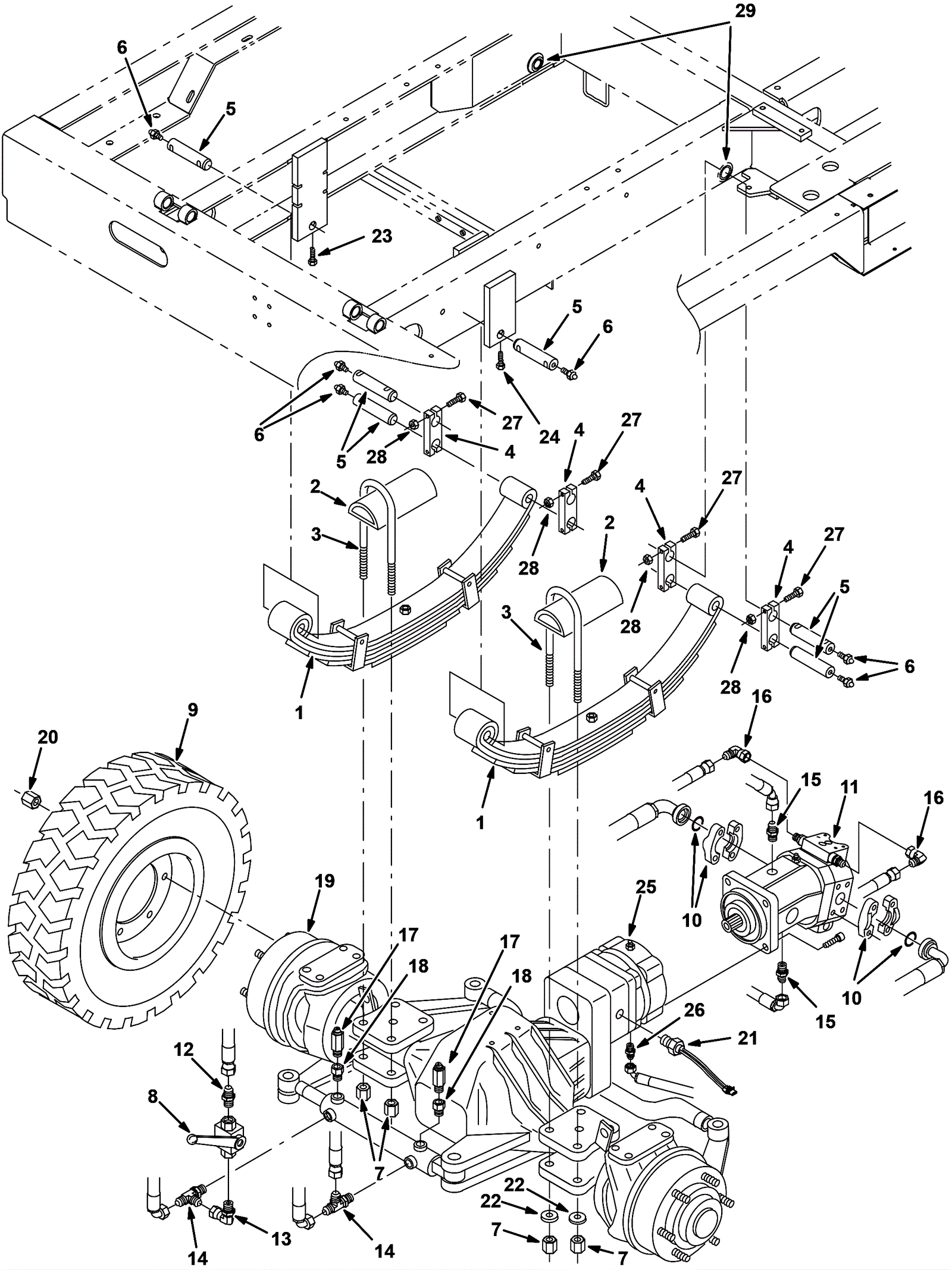
1 |
675-7033
|
SPRING, LEAF, 30.38L, FRONT, 0.401 (Tennant Industrial) |
$1,442.46
|
2 |
|
usually ships 10-13 days |
2 |
575-3594
|
PLATE, SPRING, U BOLT (Tennant Industrial) |
$43.84
|
2 |
|
usually ships 10-13 days |
3 |
575-3929
|
BOLT, U, SPRING, REAR [830] (Tennant Industrial) |
$45.84
|
4 |
|
usually ships 10-13 days |
4 |
575-9578
|
BAR, SHACKLE, SPRING [830, 1PICK=1BAR] (Tennant Industrial) |
$170.70
|
4 |
|
usually ships 10-13 days |
5 |
575-3930
|
PIN, SPRING, LEAF [1PICK=1PC] (Tennant Industrial) |
$45.84
|
6 |
|
usually ships 10-13 days |
6 |
475-9132
|
FITTING, GREASE, STR PM02 .66L (Tennant Industrial) |
$6.83
|
6 |
|
usually ships 10-13 days |
7 |
475-9834
|
NUT, SPCL, U BOLT, .75-16 [DP] (Tennant Industrial) |
$10.50
|
8 |
|
usually ships 10-13 days |
8 |
675-3614
|
VALVE, BALL, OF06/OF06, STL, W/ HANDLE (Tennant Industrial) |
$449.42
|
1 |
|
usually ships 10-13 days |
9A |
675-8035
|
WHEEL ASSY, W/ TIRE, PNEU [1LB] (Tennant Industrial) |
$2,559.68
|
2 |
(includes 9C-9F) |
usually ships 10-13 days |
9B |
275-7144
|
Tire Assy, Radial, 700 X 12, W/ Rim |
$3,306.66
|
2 |
(includes 9C, 9E-9G) |
usually ships 1-5 days |
9C |
375-1647
|
6 bolt wheel with hub (Tennant Industrial) |
$1,120.56
|
1 |
|
usually ships 10-13 days |
9D |
675-5777
|
TIRE, W/ FLAP, 7.00X 12/16PLY (Tennant Industrial) |
$859.01
|
1 |
|
usually ships 10-13 days |
9E |
575-7066
|
INNERTUBE, 7.00 X 12.00 [TR440] (Tennant Industrial) |
$90.18
|
1 |
|
usually ships 10-13 days |
9F |
175-2274
|
Washer .53 steel plated |
$4.49
|
1 |
|
ships same day |
9G |
675-8063
|
TIRE, 7.00X12, RADIAL (Tennant Industrial) |
$2,624.52
|
1 |
|
usually ships 10-13 days |
10 |
575-8066
|
FITTING, HYD, FLNG, 16, SAE62 (Tennant Industrial) |
$111.52
|
2 |
|
usually ships 10-13 days |
11A |
675-9225
|
MOTOR, HYD, PISTON [830] (Tennant Industrial) |
$21,236.75
|
1 |
(replaces 11B) |
usually ships 10-13 days |
11B |
N/A
|
Not available |
Call for price
|
1 |
(hydralic motor) |
usually ships 3-26 days |
12 |
575-2243
|
FITTING, HYD, STR, FM06/FM06 BH (Tennant Industrial) |
$27.84
|
1 |
|
usually ships 10-13 days |
13 |
575-7549
|
FITTING, HYD, E90, FF06/OM06 (Tennant Industrial) |
$98.35
|
1 |
|
usually ships 10-13 days |
14 |
575-5849
|
FITTING, HYD, TEE, FM06/FM06/OM06, RUN (Tennant Industrial) |
$65.51
|
2 |
|
usually ships 10-13 days |
15 |
575-7099
|
FITTING, HYD, STR, OM M18/FM08 (Tennant Industrial) |
$90.35
|
2 |
|
usually ships 10-13 days |
16 |
575-3559
|
FITTING, HYD, E90, FM04/OM04 (Tennant Industrial) |
$37.01
|
2 |
|
usually ships 10-13 days |
17 |
675-0220
|
FITTING, HYD, STR, SPCL (Tennant Industrial) |
$177.87
|
2 |
|
usually ships 10-13 days |
18 |
575-0725
|
FITTING, HYD, STR, OF04/OM06 (Tennant Industrial) |
$15.84
|
2 |
|
usually ships 10-13 days |
19 |
675-9323
|
AXLE, FRONT [13.6:1, 830III] (Tennant Industrial) |
$51,015.03
|
1 |
(includes 20) |
usually ships 10-13 days |
20 |
575-4068
|
VR, NUT, WHEEL, FLNG [830] (Tennant Industrial) |
$44.34
|
12 |
|
usually ships 10-13 days |
21 |
675-4124
|
SENSOR, SPD, 04.5-24VDC (Tennant Industrial) |
$508.60
|
1 |
|
usually ships 10-13 days |
22 |
475-8835
|
WASHER, SPCL, U BOLT, .75 (Tennant Industrial) |
$6.17
|
8 |
|
usually ships 10-13 days |
23 |
275-2831
|
SCREW, HEX, .38-16 X 0.75, G5 (Tennant Industrial) |
$5.67
|
2 |
|
usually ships 1-5 days |
24 |
475-8003
|
SCREW, HEX, .38-16 X 1.25, FL (Tennant Industrial) |
$4.17
|
2 |
|
usually ships 10-13 days |
25A |
675-8741
|
VR, BRAKE, PARKING (Tennant Industrial) |
$5,715.14
|
1 |
(includes 25B) |
usually ships 10-13 days |
25B |
675-5956
|
VR, BRAKE KIT, PARKING (Tennant Industrial) |
$916.02
|
1 |
|
usually ships 10-13 days |
26 |
475-9843
|
FITTING, HYD, STR, FM04/OM04 (Tennant Industrial) |
$9.84
|
1 |
|
usually ships 10-13 days |
27 |
475-8713
|
SCREW, HEX, .38-16 X 2.00, G5 (Tennant Industrial) |
$5.67
|
8 |
|
usually ships 10-13 days |
28 |
999-0324
|
Nut 3/8-16 nylon insert lock jam zinc plated |
$0.99
|
8 |
|
ships same day |
29 |
575-6772
|
BUSHING, 1.125 X .875 X 3.00 (Tennant Industrial) |
$83.18
|
2 |
|
usually ships 10-13 days |