| # | Part | Description | Price | Req | Notes | Availability |
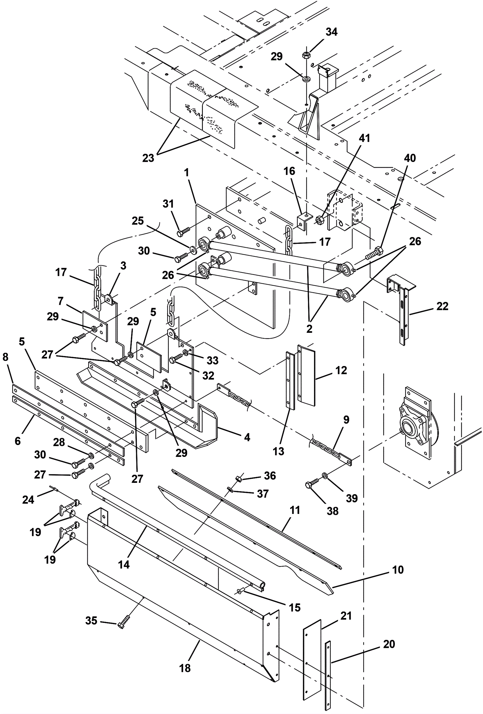
1 |
675-6836
|
PLATE WLDT, CAGE, RH (Tennant Industrial) |
$1,462.63
|
1 |
|
usually ships 10-13 days |
2 |
675-5864
|
LINK, SPPT, BRUSH (Tennant Industrial) |
$872.01
|
2 |
|
usually ships 10-13 days |
3 |
675-6162
|
PLATE WLDT, SPPT, RH (Tennant Industrial) |
$1,089.22
|
1 |
|
usually ships 10-13 days |
4A |
675-8974
|
SHOE WLDT KIT, DIRT, CARBIDE, REPLMT (Tennant Industrial) |
$8,774.42
|
1 |
(includes 4B-6) |
usually ships 10-13 days |
4B |
675-8358
|
SHOE WLDT, DIRT, CARBIDE, RH (Tennant Industrial) |
$3,625.39
|
1 |
|
usually ships 10-13 days |
4C |
675-8364
|
SHOE WLDT, DIRT, CARBIDE, LH (Tennant Industrial) |
$3,651.40
|
1 |
|
usually ships 10-13 days |
5 |
575-8344
|
STRIP, SKID, URE, 24.1L (Tennant Industrial) |
$130.86
|
1 |
|
usually ships 10-13 days |
6 |
575-9176
|
STRIP, RETAINER, LOWER (Tennant Industrial) |
$156.03
|
1 |
|
usually ships 10-13 days |
7 |
575-4481
|
PLATE, GUIDE, BRUSH (Tennant Industrial) |
$55.34
|
2 |
|
usually ships 10-13 days |
8 |
575-9905
|
STRIP, RETAINER, UPPER (Tennant Industrial) |
$183.87
|
1 |
|
usually ships 10-13 days |
9 |
575-6204
|
CHAIN WLDT, BRUSH, CAGE (Tennant Industrial) |
$79.18
|
1 |
|
usually ships 10-13 days |
10 |
575-9018
|
SKIRT, GUM, .18, 09.62W 39.17L, 05/ HOLE (Tennant Industrial |
$133.86
|
1 |
|
usually ships 10-13 days |
11 |
575-8291
|
RETAINER, SKIRT, .19, 0.8W X 38.8L, BLK (Tennant Industrial) |
$129.69
|
1 |
|
usually ships 10-13 days |
12 |
575-1344
|
SEAL, DOOR, BRUSH, VERTICAL (Tennant Industrial) |
$21.34
|
1 |
|
usually ships 10-13 days |
13 |
575-5513
|
RETAINER, SEAL, DOOR, BRUSH, VERTICAL (Tennant Industrial) |
$70.51
|
2 |
|
usually ships 10-13 days |
14 |
375-4362
|
8 foot bulb seal (Tennant Industrial) |
$163.03
|
1 |
|
usually ships 10-13 days |
15 |
475-7586
|
RIVET, BLIND, .154D X 0.68 X .49D, ALM (Tennant Industrial) |
$2.83
|
5 |
|
usually ships 10-13 days |
16 |
575-1955
|
BRACKET, ANGLE, SKID (Tennant Industrial) |
$27.01
|
2 |
|
usually ships 10-13 days |
17 |
575-1345
|
CHAIN, COIL, STR, 2/0, 16.9L 13 LINK (Tennant Industrial) |
$19.17
|
2 |
|
usually ships 10-13 days |
18 |
675-5619
|
COVER, DOOR, BRUSH, RH (Tennant Industrial) |
$879.34
|
1 |
|
usually ships 10-13 days |
19 |
575-5093
|
LATCH, T HANDLE (Tennant Industrial) |
$58.01
|
2 |
|
usually ships 10-13 days |
20 |
575-8575
|
BAR, FLAT, 0.18, 1.00 X 13.50L, 3/.38H (Tennant Industrial) |
$136.03
|
1 |
|
usually ships 10-13 days |
21 |
575-2245
|
SEAL, BRUSH, DOOR (Tennant Industrial) |
$29.34
|
1 |
|
usually ships 10-13 days |
22 |
675-1852
|
SUPPORT WLDT, BRUSH, RH (Tennant Industrial) |
$299.06
|
1 |
|
usually ships 10-13 days |
23 |
575-0068
|
TREAD, NON-SKID, 07.5W 12.0L (Tennant Industrial) |
$11.17
|
2 |
|
usually ships 10-13 days |
24 |
175-8920
|
Blind rivet |
$5.41
|
8 |
|
usually ships 1-5 days |
25 |
375-4024
|
Washer (Tennant Industrial) |
$6.67
|
2 |
|
usually ships 10-13 days |
26 |
175-6778
|
FITTING, GREASE, STR PM04 .63L (Tennant Industrial) |
$9.50
|
4 |
|
usually ships 10-13 days |
27 |
999-0581
|
Bolt M8-1.25 x 25mm hex head full thread zinc |
$0.99
|
10 |
|
ships same day |
28 |
475-8844
|
WASHER, FLAT, BELLEVILLE, M8 (Tennant Industrial) |
$3.60
|
14 |
|
usually ships 10-13 days |
29 |
999-0123
|
Washer 1/4 SAE flat zinc plated |
$0.99
|
9 |
|
ships same day |
30 |
999-1133
|
Bolt M8-1.25 x 20mm hex head full thread plain |
$0.99
|
7 |
|
ships same day |
31 |
999-0248
|
Bolt M8-1.25 x 30mm hex head full thread plain finish |
$0.99
|
2 |
|
ships same day |
32 |
999-0502
|
Bolt M6-1 x 20mm hex head full thread zinc |
$0.99
|
3 |
|
ships same day |
33 |
999-1261
|
Washer M6 flat stainless steel |
$0.99
|
3 |
|
ships same day |
34 |
999-0471
|
Nut M8-1.25 nylon insert lock zinc plated |
$0.99
|
4 |
|
ships same day |
35 |
999-1312
|
Screw M6-1 x 20mm hex head stainless steel |
$0.99
|
10 |
|
ships same day |
36 |
999-0497
|
Nut M6-1 nylon insert lock stainless steel |
$0.99
|
10 |
|
ships same day |
37 |
999-0335
|
Washer 1/4 x 5/8 SAE flat stainless steel |
$0.99
|
10 |
|
ships same day |
39 |
275-0035
|
Nut M12-1.75 hex standard |
$4.36
|
1 |
|
usually ships 10-13 days |
40 |
475-9758
|
SCREW, HEX, M20 X 2.50 X 60, 8.8 (Tennant Industrial) |
$9.50
|
2 |
|
usually ships 10-13 days |
41 |
475-9844
|
NUT, HEX, LOCK, M20 X 2.5, NL (Tennant Industrial) |
$9.84
|
2 |
|
usually ships 10-13 days |