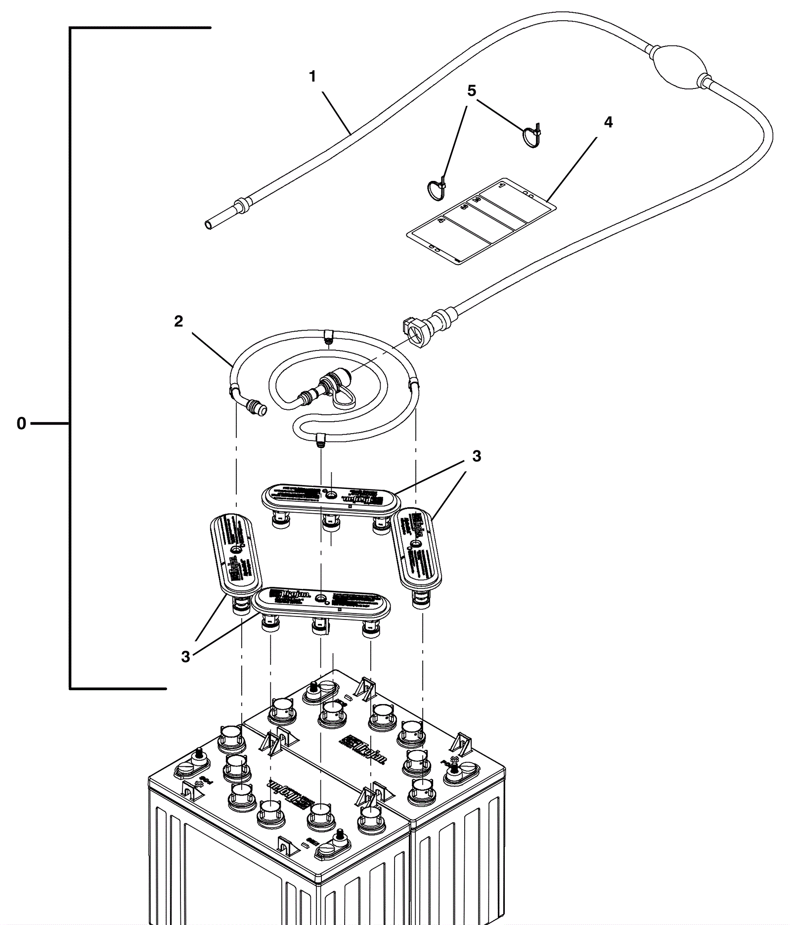
| # | Part | Description | Price | Req | Notes | Availability |
0 |
375-0278
|
24V battery fill kit |
$461.56
|
1 |
(includes 1-5) (for use only with 150Ah Trojan batteries) |
ships same day |
1 |
275-6999
|
Battery fill pump kit |
$156.53
|
1 |
|
ships same day |
2 |
375-3448
|
24V battery water tube |
$188.54
|
1 |
|
ships same day |
3 |
375-0001
|
Battery fill cap |
$45.76
|
4 |
|
ships same day |
4 |
375-0002
|
Battery tag decal |
$8.14
|
1 |
|
usually ships 1-5 days |
5 |
175-7795
|
Cable tie |
$5.15
|
2 |
|
ships same day |