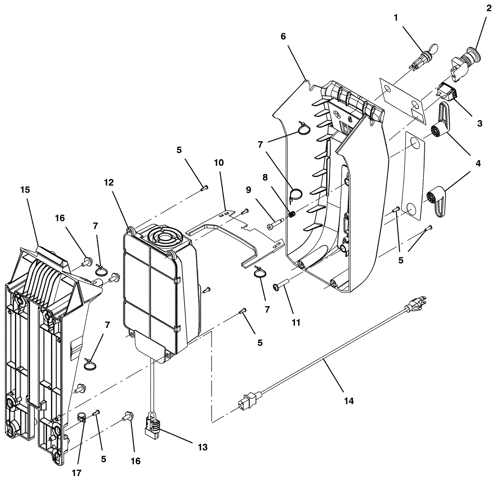
| # | Part | Description | Price | Req | Notes | Availability |
1a |
175-7872
|
Key switch with 2 keys |
$53.13
|
1 |
(includes 1b) |
ships same day |
1b |
991-1634
|
Key (pkg of 2) |
$14.21
|
1 |
|
ships same day |
2 |
275-1416
|
Safety shut-off switch |
$43.67
|
1 |
|
ships same day |
3 |
275-9900
|
Hour meter |
$57.64
|
1 |
|
usually ships 10-13 days |
4 |
275-5449
|
Cord hook |
$3.30
|
2 |
|
usually ships 10-13 days |
5 |
999-1403
|
Screw M8 x 16mm torx head |
$2.90
|
7 |
|
ships same day |
6 |
275-5444
|
Console cover |
$323.40
|
1 |
|
usually ships 10-13 days |
7 |
175-7795
|
Cable tie |
$5.15
|
1 |
|
ships same day |
8 |
175-7507
|
Compression spring |
$4.49
|
1 |
|
ships same day |
9 |
175-9855
|
Bolt M6-.8 x 30mm shield |
$8.25
|
4 |
|
usually ships 10-13 days |
10 |
275-5448
|
Charger cover |
$13.20
|
1 |
|
usually ships 1-5 days |
11 |
375-9373
|
Screw M6 x 1 x 30, 10.9 |
$1.45
|
2 |
|
usually ships 10-13 days |
12 |
275-5447
|
36V 25amp onboard battery charger |
$1,323.63
|
1 |
(includes 13) |
ships same day |
13 |
991-2105
|
SB50 50amp charger plug with pins (gray) |
$7.19
|
2 |
|
ships same day |
14 |
275-5446
|
16/3 power cord 15 foot (black) |
$60.39
|
1 |
|
ships same day |
15 |
375-0185
|
Control column frame |
$265.74
|
1 |
|
usually ships 1-5 days |
16 |
275-4736
|
Screw M8-1.25 x 20mm hex washer head stainless steel SEMS |
$4.49
|
4 |
|
ships same day |
17 |
275-5443
|
P clamp |
$5.61
|
1 |
|
usually ships 1-5 days |