| # | Part | Description | Price | Req | Notes | Availability |
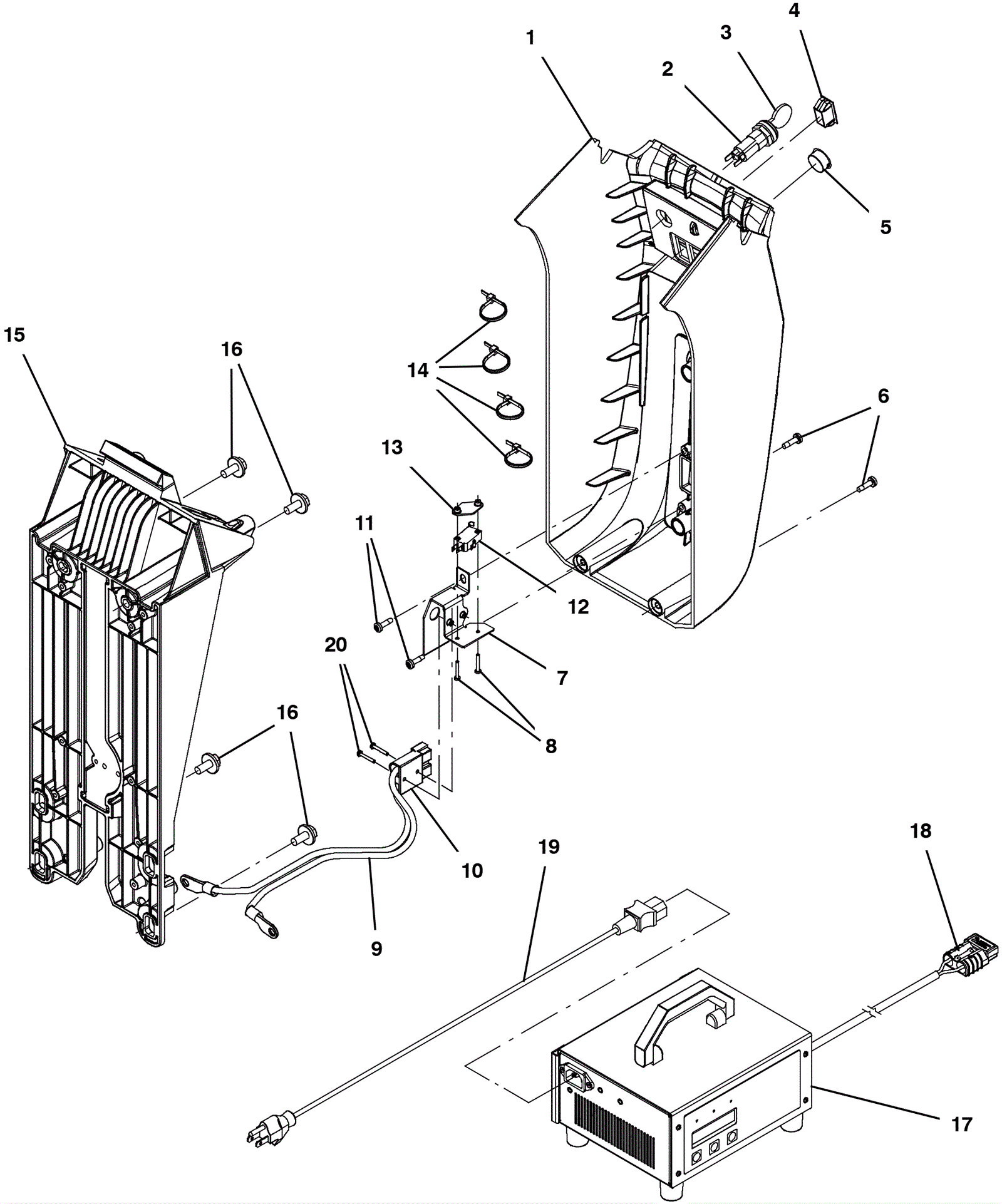
1 |
375-0182
|
Control column cover |
$158.29
|
1 |
|
usually ships 1-5 days |
2 |
175-7872
|
Key switch with 2 keys |
$53.13
|
1 |
(includes 3) |
usually ships 1-5 days |
3 |
991-1634
|
Key (pkg of 2) |
$14.21
|
1 |
|
ships same day |
4 |
175-3126
|
Plug |
$5.28
|
1 |
|
usually ships 10-13 days |
5 |
175-2698
|
Switch plug |
$6.49
|
1 |
|
ships same day |
6 |
175-7660
|
Screw #10-14 x .675 shoulder self-tapping |
$3.30
|
2 |
|
usually ships 10-13 days |
7 |
375-0046
|
Charger plug bracket |
$32.45
|
1 |
|
usually ships 10-13 days |
8 |
999-1040
|
Screw M3-.5 x 20mm pan head |
$0.99
|
2 |
|
ships same day |
9 |
475-1496
|
HARNESS, CHRGR, 12GA [M8 RING/M8 RING] |
$51.37
|
1 |
(includes 10) |
ships same day |
10 |
991-9284
|
50amp charger plug SB50 with pins (red) |
$7.19
|
1 |
|
usually ships 1-5 days |
11 |
175-7660
|
Screw #10-14 x .675 shoulder self-tapping |
$3.30
|
2 |
|
usually ships 10-13 days |
12 |
375-0226
|
Mircroswitch |
$11.11
|
1 |
|
ships same day |
13 |
175-7839
|
Switch plate |
$36.08
|
1 |
|
usually ships 10-13 days |
14 |
175-7795
|
Cable tie |
$5.15
|
2 |
|
ships same day |
15 |
375-3182
|
Column frame |
$120.78
|
1 |
|
usually ships 10-13 days |
16 |
275-4736
|
Screw M8-1.25 x 20mm hex washer head stainless steel SEMS |
$4.49
|
4 |
|
ships same day |
17 |
375-0186
|
24V battery charger |
$606.21
|
1 |
(includes 18) |
usually ships 10-13 days |
18 |
991-9284
|
50amp charger plug SB50 with pins (red) |
$7.19
|
1 |
|
usually ships 1-5 days |
19 |
275-1585
|
16/3 charger power cord 15 foot (black) |
$80.83
|
1 |
|
usually ships 1-5 days |
20 |
999-1040
|
Screw M3-.5 x 20mm pan head |
$0.99
|
2 |
|
ships same day |