S16
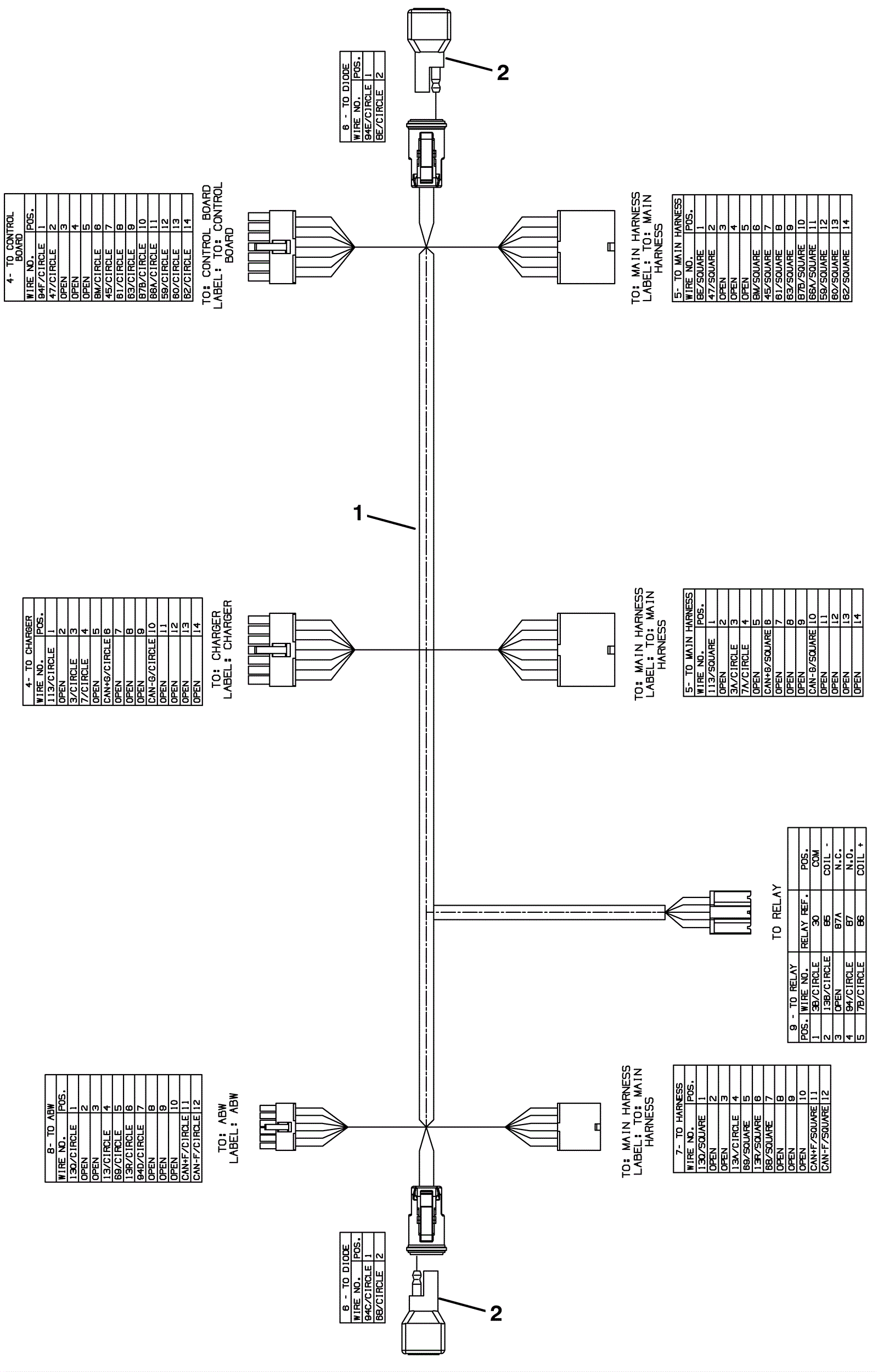
Telemetry Wire Harness Assembly-Optional
Click to enlarge
#
Part
Description
Price
Req
Notes
Availability
1
375-8463
Adaptor harness
$1,213.74
1
usually ships 10-13 days
2
275-7853
Diode plug (Tennant Industrial)
$25.34
2
usually ships 1-5 days