S16
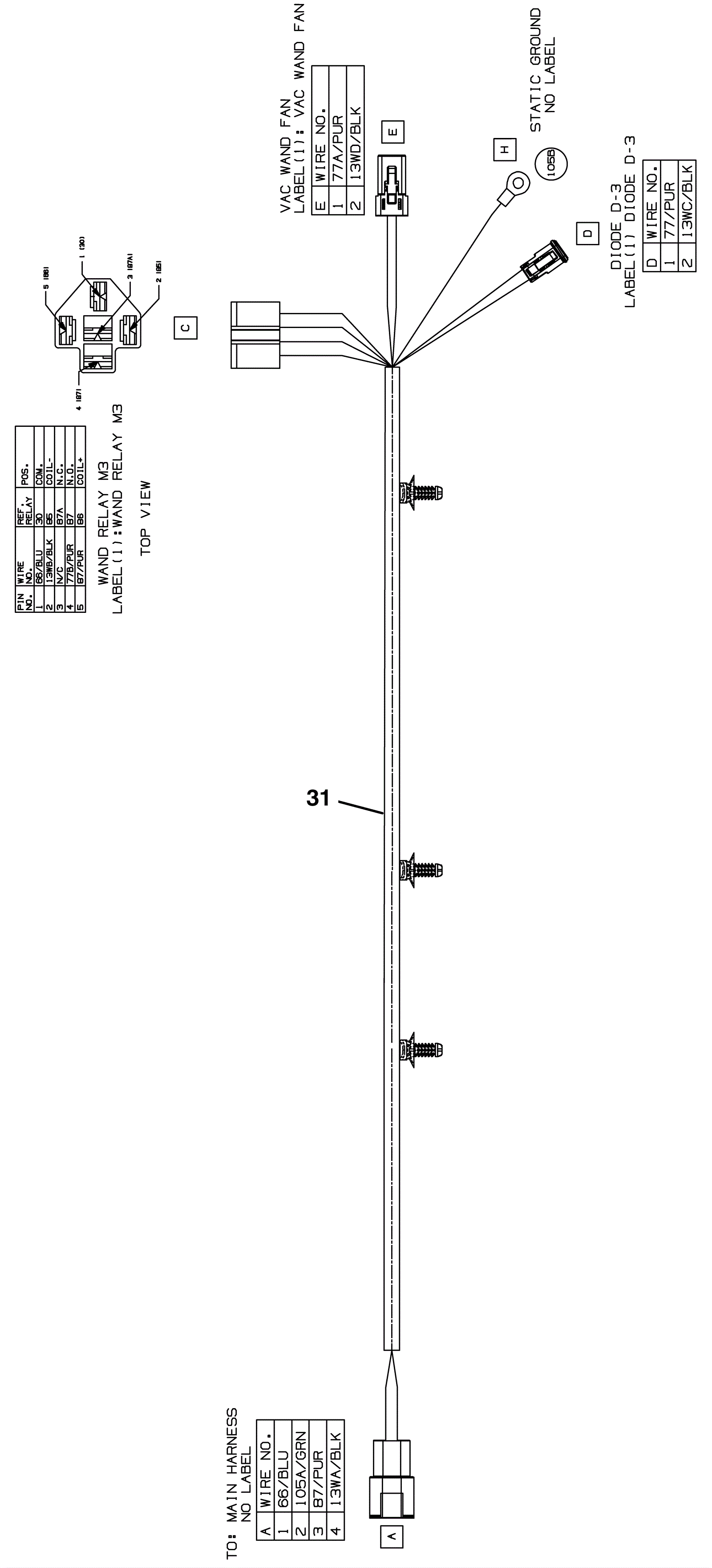
Vacuum Wand Box and Fan Wiring Harness Assembly-Optional
Click to enlarge
#
Part
Description
Price
Req
Notes
Availability
31
375-8401
Wand harness
$143.88
1
usually ships 10-13 days