| # | Part | Description | Price | Req | Notes | Availability |
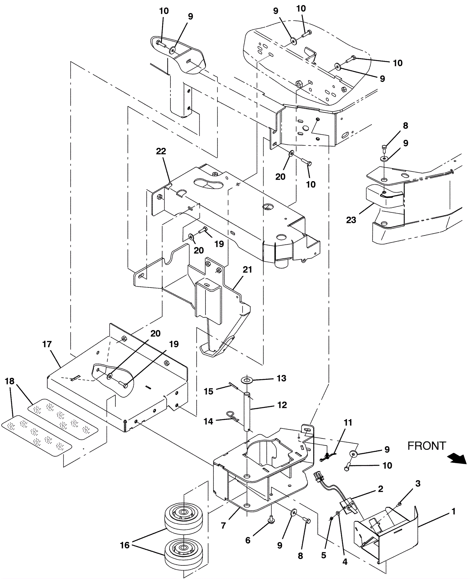
1 |
375-0109
|
Nozzle bracket weldment |
$337.57
|
1 |
|
usually ships 10-13 days |
2 |
675-0169
|
SWITCH, LIMIT, N.C. [CPI, SPST, 280 MP] (Tennant Industrial) |
$174.03
|
1 |
|
usually ships 10-13 days |
3 |
999-1671
|
Screw M5-.8 x 20mm pan head phillips stainless steel |
$0.99
|
2 |
|
ships same day |
4 |
999-0998
|
Washer #10 flat stainless steel |
$0.99
|
2 |
|
ships same day |
5 |
175-2894
|
Nut M5-.8 hex nylon locking |
$3.30
|
2 |
|
usually ships 10-13 days |
6 |
275-4736
|
Screw M8-1.25 x 20mm hex washer head stainless steel SEMS |
$4.49
|
4 |
|
ships same day |
7 |
375-0180
|
Roller bracket weldment |
$491.60
|
1 |
|
usually ships 10-13 days |
8 |
999-0499
|
Bolt M8-1.25 x 20mm hex head full thread stainless steel |
$1.85
|
3 |
|
ships same day |
9 |
175-7920
|
Washer M8 flat stainless steel |
$4.49
|
10 |
|
ships same day |
10 |
999-0785
|
Screw M8-1.25 x 30mm hex head stainless steel |
$2.24
|
9 |
|
ships same day |
11 |
275-5197
|
Fir tree clip |
$2.38
|
1 |
|
usually ships 10-13 days |
12 |
575-3990
|
PIN, .75D X 5.88L (Tennant Industrial) |
$43.01
|
1 |
|
usually ships 10-13 days |
13 |
275-0810
|
Washer |
$5.50
|
1 |
|
usually ships 1-5 days |
14 |
175-2106
|
Cotter hair pin |
$4.49
|
1 |
|
ships same day |
15 |
375-0341
|
Roll pin (Tennant Industrial) |
$4.17
|
1 |
|
usually ships 1-5 days |
16 |
275-5658
|
Wheel (gray) (Tennant Industrial) |
$42.51
|
2 |
|
usually ships 10-13 days |
17 |
375-0233
|
Step bracket weldment |
$658.80
|
1 |
|
usually ships 10-13 days |
18 |
475-8760
|
TREAD, NON-SKID-STEP, 3.75W 8.5L, SBA (Tennant Industrial) |
$5.67
|
2 |
|
usually ships 10-13 days |
19 |
999-0501
|
Bolt M8-1.25 x 25mm hex head full thread stainless steel |
$2.64
|
4 |
|
ships same day |
20 |
999-0355
|
Washer 3/8 x 7/8 SAE flat stainless steel |
$0.99
|
6 |
|
ships same day |
21 |
675-2969
|
BRACKET WLDT, SKID, ANTI-ROLL (Tennant Industrial) |
$378.58
|
1 |
|
usually ships 10-13 days |
22 |
675-4874
|
COVER WLDT, SBA (Tennant Industrial) |
$656.30
|
1 |
|
usually ships 10-13 days |
23 |
375-0324
|
Cover plate weldment |
$109.52
|
1 |
|
usually ships 10-13 days |