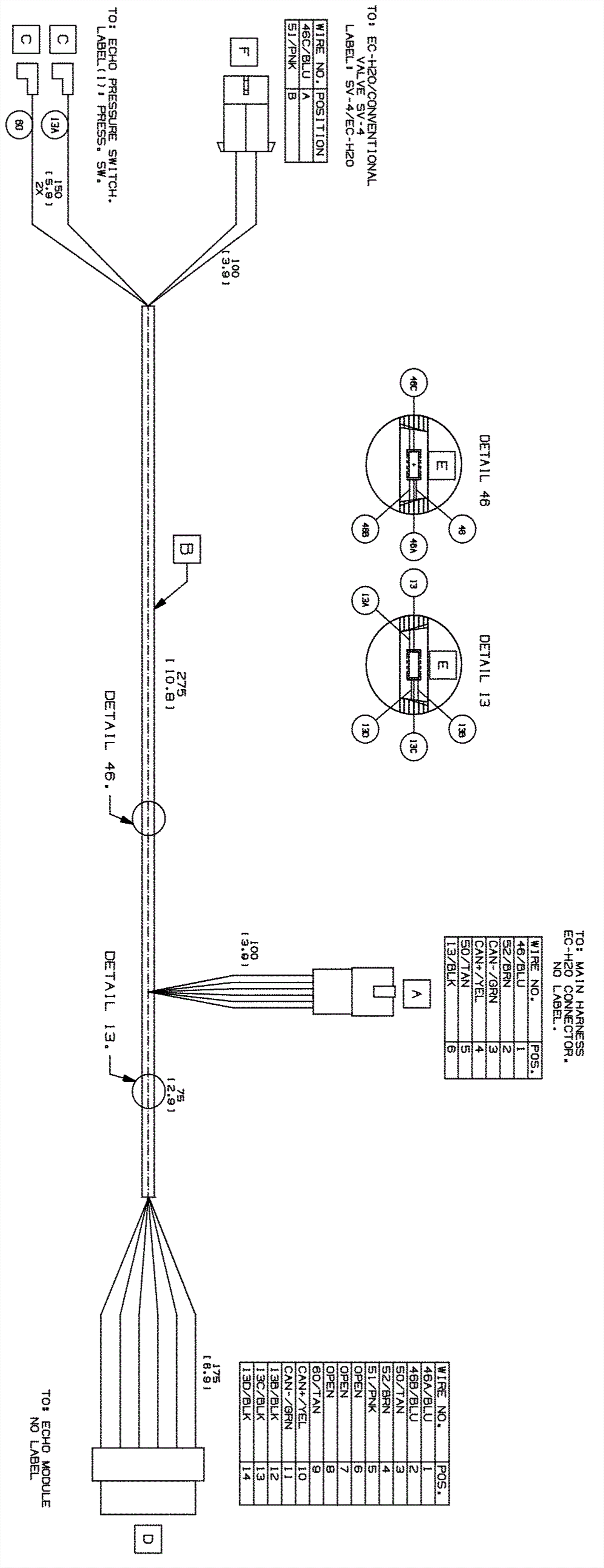
ec-H2O Wire Harness Assembly
Click to enlarge
#
Part
Description
Price
Req
Notes
Availability
1
275-7809
Ec-H20 wire harness
$63.58
1
usually ships 1-5 days