| # | Part | Description | Price | Req | Notes | Availability |
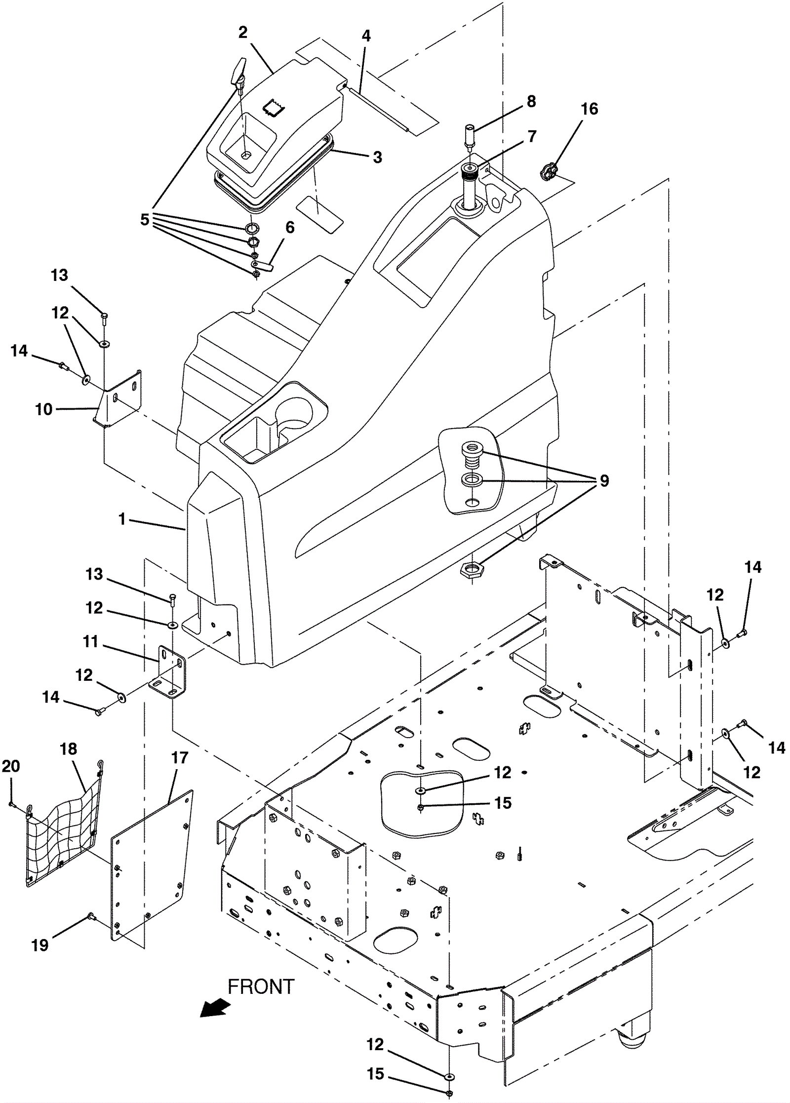
1 |
675-7835
|
TANK, SOLTN, AFMKT [T17] (Tennant Industrial) |
$2,383.81
|
1 |
|
usually ships 10-13 days |
2 |
675-3822
|
COVER ASSY, TANK, SOL, AFMKT [T17] (Tennant Industrial) |
$476.10
|
1 |
|
usually ships 10-13 days |
3 |
375-3230
|
Dual seal (Tennant Industrial) |
$26.51
|
1 |
|
ships same day |
4 |
275-5491
|
8 1/2 inch round plastic bar (Tennant Industrial) |
$7.17
|
1 |
|
usually ships 1-5 days |
5 |
175-0673
|
HANDLE (Tennant Industrial) |
$147.03
|
1 |
|
usually ships 1-5 days |
6 |
475-8074
|
BRACKET, PAWL, HANDLE (Tennant Industrial) |
$4.50
|
1 |
|
usually ships 10-13 days |
7 |
575-7559
|
TUBE ASSY, 34.2L (Tennant Industrial) |
$97.02
|
1 |
|
usually ships 10-13 days |
8 |
275-6295
|
Pressure sensor (TENNANT INDUSTRIAL) |
$458.26
|
1 |
|
usually ships 10-13 days |
9 |
175-9552
|
Plastic fitting |
$23.54
|
1 |
|
ships same day |
10a |
575-5392
|
BRACKET, MTG, TANK, SOLTN, RH (Tennant Industrial) |
$65.85
|
1 |
(before SN 011000) |
usually ships 10-13 days |
10b |
575-5318
|
BRACKET, MTG, TANK, SOLTN, RH (Tennant Industrial) |
$64.85
|
1 |
(after SN 010999) |
usually ships 10-13 days |
11 |
575-1603
|
BRACKET, MTG, TANK, SOLTN, FRONT (Tennant Industrial) |
$25.01
|
14 |
|
usually ships 10-13 days |
12 |
175-7920
|
Washer M8 flat stainless steel |
$4.49
|
4 |
|
ships same day |
13 |
999-0501
|
Bolt M8-1.25 x 25mm hex head full thread stainless steel |
$2.64
|
6 |
|
ships same day |
14 |
999-0499
|
Bolt M8-1.25 x 20mm hex head full thread stainless steel |
$1.85
|
4 |
|
ships same day |
15 |
999-0496
|
Nut M8-1.25 nylon insert lock stainless steel |
$1.34
|
1 |
|
ships same day |
16 |
175-3415
|
Solution tank plug |
$20.68
|
1 |
|
usually ships 1-5 days |
17 |
575-5575
|
PLATE WLDT, MESH (Tennant Industrial) |
$68.68
|
1 |
|
usually ships 10-13 days |
18 |
575-5858
|
MESH ASSY, CLOTH [T17] (Tennant Industrial) |
$68.01
|
4 |
|
usually ships 10-13 days |
19 |
475-8751
|
SCREW, PAN, PHL, M8 X 1.25 X 16, BLK (Tennant Industrial) |
$5.33
|
5 |
|
usually ships 10-13 days |
20 |
999-0901
|
Screw M5-.8 x 16mm pan head phillips stainless steel |
$0.99
|
5 |
|
ships same day |