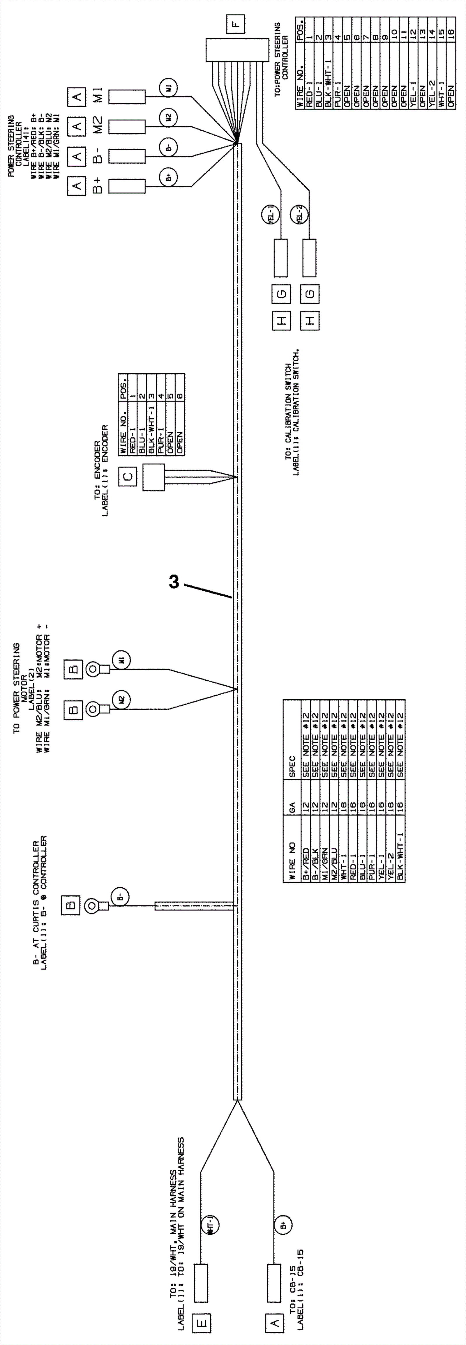
T17
Power Steering Wire Harness Assembly after SN 010999
Click to enlarge
#
Part
Description
Price
Req
Notes
Availability
3
575-9157
HARNESS, ELE [STEERING, M17/T17] (Tennant Industrial)
$149.03
1
(after SN 010999)
usually ships 10-13 days