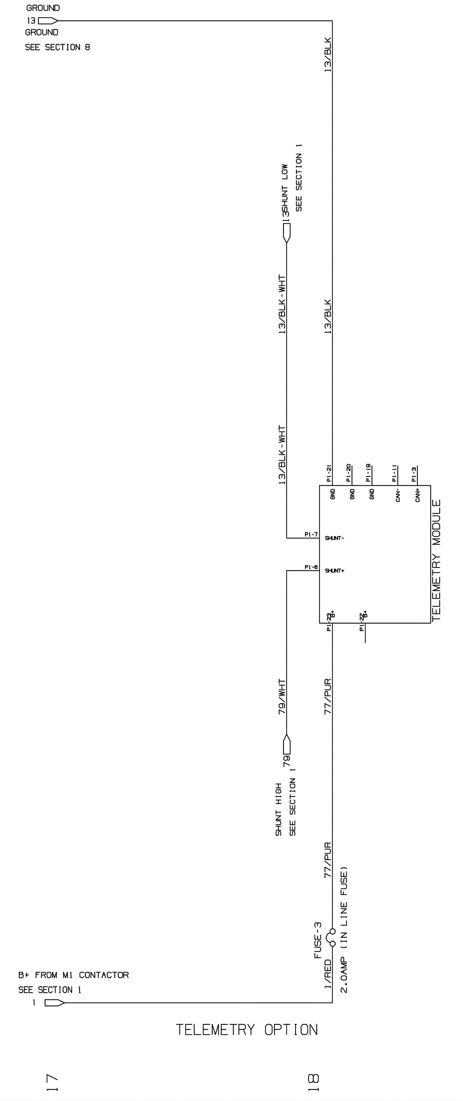
Electrical Schematic Before SN 026722 - Part 5
Click to enlarge