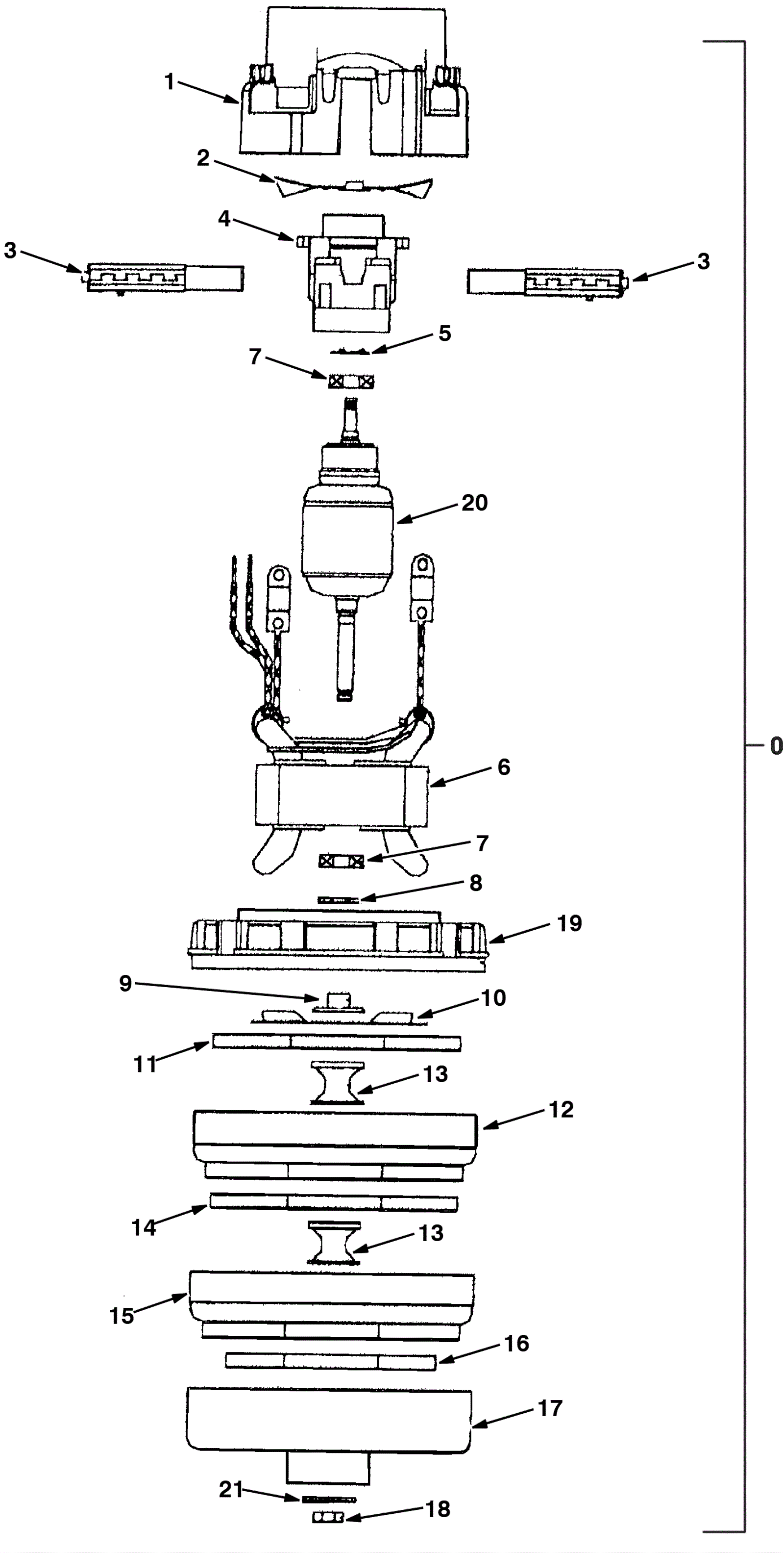
T7 Vacuum Motor Breakdown Assembly

#PartDescriptionPriceReqNotesAvailability
0 275-8003 24V 3 stage vacuum motor $242.98 1 (includes 1-21) usually ships 14-22 days
1 175-5275 Housing $23.54 1 usually ships 10-13 days
2 175-5276 Fan $5.61 1 usually ships 10-13 days
3 175-7791 Carbon brush (pkg of 2) $39.82 1 ships same day
4 175-5278 Commuicator bracket (OBSOLETE) $7.05 1 usually ships 10-13 days
5 175-5279 Spring $3.96 1 usually ships 1-5 days
6 275-8251 Commutator $219.34 1 usually ships 1-5 days
7 175-5281 Bearing $36.85 2 usually ships 10-13 days
8 275-8252 Washer $9.68 1 usually ships 1-5 days
9 175-5283 Spacer $9.35 1 usually ships 1-5 days
10 175-5284 Fan $7.15 1 usually ships 1-5 days
11 275-8253 Fan impeller $21.12 1 usually ships 1-5 days
12 275-8254 VR, FAN (Tennant Industrial) $34.84 1 usually ships 1-5 days
13 175-5286 Spacer $8.69 2 usually ships 1-5 days
14 175-5285 Vacuum fan $14.96 1 usually ships 10-13 days
15 175-5288 Stationary fan $25.63 1 usually ships 1-5 days
16 275-8255 Fan impeller $21.01 1 usually ships 1-5 days
17 275-8256 Fan shell $13.97 1 usually ships 1-5 days
18 175-5290 Nut $5.50 1 usually ships 1-5 days
19 275-8257 Fan end bracket $68.75 1 usually ships 1-5 days
20 275-8258 Armature $297.33 1 usually ships 10-13 days
21 275-0182 VR, WASHER (Tennant Industrial) $6.83 1 usually ships 1-5 days
N/S 164-0881 Vacuum motor gasket $15.64 1 (included with 0) ships same day
N/S 175-5293 Female connector $11.00 1 (included with 0) ships same day
N/S 175-5365 Female terminal $2.18 2 (included with 0) usually ships 1-5 days