| # | Part | Description | Price | Req | Notes | Availability |
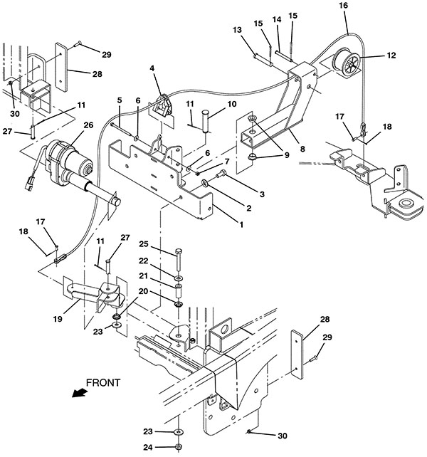
1 |
675-1364
|
BRACKET WLDT, SQGE LIFT, FRAME (Tennant Industrial) |
$253.72
|
1 |
|
usually ships 10-13 days |
2 |
999-0355
|
Washer 3/8 x 7/8 SAE flat stainless steel |
$0.99
|
4 |
|
ships same day |
3 |
999-1372
|
Bolt M10-1.5 x 25mm hex head stainless steel |
$3.56
|
4 |
|
ships same day |
4 |
575-0261
|
GUIDE, CABLE, SQGE LIFT (Tennant Industrial) |
$13.34
|
1 |
|
usually ships 10-13 days |
5 |
175-3399
|
Bolt M6-1 x 80mm hex head stainless steel |
$5.50
|
1 |
|
usually ships 10-13 days |
6 |
999-0335
|
Washer 1/4 x 5/8 SAE flat stainless steel |
$0.99
|
2 |
|
ships same day |
7 |
999-0497
|
Nut M6-1 nylon insert lock stainless steel |
$0.99
|
1 |
|
ships same day |
8 |
575-8463
|
LIFT WLDT, SQGE, PULLEY (Tennant Industrial) |
$123.02
|
1 |
|
usually ships 10-13 days |
9 |
175-3460
|
Flanged bushing |
$11.55
|
2 |
|
usually ships 10-13 days |
10 |
375-4344
|
Clevis pin (Tennant Industrial) |
$41.17
|
1 |
|
usually ships 10-13 days |
11 |
175-2588
|
Cotter pin |
$3.30
|
3 |
|
usually ships 10-13 days |
12 |
175-0798
|
DRUM, CABLE, LIFT (Tennant Industrial) |
$22.84
|
1 |
|
usually ships 10-13 days |
13 |
275-3047
|
PIN, CLEVIS, 0.50D X 2.62L (Tennant Industrial) |
$13.84
|
1 |
|
usually ships 10-13 days |
14 |
275-5277
|
Clevis pin (Tennant Industrial) |
$5.67
|
1 |
|
usually ships 10-13 days |
15 |
175-4986
|
Cotter pin |
$3.30
|
2 |
|
usually ships 10-13 days |
16 |
575-4551
|
CABLE, SS .12D 22.6L .2CLEVIS / .2CLEVIS (Tennant Industrial |
$48.34
|
1 |
|
usually ships 10-13 days |
17 |
175-0801
|
Clevis pin |
$4.49
|
2 |
|
usually ships 10-13 days |
18 |
175-2361
|
Cotter pin |
$3.30
|
2 |
|
ships same day |
19 |
575-8299
|
LEVER WLDT, SQGE LIFT, PULLEY (Tennant Industrial) |
$124.19
|
1 |
|
usually ships 10-13 days |
20 |
175-2099
|
Flanged bushing |
$10.01
|
2 |
|
usually ships 10-13 days |
21 |
575-2036
|
BUSHING,SLEEVE,FLNG0.40B 0.625D 1.62L,SS (Tennant Industrial |
$25.17
|
1 |
|
usually ships 10-13 days |
22 |
999-0355
|
Washer 3/8 x 7/8 SAE flat stainless steel |
$0.99
|
1 |
|
ships same day |
23 |
275-1169
|
Washer .40 x 12mm flat |
$6.27
|
2 |
|
ships same day |
24 |
999-1120
|
Nut M10-1.5 nylon insert lock stainless steel |
$4.27
|
1 |
|
ships same day |
25 |
999-1321
|
Screw M10-1.5 x 70mm hex head stainless steel |
$5.57
|
1 |
|
usually ships 1-5 days |
26 |
675-5074
|
ACTUATOR, 36V, 2.36IN STROKE (Tennant Industrial) |
$697.14
|
1 |
|
usually ships 10-13 days |
27 |
175-2592
|
Clevis Pin 0.37 D X 1.75 L |
$5.28
|
2 |
|
ships same day |
28 |
575-2914
|
SHIELD, BUMPER, SQGE CPLG (Tennant Industrial) |
$35.67
|
2 |
|
usually ships 10-13 days |
29 |
999-1282
|
Screw M6-1 x 25mm flat head phillips zinc |
$0.99
|
4 |
|
ships same day |
30 |
999-0469
|
Nut M6-1 nylon insert lock zinc plated |
$1.32
|
4 |
|
ships same day |