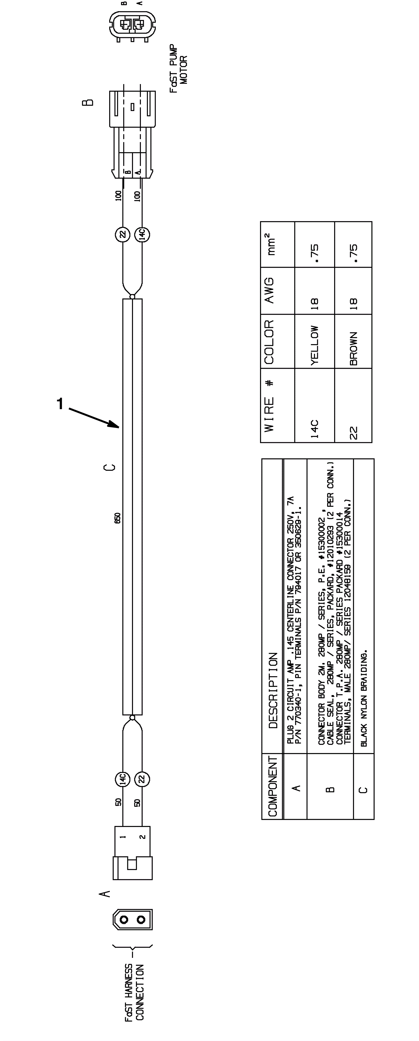
FaST Wiring Harness Assembly
Click to enlarge
#
Part
Description
Price
Req
Notes
Availability
1
275-1539
Harness
$35.53
1
usually ships 1-5 days