T5
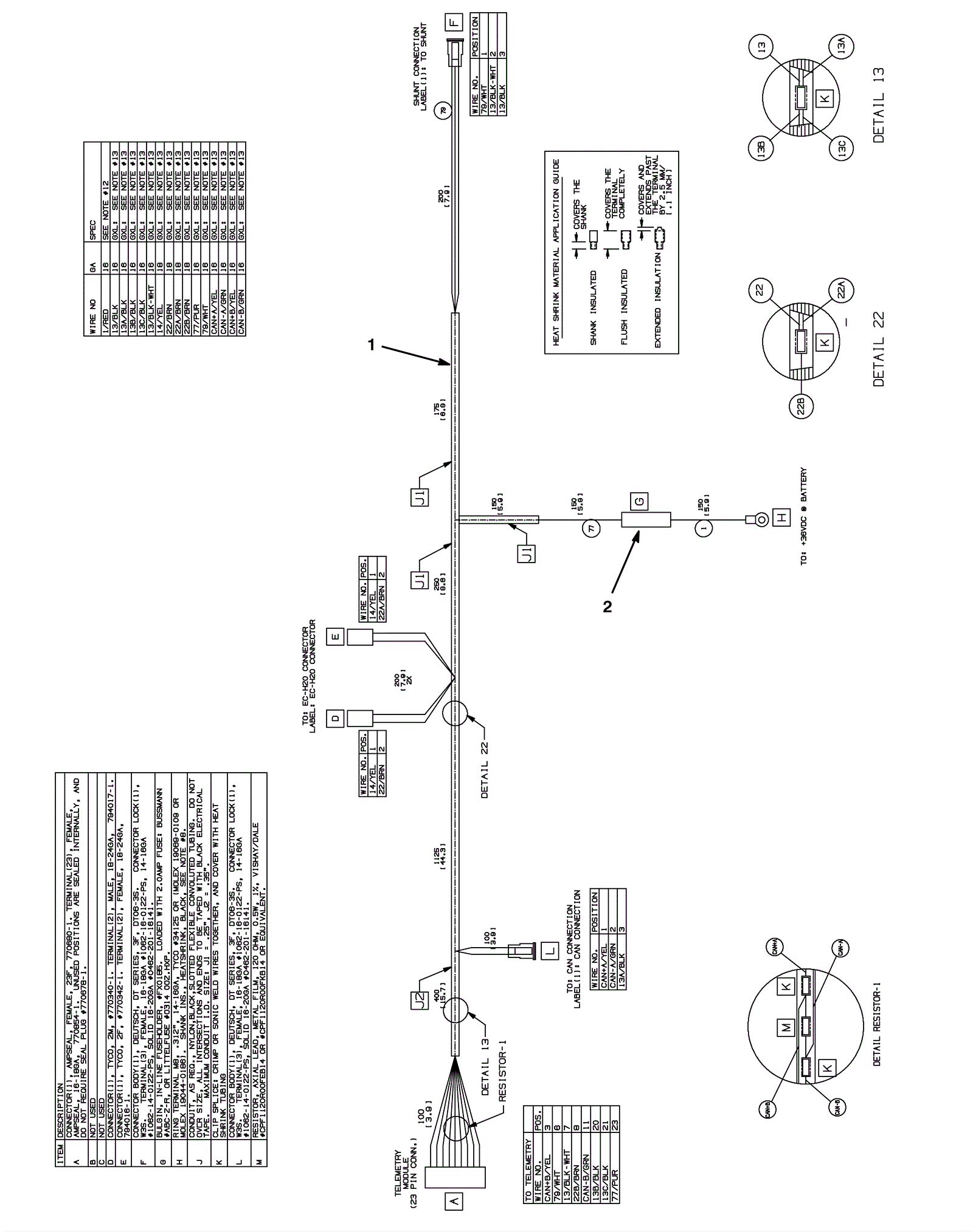
Iris Telemetry Wiring Harness Assembly - After SN 10742212
Click to enlarge
#
Part
Description
Price
Req
Notes
Availability
1
375-4003
Iris telemetry wiring harness
$132.33
1
usually ships 10-13 days
2
275-7904
Fuse (Tennant Industrial)
$2.17
1
usually ships 10-13 days