| # | Part | Description | Price | Req | Notes | Availability |
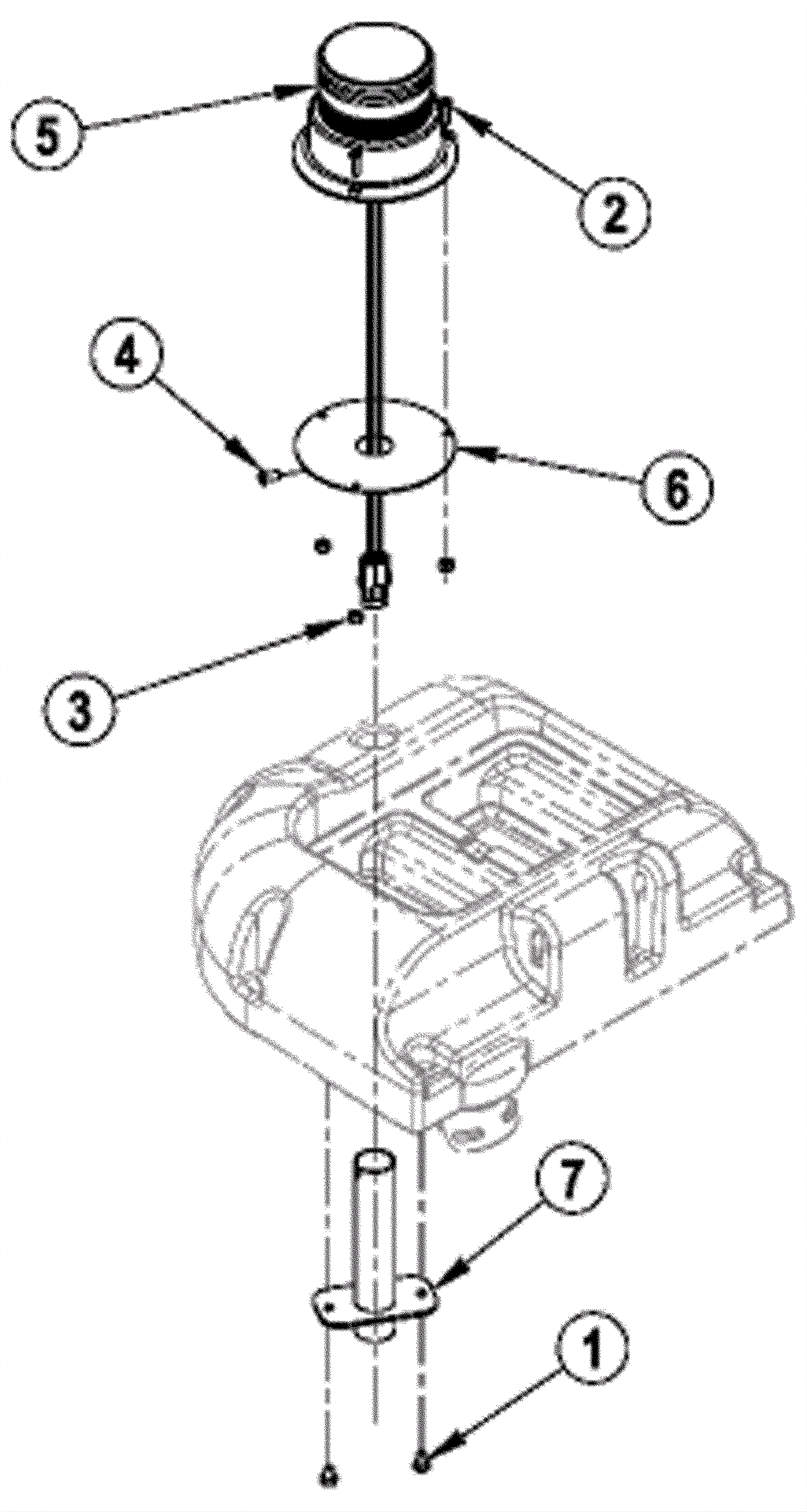
1 |
999-0361
|
Bolt 1/4-20 x 3/8 hex head grade 5 zinc |
$4.17
|
2 |
|
ships same day |
2 |
999-0705
|
Screw 10-24 x 3/4 pan head phillips stainless steel |
$0.99
|
3 |
|
ships same day |
3 |
999-0199
|
Nut 10-24 nylon insert lock zinc plated |
$0.99
|
3 |
|
ships same day |
4 |
999-0522
|
Screw 1/4-20 x 1/2 pan head phillips stainless steel |
$1.03
|
1 |
|
ships same day |
5 |
572-9212
|
Amber led strobe light |
$187.10
|
1 |
|
usually ships 13-18 days |
6 |
172-3496
|
Plate weldment |
$192.54
|
1 |
|
usually ships 1-5 days |
7 |
172-3497
|
Tube weldment |
$111.82
|
1 |
|
usually ships 1-5 days |