| # | Part | Description | Price | Req | Notes | Availability |
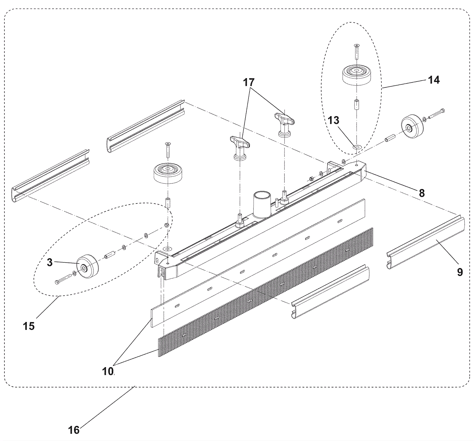
3 |
272-5476
|
Wheel |
$52.98
|
2 |
|
ships same day |
8 |
272-5488
|
Squeegee weldment |
$168.42
|
1 |
|
usually ships 13-18 days |
9 |
272-5319
|
Squeegee blade profile (pkg of 2) |
$16.20
|
4 |
|
ships same day |
10 |
272-5318
|
Squeegee blade kit |
$184.81
|
1 |
|
ships same day |
13 |
272-5489
|
Washer M6 x 18mm flathead stainless steel |
$12.71
|
2 |
|
usually ships 13-18 days |
14 |
181-0937
|
Squeegee bumper roller kit |
$14.21
|
1 |
(includes 13) |
ships same day |
15 |
272-5490
|
Squeegee wheel kit |
$27.26
|
1 |
(includes item 3) |
usually ships 13-18 days |
16 |
270-0105
|
Squeegee assembly |
$473.52
|
1 |
(includes 3, 8-10, 13-15, and 17) |
ships same day |
17 |
272-6579
|
Squeegee fixing kit |
$40.16
|
1 |
|
usually ships 13-18 days |
N/S |
272-5491
|
Squeegee hardware kit |
$23.65
|
1 |
|
usually ships 1-5 days |