| # | Part | Description | Price | Req | Notes | Availability |
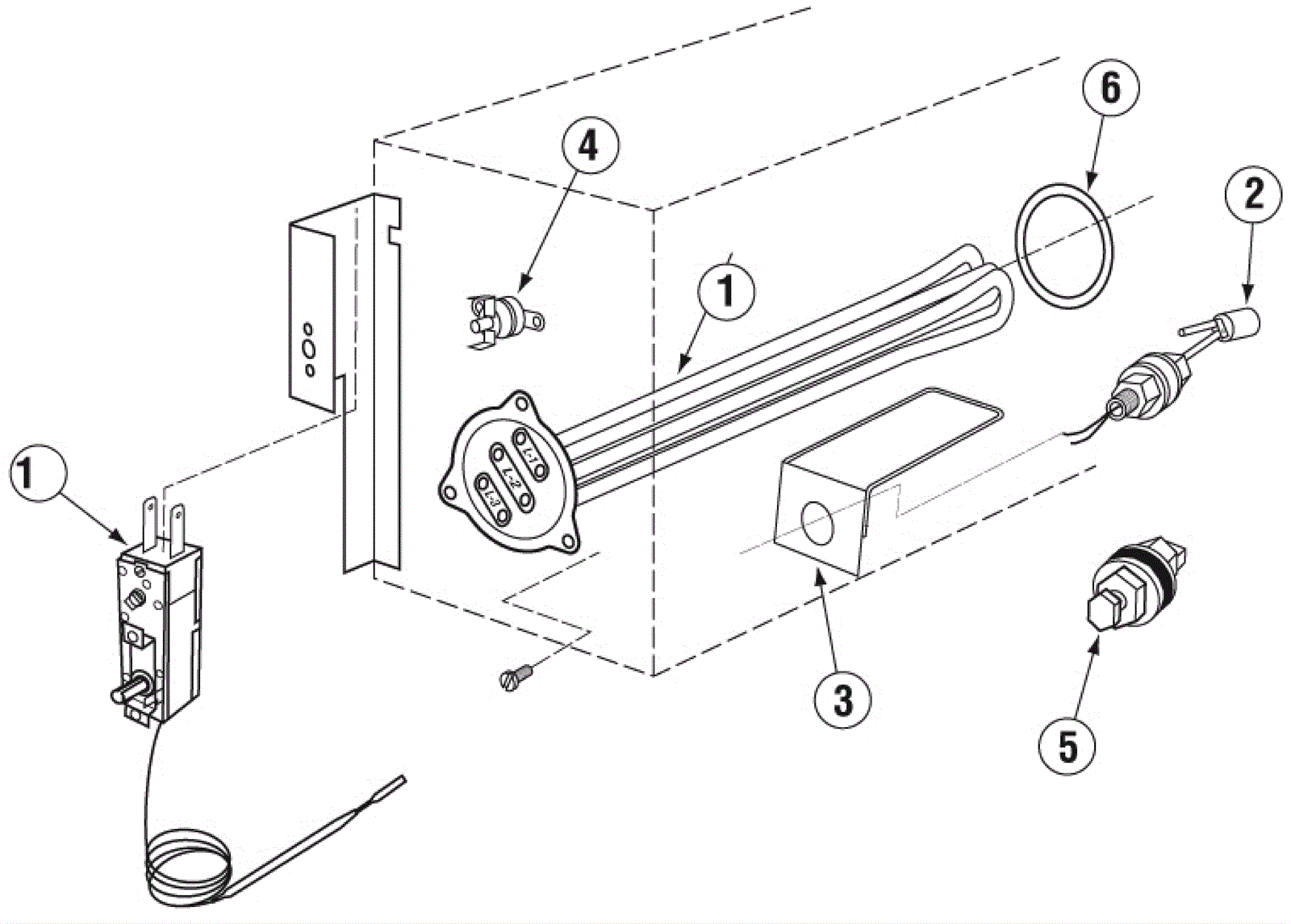
1a |
350-1816
|
Immersion Heater 6kW208-240V T-Flange |
$553.71
|
1 |
|
usually ships 30-43 days |
1b |
350-1487
|
Immersion Heater 6kW 480V T-Flange |
$719.88
|
1 |
|
usually ships 30-43 days |
1c |
350-1475
|
Heater Thermostat |
$106.24
|
1 |
|
ships same day |
2 |
350-1506
|
Liquid Level Switch-Long-D Flat |
$196.36
|
1 |
|
usually ships 30-43 days |
3 |
350-1507
|
Liquid Level Switch Shield (open) |
$13.10
|
1 |
|
usually ships 30-43 days |
6 |
350-1817
|
Red Silicone Heater Gasket |
$6.28
|
1 |
|
usually ships 30-43 days |