| # | Part | Description | Price | Req | Notes | Availability | 
          
            
            
                
                  
                  
                  
				       
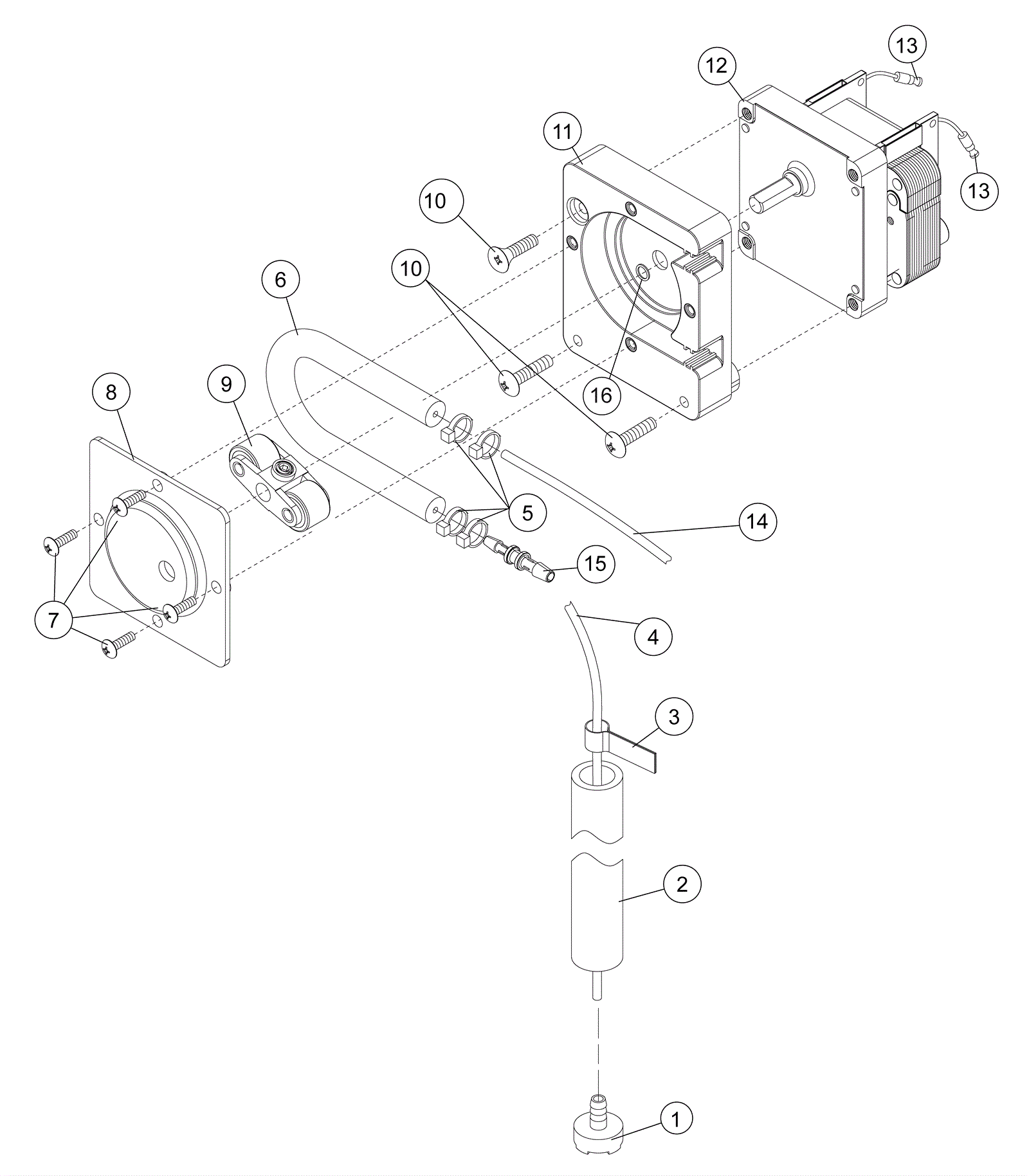
				      1 | 
				      
                
                
                  
                
                
				350-1053
               | 
				      UC 65e Strainer | 
				      
                $6.80
                | 
				      1 | 
				         | 
				      usually ships 30-43 days | 
				      
               
               
               
                
               
             
            
                
                  
                  
                  
				       
				      2 | 
				      
                
                
                  
                
                
				350-1054
               | 
				      Tube 1/2 ID x 11-7/8 Lg Stiffener | 
				      
                $7.64
                | 
				      1 | 
				         | 
				      usually ships 30-43 days | 
				      
               
               
               
                
               
             
            
                
                  
                  
                  
				       
				      4 | 
				      
                
                
                  
                
                
				350-1365
               | 
				      Chemical Tubing .245 OD x .125 ID (sold by the foot) | 
				      
                $1.35
                | 
				      1 | 
				         | 
				      usually ships 30-43 days | 
				      
               
               
               
                
               
             
            
                
                  
                  
                  
				       
				      5 | 
				      
                
                
                  
                
                
				350-0594
               | 
				      Twist Tye 4 1/2 inch | 
				      
                $0.90
                | 
				      4 | 
				         | 
				      usually ships 30-43 days | 
				      
               
               
               
                
               
             
            
                
                  
                  
                  
				       
				      6 | 
				      
                
                
                  
                
                350-1098
				
               | 
				      Squeeze Tube Norprene 8 inch | 
				      
                $9.37
                | 
				      1 | 
				         | 
				      ships same day | 
				      
               
               
               
                
               
             
            
                
                  
                  
                  
				       
				      7 | 
				      
                
                
                  
                
                
				350-0570
               | 
				      8-32 x 1/2 Panhead Screw | 
				      
                $0.90
                | 
				      4 | 
				         | 
				      usually ships 30-43 days | 
				      
               
               
               
                
               
             
            
                
                  
                  
                  
				       
				      8 | 
				      
                
                
                  
                
                350-0241
				
               | 
				      Peristaltic Pump Cover | 
				      
                $8.04
                | 
				      1 | 
				         | 
				      ships same day | 
				      
               
               
               
                
               
             
            
                
                  
                  
                  
				       
				      9 | 
				      
                
                
                  
                
                350-0242
				
               | 
				      Peristaltic Pump Rotor Assy | 
				      
                $51.68
                | 
				      1 | 
				         | 
				      ships same day | 
				      
               
               
               
                
               
             
            
                
                  
                  
                  
				       
				      10a | 
				      
                
                
                  
                
                
				350-0582
               | 
				      10-32 x 1 1/2 Panhead Bolt | 
				      
                $0.90
                | 
				      2 | 
				         | 
				      usually ships 30-43 days | 
				      
               
               
               
                
               
             
            
                
                  
                  
                  
				       
				      10b | 
				      
                
                
                  
                
                
				350-0581
               | 
				      10-32 x 1 1/2 Phillips Flat Head | 
				      
                $0.90
                | 
				      1 | 
				         | 
				      usually ships 30-43 days | 
				      
               
               
               
                
               
             
            
                
                  
                  
                  
				       
				      11 | 
				      
                
                
                  
                
                350-0240
				
               | 
				      Peristaltic Pump Block (Black) | 
				      
                $15.83
                | 
				      1 | 
				         | 
				      ships same day | 
				      
               
               
               
                
               
             
            
                
                  
                  
                  
				       
				      12 | 
				      
                
                
                  
                
                350-0237
				
               | 
				      Peri Pump Motor  50RPM 115V/60Hz | 
				      
                $102.00
                | 
				      1 | 
				         | 
				      ships same day | 
				      
               
               
               
                
               
             
            
                
                  
                  
                  
				       
				      13 | 
				      
                
                
                  
                
                
				350-0305
               | 
				      Male Barrel Connector 16-14 Gauge | 
				      
                $0.90
                | 
				      2 | 
				         | 
				      usually ships 30-43 days | 
				      
               
               
               
                
               
             
            
                
                  
                  
                  
				       
				      15 | 
				      
                
                
                  
                
                
				350-2223
               | 
				      Connector 5/32 x 1/8 | 
				      
                $6.99
                | 
				      1 | 
				         | 
				      usually ships 30-43 days | 
				      
               
               
               
                
               
             
            
                
                  
                  
                  
				       
				      KIT1 | 
				      
                
                
                  
                
                
				350-0234
               | 
				      Peri Pump Assy  50 RPM 115V/60Hz | 
				      
                $173.16
                | 
				      1 | 
				       (includes 6-13)  | 
				      usually ships 30-43 days |