| # | Part | Description | Price | Req | Notes | Availability |
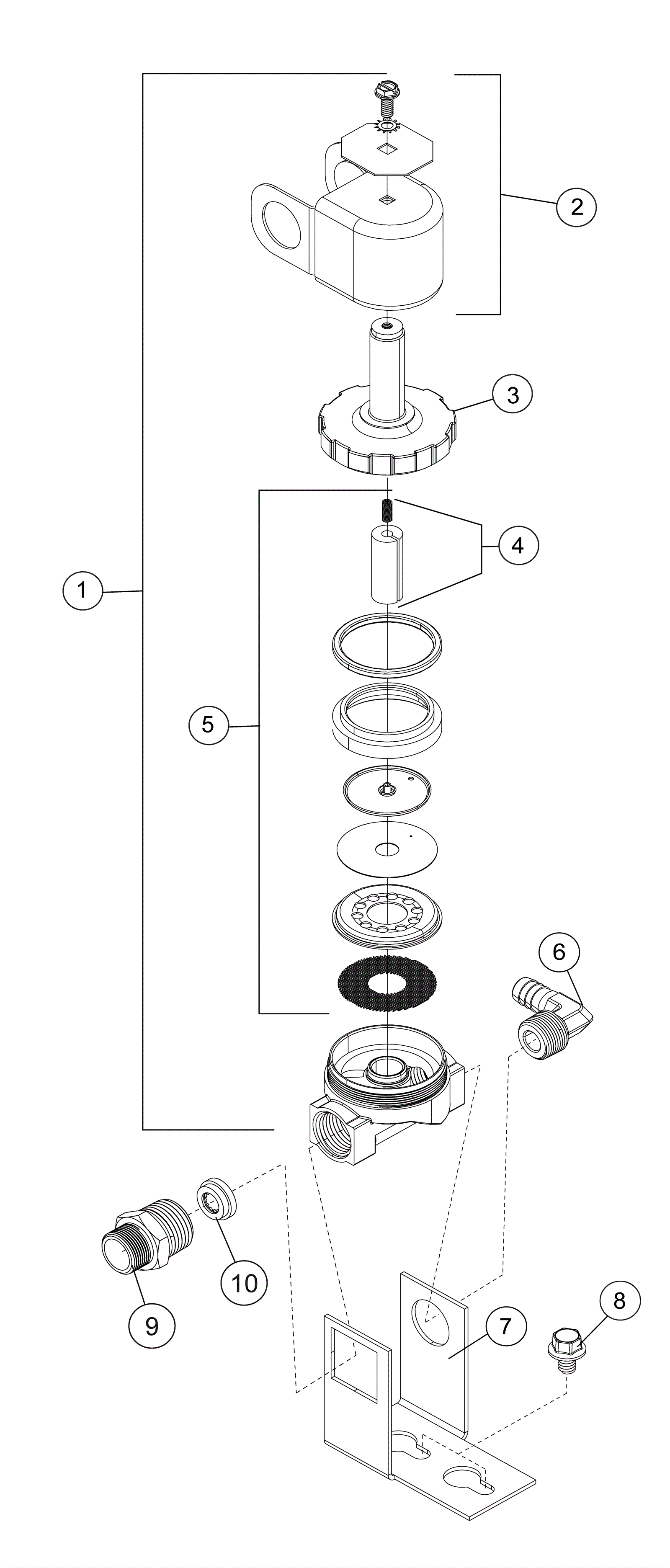
1 |
350-1191
|
1/2 Water Sol Valve JE120/60 |
$238.72
|
1 |
|
usually ships 30-43 days |
2 |
350-0483
|
Solenoid Coil JE 115V (3/4 &1/2) |
$67.49
|
1 |
|
usually ships 30-43 days |
3 |
350-1193
|
1/2 Water Solenoid Bonnet |
$81.01
|
1 |
|
usually ships 30-43 days |
4 |
350-0508
|
Water Sol Plunger 'G' JE 3/4 &1/2 |
$14.87
|
1 |
|
usually ships 30-43 days |
5 |
350-0466
|
1/2 Water Solenoid Repair Kit JE |
$119.79
|
1 |
|
usually ships 30-43 days |
6 |
350-2035
|
1/2 Barb x 1/2 MPT 90Deg Ell |
$18.36
|
1 |
|
usually ships 30-43 days |
9 |
350-1198
|
Fitting with Flow Disk |
$41.40
|
1 |
|
usually ships 30-43 days |
10 |
350-1195
|
Water Solenoid SS Valve Flow Disc |
$18.05
|
1 |
|
usually ships 30-43 days |