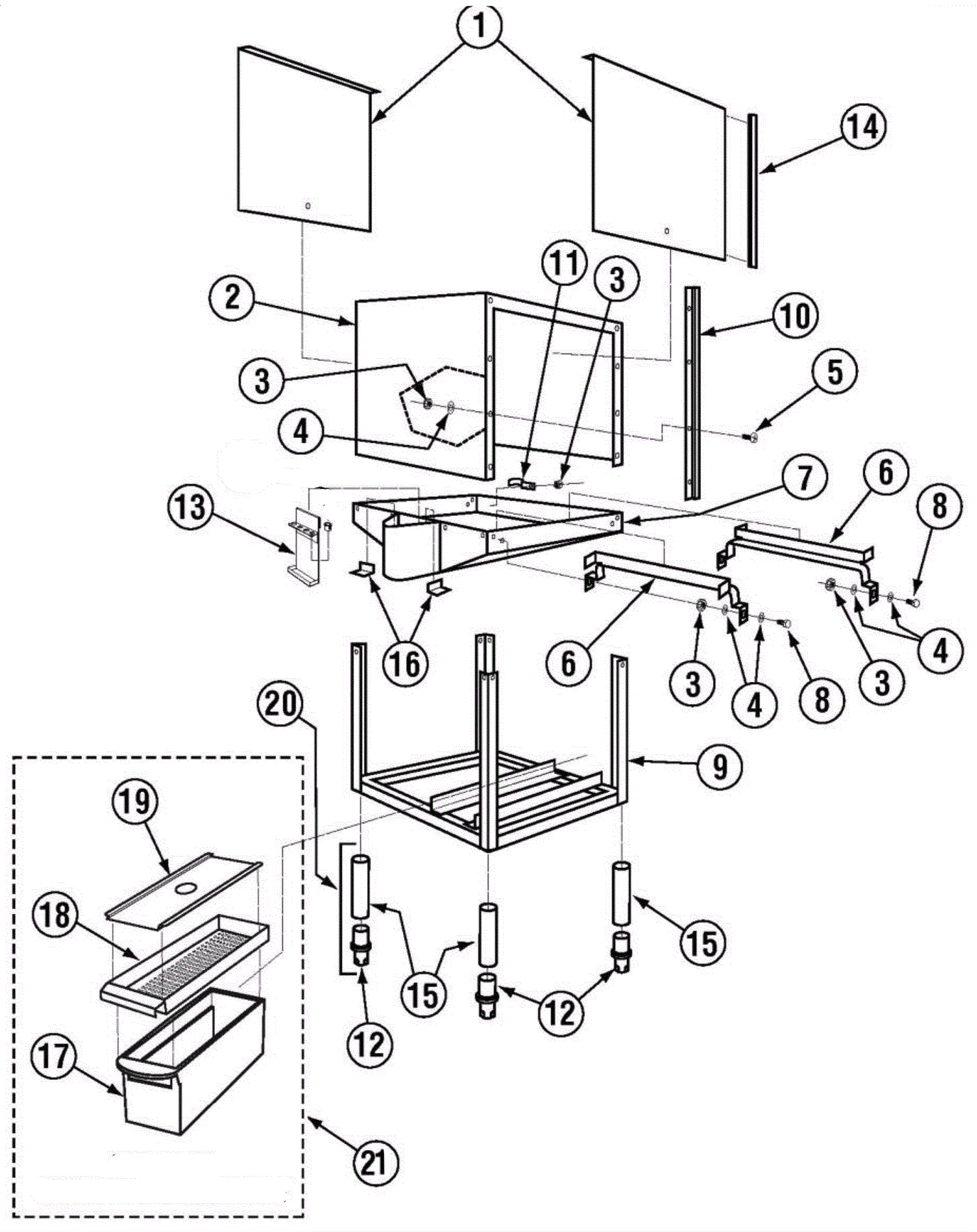
| # | Part | Description | Price | Req | Notes | Availability |
1 |
350-0726
|
Door - Standard - CMA w/Dimple |
$347.30
|
2 |
|
usually ships 30-43 days |
2 |
350-0758
|
Wrapper (TM-AH) |
$1,128.83
|
1 |
|
usually ships 30-43 days |
3 |
350-0573
|
1/4-20 Nylon Lock Nut |
$0.90
|
33 |
|
ships same day |
4 |
350-0590
|
5/16 SS Washer |
$0.90
|
50 |
|
ships same day |
5 |
350-0561
|
1/4-20 x 1/2 Trusshead Bolt |
$0.90
|
16 |
|
usually ships 30-43 days |
6 |
350-0708
|
Tray Track (AH) Set Of Two |
$82.46
|
1 |
|
usually ships 30-43 days |
7 |
350-0766
|
Pan (AH) |
$1,010.90
|
1 |
|
usually ships 30-43 days |
8 |
350-0562
|
1/4-20 x 1/2 Hexhead Bolt |
$0.90
|
17 |
|
usually ships 30-43 days |
9 |
350-0767
|
Stand TM-AH (w/o Legs) |
$855.03
|
1 |
|
usually ships 30-43 days |
10 |
350-0790
|
EZ Glide Door Guide SS 21 1/8 |
$22.98
|
4 |
|
usually ships 30-43 days |
11 |
350-0480
|
1/2 Plumbing Strap SS |
$4.88
|
3 |
|
usually ships 30-43 days |
12 |
350-0665
|
Adjustable Socket Foot |
$13.50
|
4 |
|
usually ships 30-43 days |
13a |
350-0796
|
Trough Style Chem Support Bracket |
$48.11
|
1 |
|
usually ships 30-43 days |
13b |
350-0280
|
Snap Bushing 375-4 |
$0.90
|
4 |
|
usually ships 30-43 days |
14 |
350-0448
|
EZ Glide Door Guide Sq 21 7/8 inch |
$12.90
|
4 |
|
ships same day |
15 |
350-2149
|
Stainless steel leg (A, AH, C, B) |
$38.16
|
4 |
|
usually ships 30-43 days |
16 |
350-0802
|
Drain Baffle |
$10.30
|
2 |
|
usually ships 30-43 days |
17 |
350-0806
|
Scrap Trap Body (Poly Pro) |
$160.24
|
1 |
|
usually ships 30-43 days |
18 |
350-0807
|
Scrap Trap Drawer SS |
$97.52
|
1 |
|
ships same day |
19 |
350-0808
|
Molded Scrap Trap Lid - SS |
$57.45
|
1 |
|
usually ships 30-43 days |
20 |
350-0637
|
Leg Assy 10 inch w\Adjustable Socket |
$38.16
|
1 |
(includes 12 and 15) |
usually ships 30-43 days |
21 |
350-0805
|
Scrap Trap Assy (Poly Pro & SS) |
$239.27
|
1 |
(includes 17-19) |
usually ships 30-43 days |