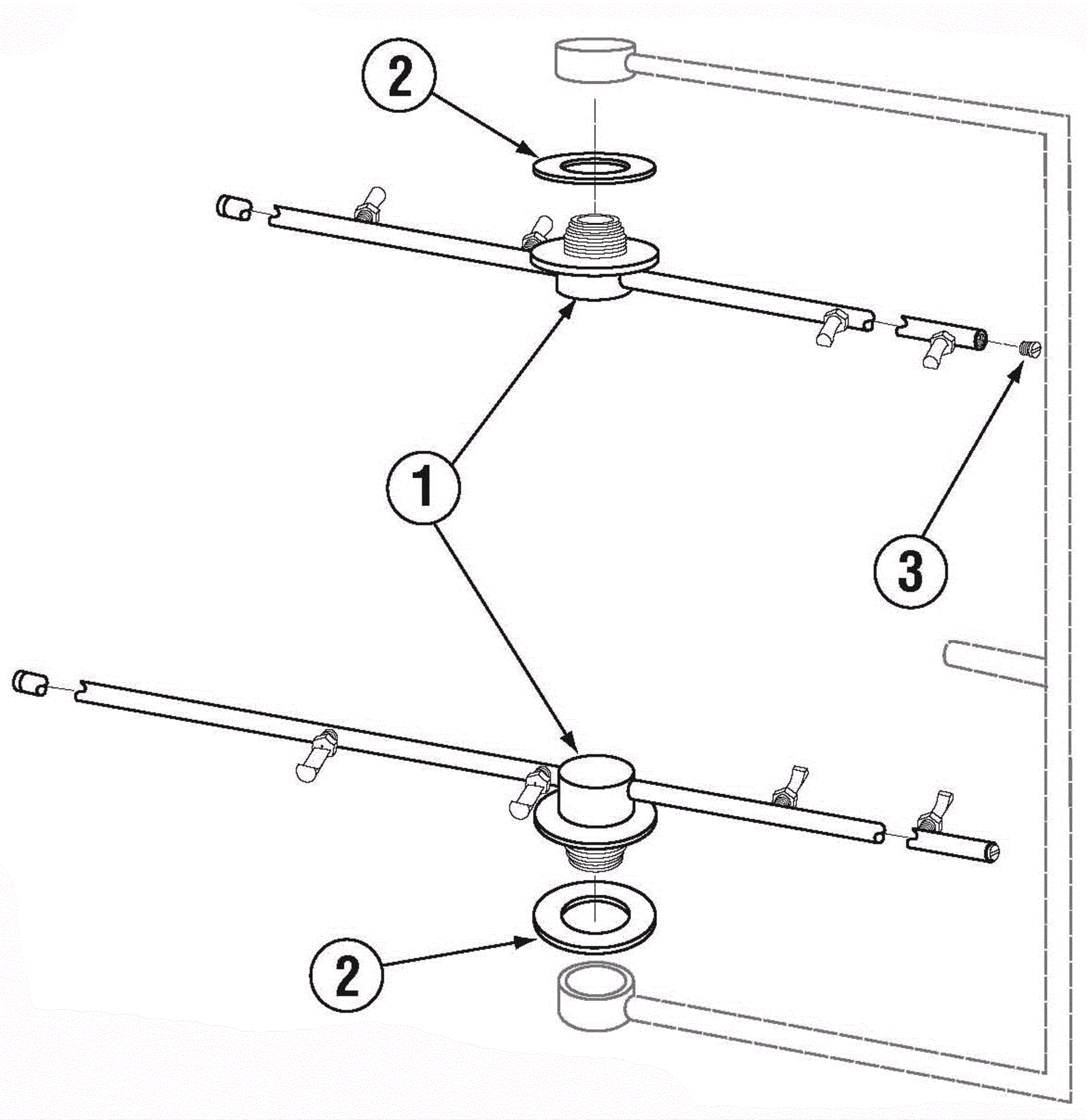
Rinse Assembly
Click to enlarge
#
Part
Description
Price
Req
Notes
Availability
2
350-1254
Red Silicone Gasket CMA-180
$2.35
2
ships same day
3
350-0152
Rinse Arm SS End Plug (CMA-180)
$9.59
4
ships same day