| # | Part | Description | Price | Req | Notes | Availability |
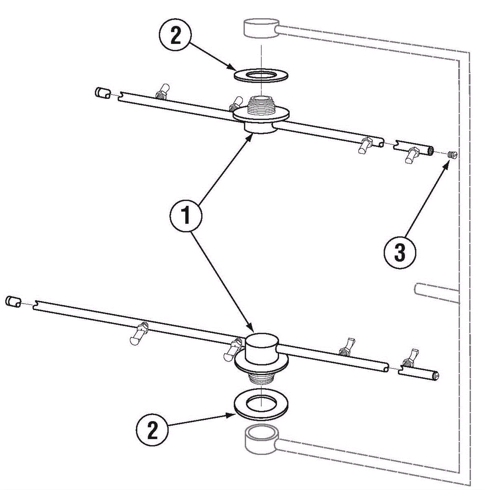
1 |
350-0140
|
Rinse Arm w/Bearings (CMA-180 & 180UC) |
$318.16
|
2 |
|
usually ships 30-43 days |
2 |
350-1254
|
Red Silicone Gasket CMA-180 |
$2.35
|
2 |
|
usually ships 30-43 days |
3 |
350-0152
|
Rinse Arm SS End Plug (CMA-180) |
$9.59
|
4 |
|
ships same day |