| # | Part | Description | Price | Req | Notes | Availability |
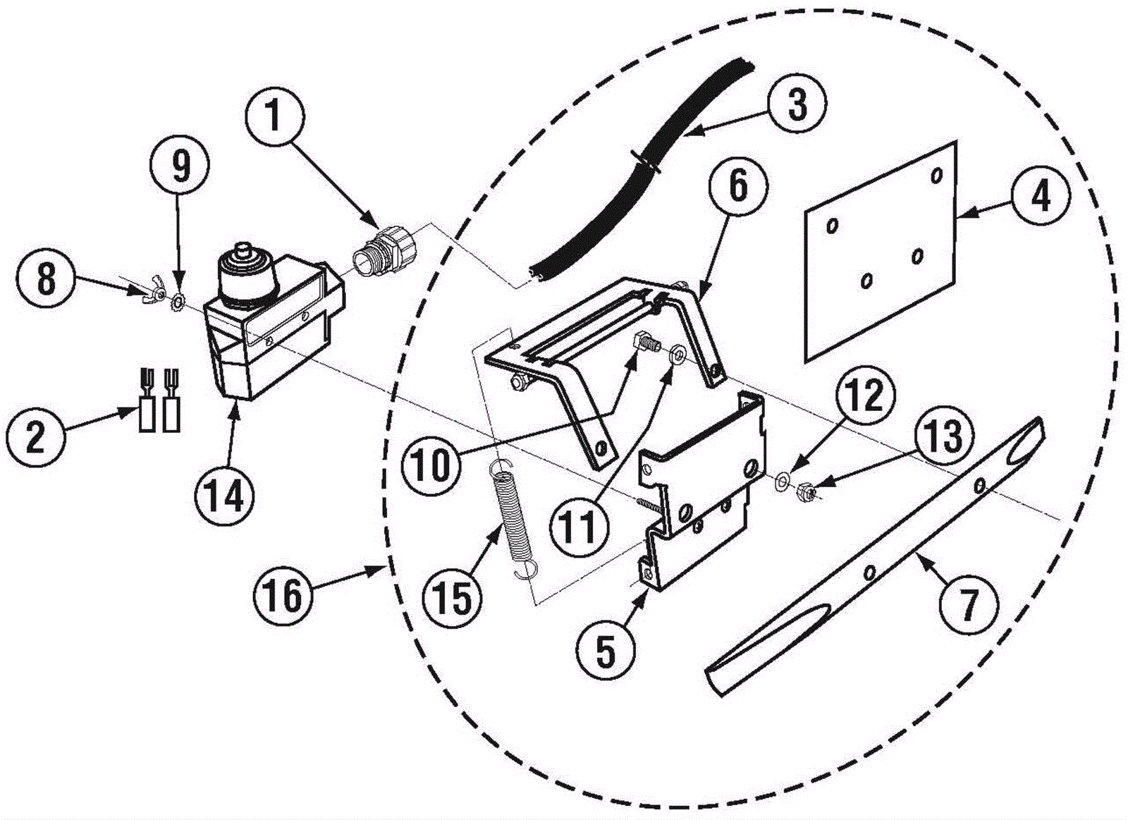
11 |
350-1498
|
Connector for Table Limit Switch |
$4.68
|
1 |
|
usually ships 30-43 days |
2 |
350-0302
|
Ring Eyelet Connector 14-16 #8 |
$0.30
|
2 |
|
usually ships 30-43 days |
3 |
350-0360
|
Switch Cord 18 AWG SOOW |
$1.42
|
14 feet |
|
usually ships 30-43 days |
7 |
350-1501
|
Table Limit Switch Bumper |
$29.00
|
1 |
|
usually ships 30-43 days |
9 |
350-1215
|
10-32 Lock Star Washer |
$0.90
|
2 |
|
usually ships 30-43 days |
10 |
350-0576
|
1/4-20 x 5/8 Hexhead Bolt 304SS |
$0.90
|
2 |
|
usually ships 30-43 days |
11 |
350-0613
|
1/4 Split Lock Washer |
$0.16
|
2 |
|
usually ships 30-43 days |
12 |
350-0589
|
1/4 SS Washer |
$0.90
|
2 |
|
ships same day |
13 |
350-0573
|
1/4-20 Nylon Lock Nut |
$0.90
|
2 |
|
ships same day |
14 |
350-1497
|
Table Limit Switch (Push Button) |
$156.88
|
1 |
|
usually ships 30-43 days |
15 |
350-1450
|
Switch Bracket Spring |
$5.33
|
1 |
|
usually ships 30-43 days |
16 |
350-1500
|
Table Limit Switch Bracket Ass'y |
$119.89
|
1 |
|
usually ships 30-43 days |