| # | Part | Description | Price | Req | Notes | Availability |
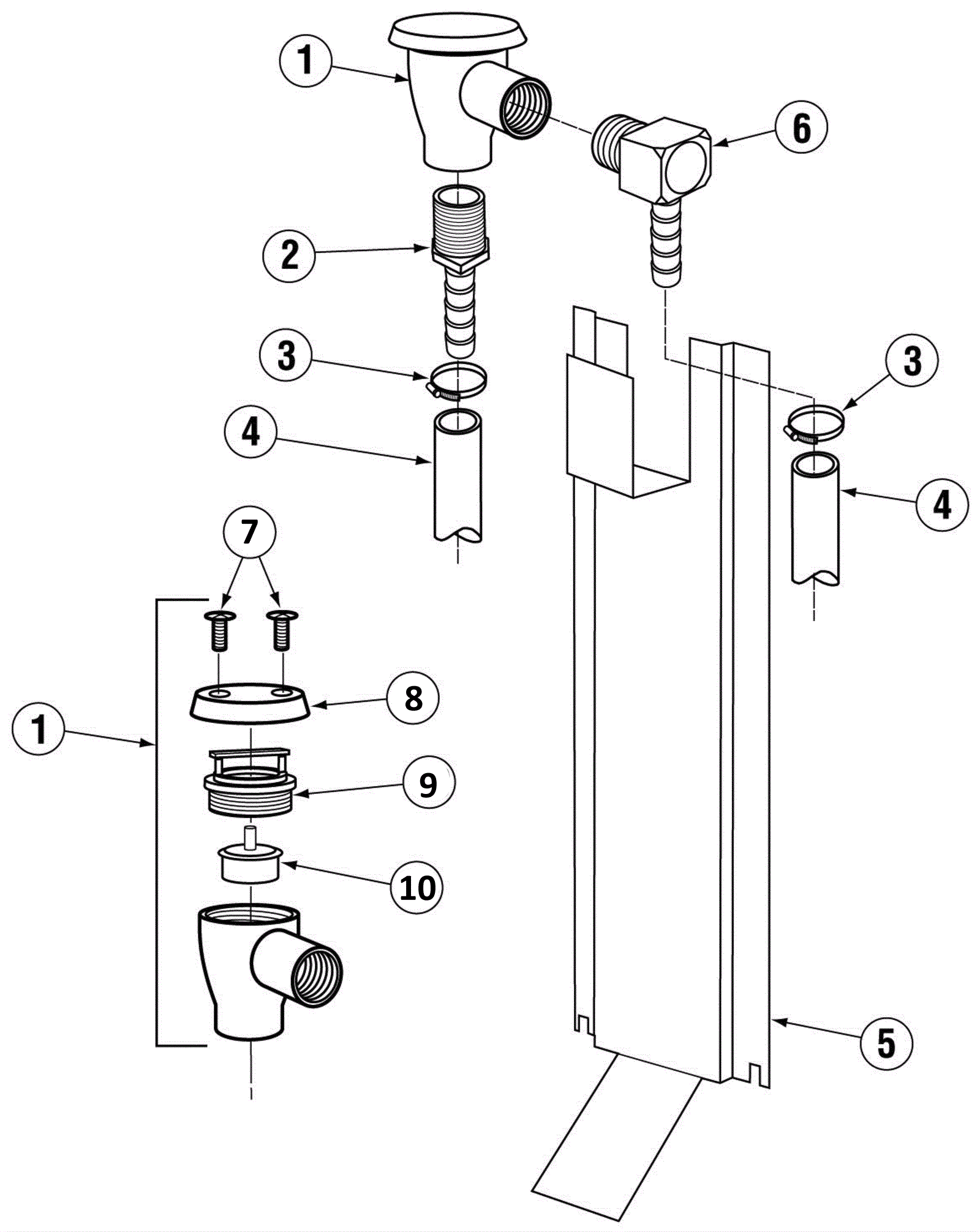
1 |
350-1202
|
Vacuum Breaker 1/2 inch |
$101.45
|
1 |
|
usually ships 30-43 days |
2 |
350-2036
|
1/2MPT x 1/2 Hose Barb Straight |
$5.06
|
1 |
|
usually ships 30-43 days |
3 |
350-1120
|
Hose Clamp #6 Size #003 |
$2.29
|
2 |
|
usually ships 30-43 days |
4 |
350-1123
|
Braided Hose 1/2 inch |
$3.53
|
1 |
|
usually ships 30-43 days |
5 |
350-1854
|
GL-C/GW-100 Vac Breaker Support |
$37.48
|
1 |
|
usually ships 30-43 days |
6 |
350-2035
|
1/2 Barb x 1/2 MPT 90Deg Ell |
$18.36
|
1 |
|
usually ships 30-43 days |
7 |
350-0254
|
6-32 x 1/4 SS Panhead Screw |
$0.90
|
2 |
|
usually ships 30-43 days |
8 |
350-0485
|
3/4 Vac Breaker Cap SS |
$12.80
|
1 |
|
usually ships 30-43 days |
9 |
350-1203
|
1/2 Vac Breaker Bonnet Brass Watt |
$22.95
|
1 |
|
usually ships 30-43 days |
10 |
350-1201
|
1/2 Vac Breaker Repair Kit Watts |
$21.45
|
1 |
|
ships same day |