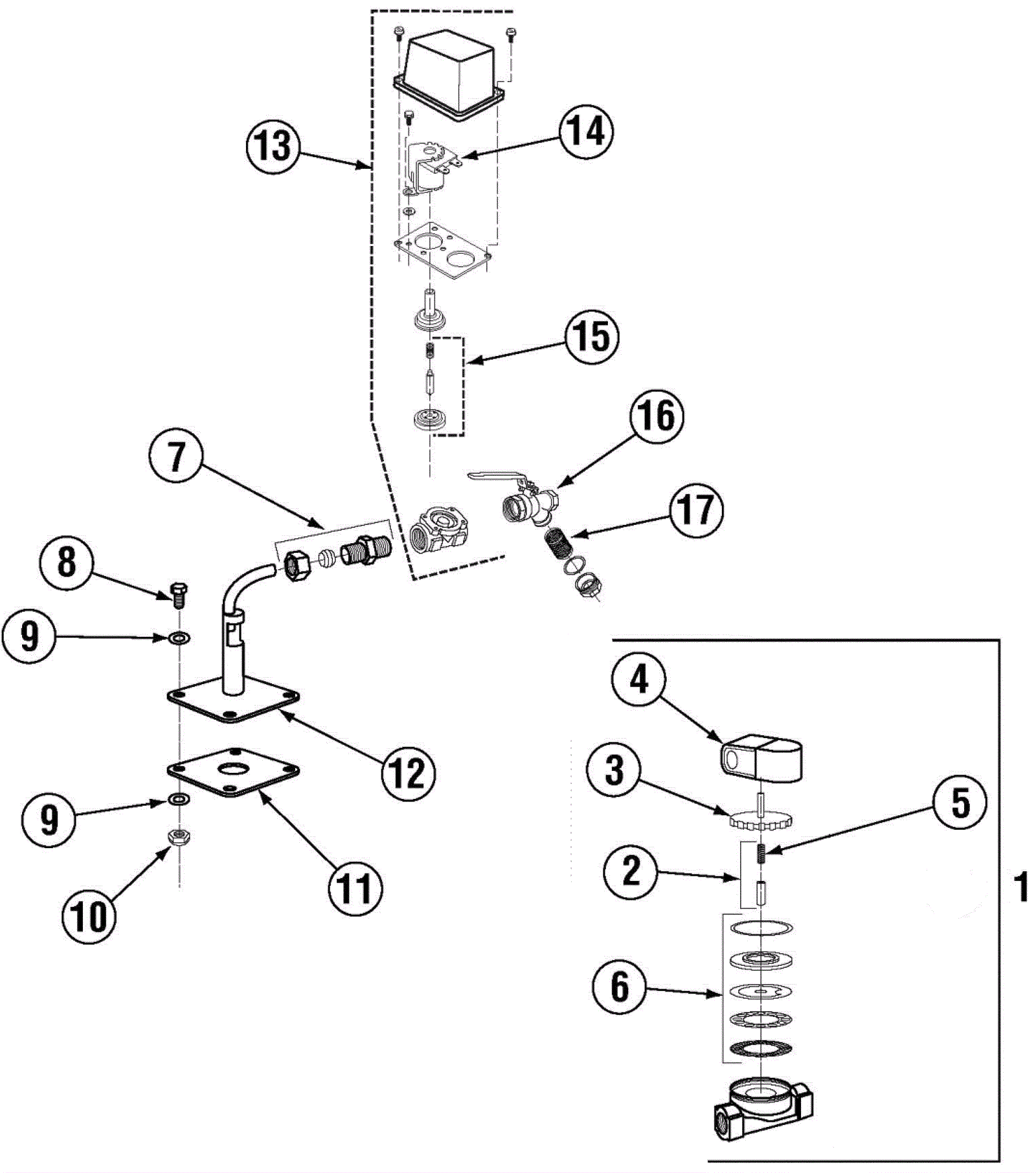
# | Part | Description | Price | Req | Notes | Availability |
1 |
350-1191
|
1/2 Water Sol Valve JE120/60 |
$238.72
|
1 |
(includes 2-6) |
usually ships 30-43 days |
2 |
350-0508
|
Water Sol Plunger 'G' JE 3/4 &1/2 |
$14.87
|
1 |
(includes 5) |
usually ships 30-43 days |
3 |
350-1193
|
1/2 Water Solenoid Bonnet |
$81.01
|
1 |
|
usually ships 30-43 days |
4 |
350-0483
|
Solenoid Coil JE 115V (3/4 &1/2) |
$67.49
|
1 |
|
usually ships 30-43 days |
6 |
350-0466
|
1/2 Water Solenoid Repair Kit JE |
$119.79
|
1 |
|
usually ships 30-43 days |
7 |
350-0499
|
5/8 Comp x 1/2 MIP Adapter |
$10.29
|
1 |
|
usually ships 30-43 days |
8 |
350-0576
|
1/4-20 x 5/8 Hexhead Bolt 304SS |
$0.90
|
4 |
|
usually ships 30-43 days |
9 |
350-0589
|
1/4 SS Washer |
$0.90
|
8 |
|
ships same day |
10 |
350-0573
|
1/4-20 Nylon Lock Nut |
$0.90
|
4 |
|
ships same day |
11 |
350-1255
|
Square Manifold Gasket |
$2.71
|
1 |
|
ships same day |
12 |
350-0467
|
Air Gap (EAH/EC) |
$74.51
|
1 |
|
usually ships 30-43 days |
14 |
350-2056
|
Water Solenoid Coil Only 115V (Dema) |
$38.07
|
1 |
|
usually ships 30-43 days |
15 |
350-1197
|
Dema Valve Rep Kit 1/4,3/8, 1/2, 3/4 |
$37.23
|
1 |
|
usually ships 30-43 days |
16 |
350-2062
|
1/2 Strainer Ball Valve NPT |
$49.42
|
1 |
|
usually ships 30-43 days |
17 |
350-2063
|
1/2 Ball Valve Strainer Only |
$1.75
|
1 |
|
usually ships 30-43 days |