| # | Part | Description | Price | Req | Notes | Availability |
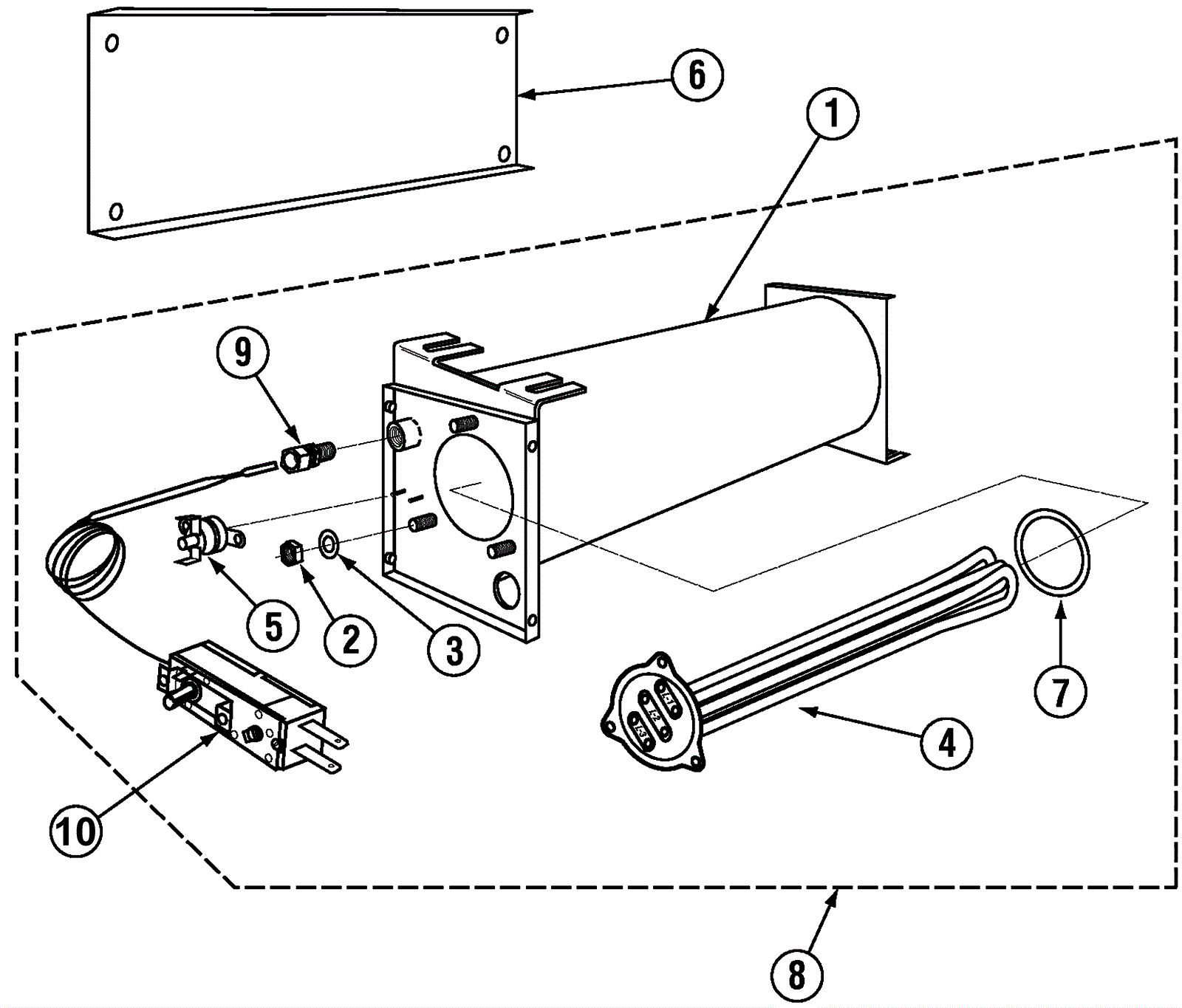
1 |
350-1959
|
CMA-180 Booster Tank (3 Studs) |
$761.50
|
1 |
|
usually ships 30-43 days |
2 |
350-1655
|
5/16-18 Nylon Insert Lock Nut |
$0.99
|
3 |
|
ships same day |
3 |
350-0590
|
5/16 SS Washer |
$0.90
|
3 |
|
ships same day |
4a |
350-1484
|
Immersion Heater 240V/12kW T-Flange |
$638.27
|
1 |
|
usually ships 30-43 days |
4b |
350-1486
|
Immersion Heater 12kW 480V T-Flange |
$751.20
|
1 |
|
usually ships 30-43 days |
5 |
350-1943
|
Hi Limit Switch 250 Deg |
$10.86
|
1 |
|
usually ships 30-43 days |
6 |
350-1940
|
CMA-180 Booster Heater Shield |
$46.50
|
1 |
(for straight applications only) |
usually ships 30-43 days |
7 |
350-1817
|
Red Silicone Heater Gasket |
$6.28
|
1 |
|
usually ships 30-43 days |
8 |
350-1966
|
Booster Tank Assy 220V |
$1,335.71
|
1 |
|
usually ships 30-43 days |
9 |
350-2046
|
1/4 Comp x 1/4 MIP Fitting |
$3.71
|
1 |
|
usually ships 30-43 days |
10 |
350-1475
|
Heater Thermostat |
$106.24
|
1 |
|
ships same day |