| # | Part | Description | Price | Req | Notes | Availability |
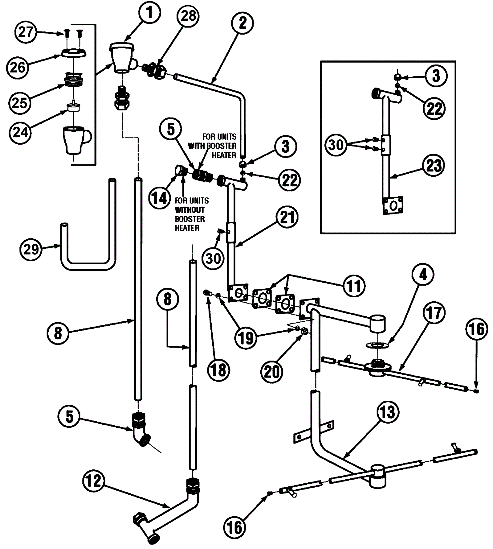
1 |
350-1202
|
Vacuum Breaker 1/2 inch |
$101.45
|
1 |
|
usually ships 30-43 days |
2 |
350-1305
|
CMA-180 Tubing Final Rinse Plumbing |
$14.00
|
1 |
|
usually ships 30-43 days |
3 |
350-1604
|
3/8 Compression Fitting Nut |
$0.80
|
1 |
|
usually ships 30-43 days |
4 |
350-1254
|
Red Silicone Gasket CMA-180 |
$2.35
|
2 |
|
ships same day |
5 |
350-1958
|
Outlet Booster Heater Plumbing Connt |
$31.08
|
1 |
|
usually ships 30-43 days |
6 |
350-1621
|
Nipple SS 1/2 x Close |
$7.02
|
1 |
|
usually ships 30-43 days |
7 |
350-1622
|
Nipple SS 1/2 x 5 1/2 |
$16.50
|
1 |
|
usually ships 30-43 days |
8 |
350-1307
|
Booster Heater Water Lines |
$37.50
|
2 |
(replaced by 29 only on machines without booster heater) |
usually ships 30-43 days |
9 |
350-1634
|
Mixing Chamber SS CMA 180UC |
$33.90
|
1 |
|
usually ships 30-43 days |
11 |
350-1255
|
Square Manifold Gasket |
$2.71
|
2 |
|
ships same day |
13 |
350-1897
|
CMA-180 Final Rinse Manifold |
$220.16
|
1 |
|
usually ships 30-43 days |
14 |
350-1629
|
1/2 inch MIP Plug Brass Sq. Head |
$3.08
|
1 |
|
usually ships 30-43 days |
15 |
350-0488
|
1/2 Tee F x F x F Brass |
$24.46
|
1 |
|
usually ships 30-43 days |
16 |
350-0152
|
Rinse Arm SS End Plug (CMA-180) |
$9.59
|
4 |
|
ships same day |
17 |
350-0140
|
Rinse Arm w/Bearings (CMA-180 & 180UC) |
$318.16
|
2 |
|
usually ships 30-43 days |
19 |
350-0590
|
5/16 SS Washer |
$0.90
|
8 |
|
ships same day |
20 |
350-0573
|
1/4-20 Nylon Lock Nut |
$0.90
|
4 |
|
ships same day |
21 |
350-1603
|
Final Rinse Pipe Ass'y |
$122.79
|
1 |
|
usually ships 30-43 days |
22 |
350-1605
|
3/8 Compression Fitting Sleeve |
$0.36
|
1 |
|
usually ships 30-43 days |
23 |
350-1606
|
Final Rinse Pipe Assy LT |
$92.67
|
1 |
|
usually ships 30-43 days |
24 |
350-1201
|
1/2 Vac Breaker Repair Kit Watts |
$21.45
|
1 |
|
ships same day |
25 |
350-1203
|
1/2 Vac Breaker Bonnet Brass Watt |
$22.95
|
1 |
|
usually ships 30-43 days |
26 |
350-0485
|
3/4 Vac Breaker Cap SS |
$12.80
|
1 |
|
usually ships 30-43 days |
27 |
350-0254
|
6-32 x 1/4 SS Panhead Screw |
$0.90
|
1 |
|
usually ships 30-43 days |
28 |
350-0296
|
3/8 inch Comp x 1/2 inch MIP Fitting |
$7.09
|
1 |
|
usually ships 30-43 days |
30 |
350-1164
|
1/8 Male Plug |
$2.78
|
2 |
|
usually ships 30-43 days |