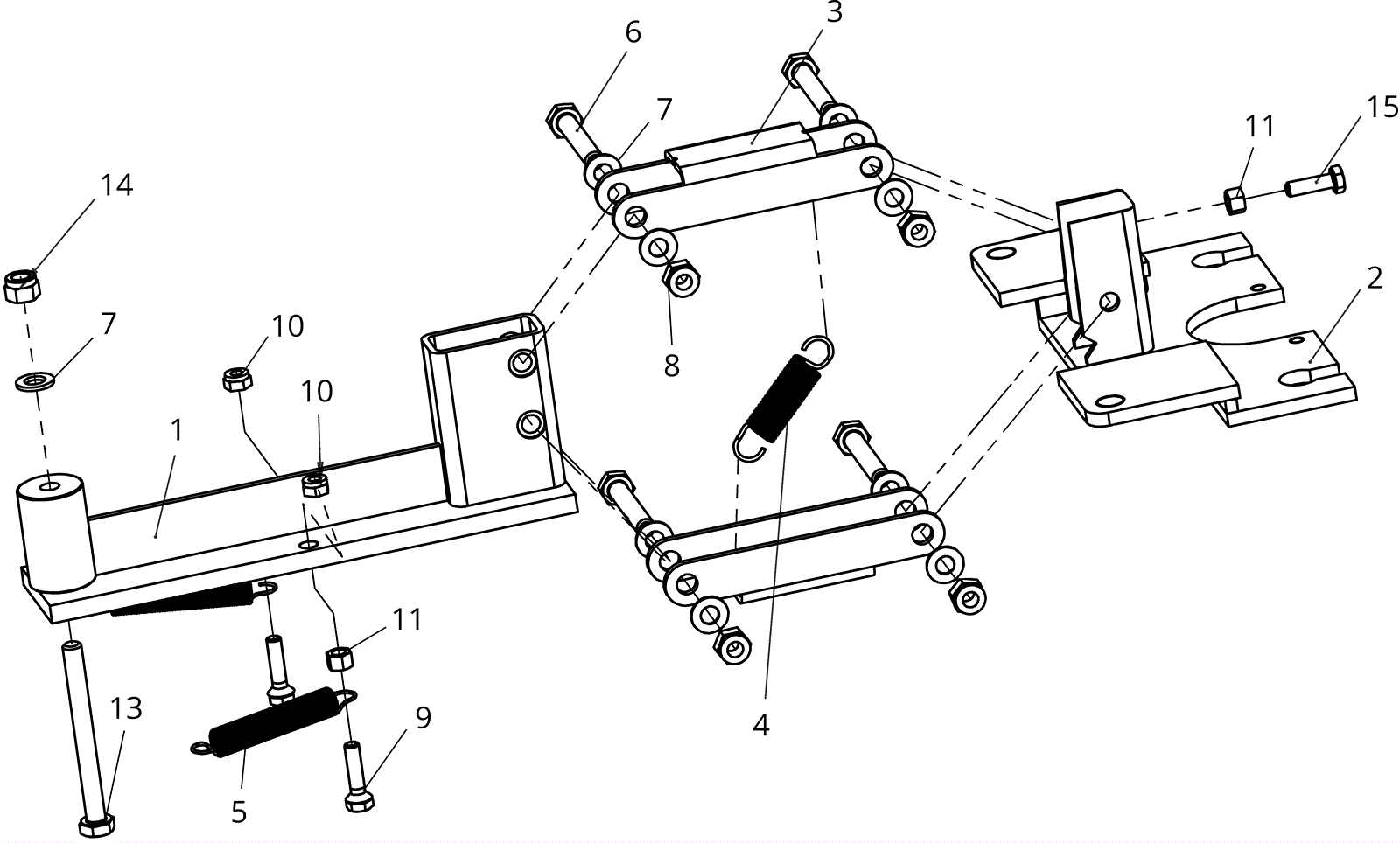
| # | Part | Description | Price | Req | Notes | Availability |
1 |
341-0150
|
Support |
$20.49
|
1 |
|
usually ships 16-19 days |
2 |
341-0152
|
Coupling |
$18.69
|
1 |
|
usually ships 16-19 days |
3 |
341-2026
|
LINK 122X33X25 |
Call for price
|
2 |
|
usually ships 16-19 days |
4 |
341-0154
|
Spring |
$0.90
|
1 |
|
ships same day |
5 |
341-0151
|
Spring |
$0.90
|
2 |
|
usually ships 16-19 days |
6 |
341-0039
|
Screw M8 x 45mm stainless steel |
$0.90
|
4 |
|
ships same day |
7 |
341-0011
|
Washer M8 stainless steel |
$0.90
|
9 |
|
ships same day |
8 |
341-0036
|
Nut M8 lock stainless steel |
$0.90
|
4 |
|
ships same day |
9 |
341-0133
|
Screw M6 x 25mm |
$0.90
|
2 |
|
usually ships 16-19 days |
10 |
341-0013
|
Nut lock stainless steel |
$0.90
|
2 |
|
ships same day |
11 |
341-2027
|
Nut M6 |
Call for price
|
3 |
|
usually ships 16-19 days |
13 |
341-2028
|
Screw M8x80 |
Call for price
|
1 |
|
usually ships 16-19 days |
14 |
341-0036
|
Nut M8 lock stainless steel |
$0.90
|
1 |
|
ships same day |
15 |
341-0055
|
Screw M8 x 55mm stainless steel |
$0.90
|
1 |
|
ships same day |